GM Service Manual Online
For 1990-2009 cars only
Makes
🢒
Chevrolet
🢒
2004
🢒
Chevy C Silverado - 2WD
🢒 Continuous Mode Bus Bar (HP2)
Continuous Mode Bus Bar (HP2)
Continuous Mode Bus Bar (HP2)
Master Electrical Component List
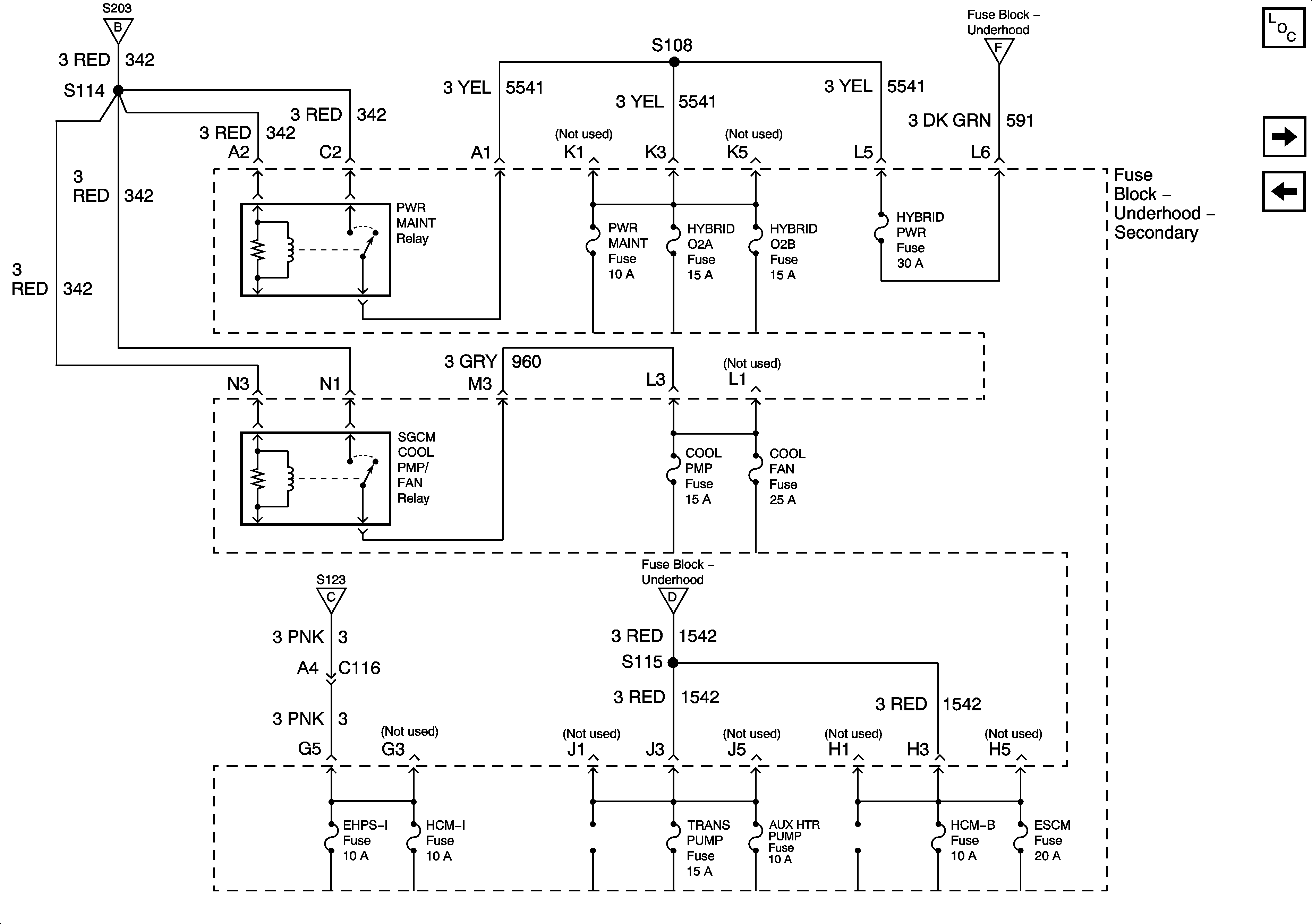
PWR MAINT, HYBRID O2A, and HYBRID O2B Fuses (HP2)
LT TRN and RT TRN Fuses - 2 of 2
Ignition Switch - ACC/RUN and RUN/START Bus Bars
SBA, ETC/ECM, PCM 1, BTSI, and TRL B/U Fuses
Ignition Switch - ACC/RUN and RUN/START Bus Bars
ABS, VSES/ECAS, STUD #1, STUD #2, and TBC BATT Fuses