GM Service Manual Online
For 1990-2009 cars only
Makes
🢒
Chevrolet
🢒
2004
🢒
Chevy C Silverado - 2WD
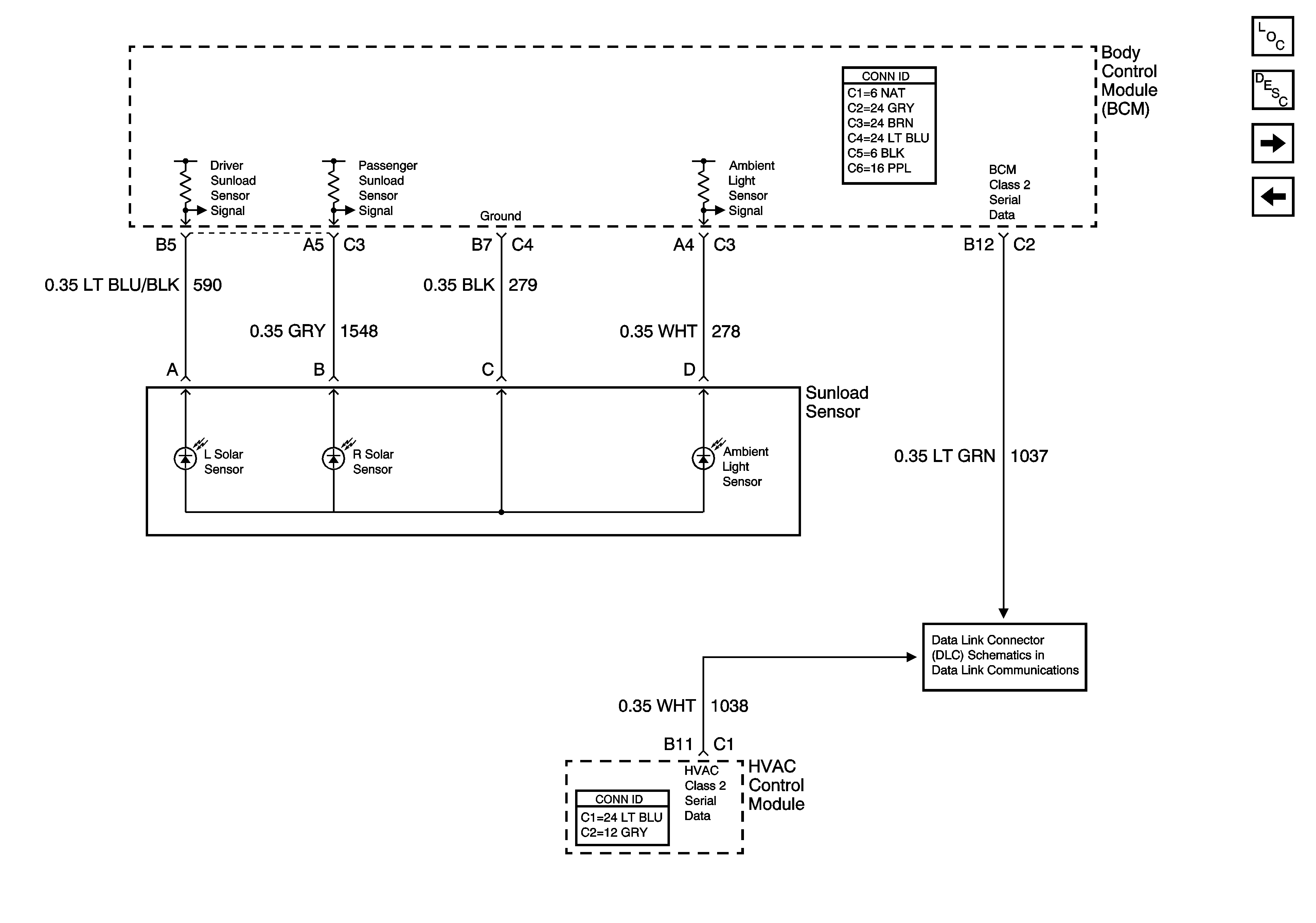
🢒 Sunload Sensor Inputs
Sunload Sensor Inputs
Sunload Sensor Inputs
Master Electrical Component List
Air Temperature Description and Operation
Front Left and Right Temperature Control
Power, Ground, Serial Data, and Front Blower Controls
SP205 - 1 of 2