GM Service Manual Online
For 1990-2009 cars only
Makes
🢒
Chevrolet
🢒
2004
🢒
Chevy C Silverado - 2WD
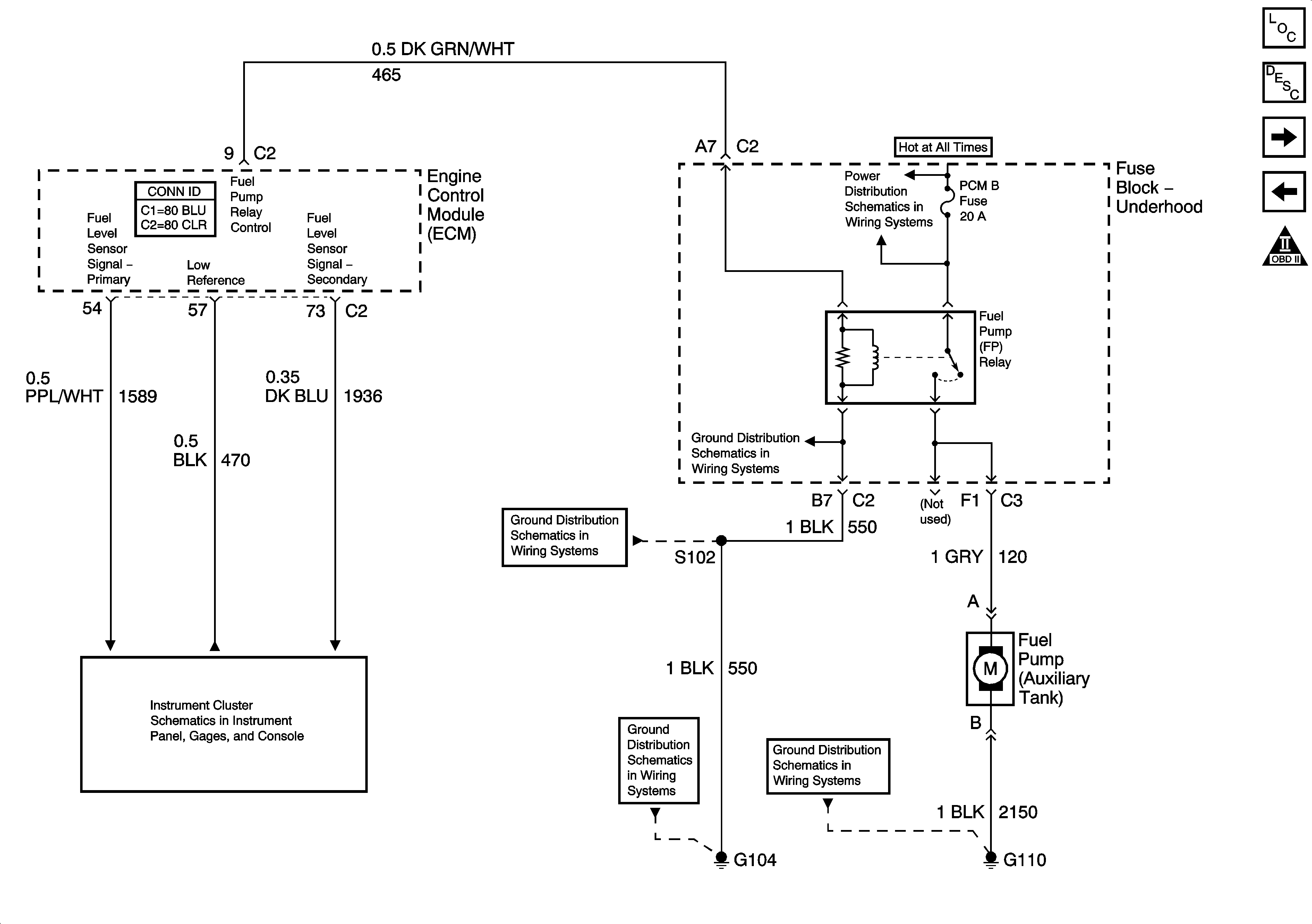
🢒 Fuel Controls - Fuel Pump Controls
Fuel Controls - Fuel Pump Controls
Fuel Controls - Fuel Pump Controls
Master Electrical Component List
Powertrain Control Module Description
Fuel Controls - Fuel Temperature Sensor, Fuel Pressure Sensor and Fuel Heater
Engine Data Sensors - Glow Plug Controls - California Emissions
Engine Controls Schematic Icons
PCM B, ECMRPV, EDU Fuses, F/PMP and EDU/IGN 1 Relays - Diesel Only
G104, G106, and G107
G104, G106, and G107
G104, G106, and G107
G110
Fuel Gage