GM Service Manual Online
For 1990-2009 cars only

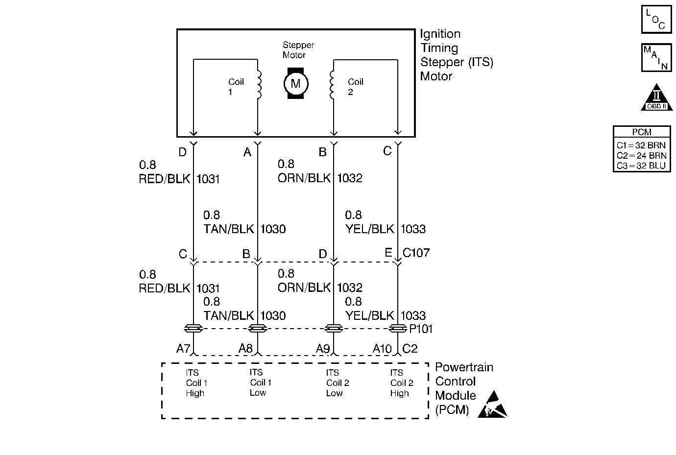
Object Number: 52970  Size: MF
Engine Controls Components
Fuel Temperature Sensor and Ignition Timing Stepper (ITS)Motor
OBD II Symbol Description Notice
Handling ESD Sensitive Parts Notice

Circuit Description

The timing of the combustion event is accomplished by delivering a pulse of fuel into the combustion chamber at a desired degree of cylinder travel. This desired degree (desired timing) defines the current position of the cylinder in relationship of Top Dead Center. This test compares the desired timing to the measured timing when certain conditions have been met. In order to retard the injection timing, the PCM extends the Stepper motor. To advance the injection timing, the PCM retracts the Stepper motor. This is a type B DTC.

Conditions for Setting the DTC

    • The engine speed has not changed more than 56 RPM for 20.8 seconds.
    • A 5 degree difference between the Act. Inj. Time and the Des. Inj. Time

Action Taken When the DTC Sets

Possible combustion noise.

Conditions for Clearing the MIL/DTC

    • The PCM will turn the MIL off after three consecutive trips without a fault condition.
    • A History DTC will clear after forty consecutive warm-up cycles during which the diagnostic does not fail (coolant temperature has risen 5°C (40°F) from start up coolant temperature and engine coolant temperature exceeds 71°C (160°F) that same ignition cycle.
    • Use of a Scan Tool will clear the DTC codes.

Diagnostic Aids

An intermittent may be caused by the following:

    • Poor connections
    • A rubbed through wire insulation
    • A broken wire inside the insulation

A hard start and a possible poor performance condition might exist. The Act. Inj. Time will freeze at the point of the fault. DTC P0216 will possibly set if the injection timing is not set correctly. Refer to Checking/Adjust Injection Timing for the correct procedure.

Test Description

The number(s) below refer to the Step number(s) on the Diagnostic Table.

  1. This Step determines if DTC P0216 is a hard failure or an intermittent.

  2. This Step checks for an open or a short in the injection timing coil circuit 1.

  3. This Step checks for an open or short in the injection timing coil circuit 2.

  4. The important thing in this Step is that the PCM is sending a varying voltage (voltage may vary between 1 and 12 (usually you will see voltage vary between 5 and 6 when engine is idling)), this will indicate that the PCM is OK and that there is a problem with the injection timing Stepper motor. If there is a steady voltage present on any circuit, this will indicate a problem with the PCM or a circuit shorted to voltage.

Step

Action

Value(s)

Yes

No

1

Important: Before clearing the DTCs, use the scan tool Capture Info in order to record the Freeze Frame and the failure records for reference, as the data will be lost when the Clear Info function is used.

Was the Powertrain On-Board Diagnostic (OBD) System Check performed?

--

Go to Step 2

Go to Powertrain On Board Diagnostic (OBD) System Check

2

  1. Idle the engine at the normal operating temperature.
  2. Scan the injection timing at the idle and at 1500 RPM.

Does the scan tool display a difference greater than or equal to the specified value between the Actual Inj. Time and the Desired Inj. Time at the idle or at 2700 RPMs?

Go to Step 4

Go to Step 3

3

The DTC is intermittent. If no additional DTCs are stored, refer to Diagnostic Aids. If any additional DTCs were stored, refer to those table(s) first.

Are there any additional DTCs stored?

--

Go to the applicable DTC Table

Go to Diagnostic Aids

4

  1. Turn the ignition OFF.
  2. Disconnect the PCM.
  3. Measure the resistance between coil 1 low and coil 1 high at the PCM harness.

Is the resistance between the specified value?

10-60 Ohms

Go to Step 5

Go to Step 9

5

Measure the resistance between coil 2 low and coil 2 high at the PCM harness.

Is the resistance between the specified value?

10-60 Ohms

Go to Step 6

Go to Step 10

6

  1. Reconnect the PCM.
  2. Disconnect the Injection Timing Stepper motor.
  3. Start the engine.
  4. Allow the engine to idle at the normal operating temperature.
  5. Use the scan tool in order to command the Time Set ON.
  6. With J 39200 connected to ground, check for a varying voltage on all terminals at the injection timing Stepper motor electrical harness.

Does the voltage vary on all of the circuits?

--

Go to Step 7

Go to Step 12

7

  1. Disconnect the crankshaft position sensor.
  2. Measure, at sensor pigtail, the resistance between the crankshaft position sensor signal and the 5 volt reference circuit.

Is the resistance between the specified value?

950 -1050

Ohms

Go to Step 8

Go to Step 13

8

  1. Reconnect all of the sensors.
  2. Check for one of the following:
  3. • The injection timing is set correctly. Refer to Checking/Adjust Injection Timing .
    • A sheared camshaft driven key. Refer to Engine Mechanical.
  4. If a problem is found, repair as necessary.

Was a repair performed?

--

Go to Step 18

Go to Step 16

9

  1. Turn the ignition OFF.
  2. Disconnect the Stepper motor.
  3. Check for an open or short in one of the following:
  4. • Coil 1 low circuit
    • Coil 1 high circuit
    • If a problem is found, repair it as necessary.

Was a repair performed?

--

Go to Step 18

Go to Step 11

10

  1. Turn the ignition OFF.
  2. Disconnect the Stepper motor.
  3. Check for an open or a short in one of the following:
  4. • Coil 2 low circuit
    • Coil 2 high circuit
    • If a problem is found, repair as necessary.

Was a repair performed?

--

Go to Step 18

Go to Step 11

11

Check for a poor electrical connection at the injection timing Stepper motor.

Did any terminals require a replacement?

--

Go to Step 18

Go to Step 16

12

Check the circuit for a short to ground or a poor connection at the PCM.

Was a repair performed?

--

Go to Step 18

Go to Step 17

13

  1. Check the crankshaft sensor pigtail for a short to ground.
  2. If the circuit is shorted to ground, repair as necessary.

Was a repair performed?

--

Go to Step 18

Go to Step 15

14

Check the circuit for a poor connection and replace the terminal if necessary.

Did the terminal require replacement?

--

Go to Step 18

Go to Step 17

15

Replace the crankshaft position sensor. Refer to Crankshaft Position (CKP) Sensor Replacement .

Is the action complete?

--

Go to Step 18

--

16

Replace the injection pump. Refer to Fuel Injection Pump Replacement .

Important: If the injection pump is malfunctioning, the new injection pump must be timed. Refer to Checking/Adjust Injection Timing .

Is the action complete?

--

Go to Step 18

--

17

Replace the PCM.

Important: If the PCM is malfunctioning, the new PCM must be programmed. Refer to Powertrain Control Module Replacement/Programming .

Is the action complete?

--

Go to Step 18

--

18

  1. Use the Scan Tool in order to select DTC, Clear Info.
  2. Start the engine.
  3. Allow the engine to idle at the normal operating temperature.
  4. Select DTC, Specific, then enter the DTC number which was set.
  5. Operate the vehicle within the conditions for setting this DTC as specified in the supporting text.

Does the Scan Tool indicate that this diagnostic Ran and Passed?

--

Go to Step 19

Go to Step 2

19

Use the Scan Tool in order to select Capture Info, Review Info.

Are there any DTCs displayed that have not been diagnosed?

--

Go to the Applicable DTC Table

System OK