GM Service Manual Online
For 1990-2009 cars only
Makes
🢒
Chevrolet
🢒
2000
🢒
Chevy K Pickup - 4WD
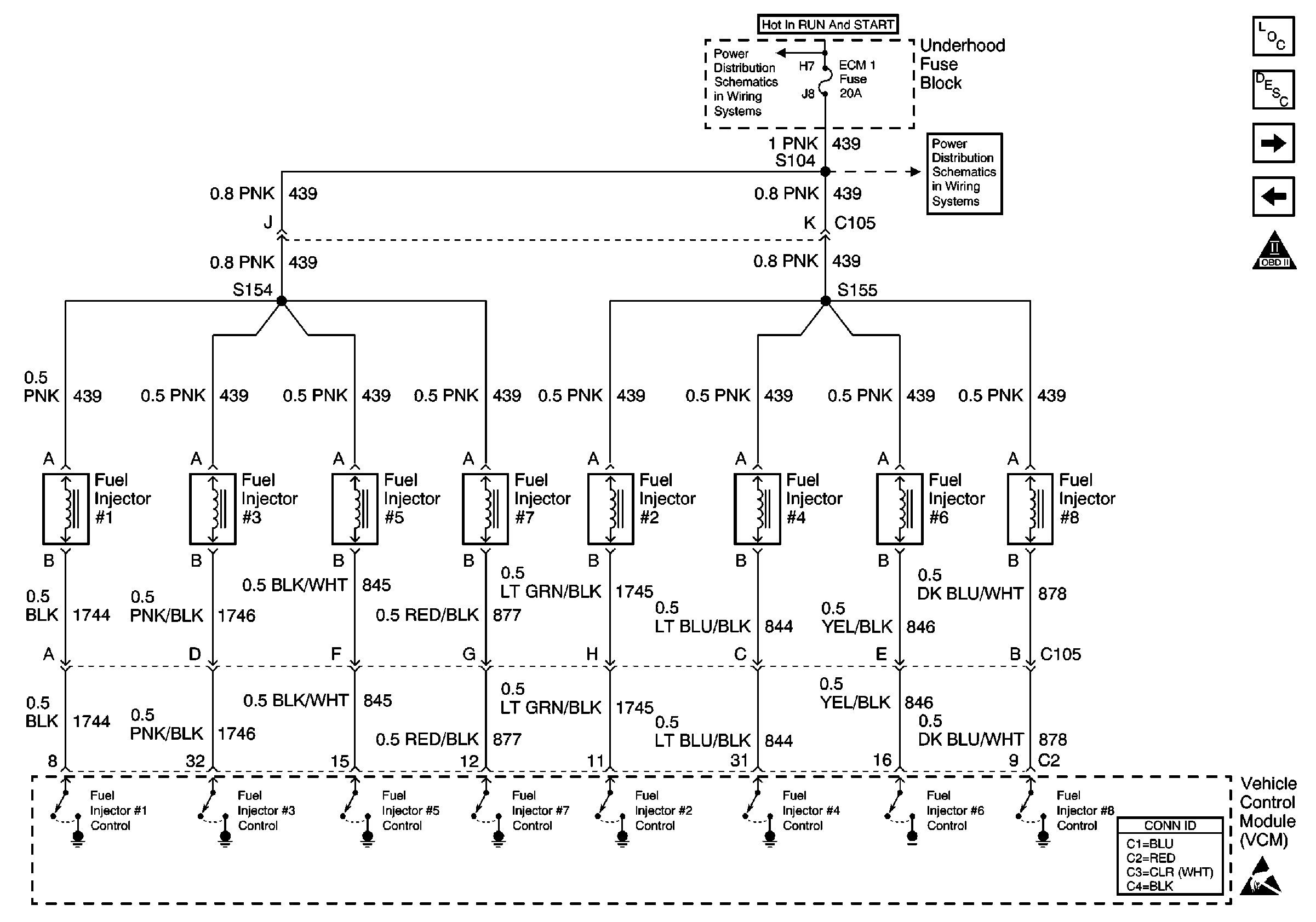
🢒 Fuel Injector Controls
Fuel Injector Controls
Fuel Injector Controls
Engine Controls Components
Fuel Supply Component Description
Engine Data Sensors
EXPORT-Fuel Pump Control, Dual Tanks
OBD II Symbol Description Notice
IGN A Fuse and Ignition Switch
ECM 1 Fuse (7.4L)
Handling ESD Sensitive Parts Notice