GM Service Manual Online
For 1990-2009 cars only
Makes
🢒
Chevrolet
🢒
1998
🢒
Chevy P12 Chassis
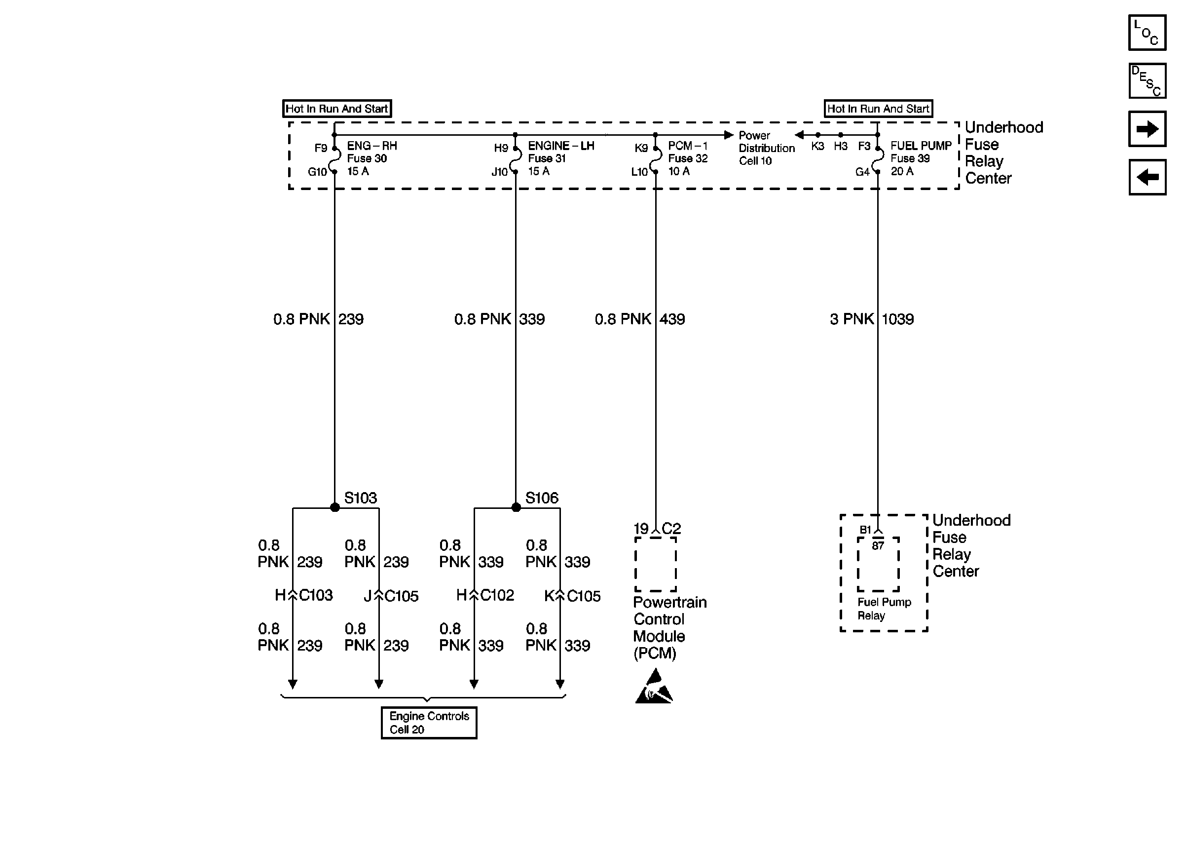
🢒 Cell 11: Eng RH, LH, PCM 1, and Fuel Pump Fuses
Cell 11: Eng RH, LH, PCM 1, and Fuel Pump Fuses
Cell 11: Eng RH, LH, PCM 1, and Fuel Pump Fuses
Power and Grounding Components
Cell 11: Gauges, Turn/Backup, and ETM fuses
Cell 11: Alt/Start, Auto Park 34, and Eng 1 Fuses
Handling Electrostatic Discharge Sensitive Parts Notice
Cell 10: Hot in Run and Start Fuses
Cell 20: Ignition Coils