The EBCM microprocessor will ground the indicated solenoid coil (RF dump/isolation, LF dump/isolation, or Rear dump/isolation) circuit to energize the solenoid coil whenever the solenoid valve is needed. Refer to ABS Braking Mode in ABS Description . The magnetic force created by the solenoid coil will close the isolation valve.
| • | The ABS bulb check is complete |
| • | Low voltage exists on the EBCM solenoid driver circuit when high voltage is expected (the solenoid is not energized) |
| • | The ABS bulb check is complete |
| • | High voltage is present on the EBCM solenoid driver circuit when the voltage is expected to be low (solenoid energized). |
| • | The ABS indicator lamp turns on |
| • | The ABS disables |
DTCs C0241-C0254 are Ignition Latched DTCs, which indicates the above actions remain true until the ignition is turned to OFF (even if the cause of the DTC is intermittent).
| • | Repair the conditions responsible for setting the DTC |
| • | Use the Scan Tool Clear DTCs function |
This DTC usually sets because of an open/shorted solenoid coil within the EBCM. The solenoid coil is located within the BPMV and is not serviceable. If the test does not repair the DTC, then replace the EBCM.
If this DTC sets with other DTCs, check for the following conditions:
| • | A poor EBCM power or signal ground |
| • | A poor EBCM power or ignition feed |
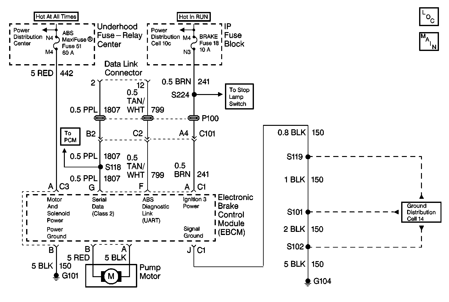
The numbers below refer to the steps in the diagnostic table:
This step determines the resistance of the power ground circuit.
This step determines the battery voltage available to the EBCM.
This step determines the resistance of the signal ground circuit.
This step determines the ignition voltage available to the EBCM.
Step | Action | Value(s) | Yes | No |
|---|---|---|---|---|
1 | Was the Diagnostic System Check performed? | -- | Go to Diagnostic System Check | |
2 |
Is the connector in good condition? | -- | ||
Measure the resistance between terminal B of the 2-way EBCM harness connector and the ground using a J 39200 . Is the resistance measurement within the specified range? | 0-2ohms | |||
Measure the voltage between terminal A of the 2-way EBCM harness connector and the ground using a J 39200 . Is the voltage equal to or greater than the specified value? | 10.0 V | |||
5 | Inspect the 60-amp ABS maxi-fuse. Is the maxi-fuse open? | -- | ||
6 |
Is the connector in good condition? | -- | ||
Measure the resistance between terminal J of the 10-way EBCM harness connector and the ground using a J 39200 . Is the resistance measurement within the specified range? | 0-2ohms | |||
Is the voltage equal to or greater than the specified value? | 10.0 V | |||
9 | Inspect the 10-amp BRAKE fuse. Is the fuse open? | -- | ||
10 |
Does the DTC set as a current DTC? | -- | Malfunction is intermittent. Refer to Diagnostic Aids | |
11 | Repair the 2-way EBCM harness connector. Is the repair complete? | -- | Go to Diagnostic System Check | -- |
12 | Repair the open or the high resistance in the CKT 150. Is the repair complete? | -- | Go to Diagnostic System Check | -- |
13 | Repair the short to ground in the CKT 442. Is the repair complete? | -- | Go to Diagnostic System Check | -- |
14 | Repair the open or the high resistance in the CKT 442. Is the repair complete? | -- | Go to Diagnostic System Check | -- |
15 | Repair the 10-way EBCM harness connector. Is the repair complete? | Go to Diagnostic System Check | -- | |
16 | Repair the open or the high resistance in the CKT 150. Is the repair complete? | Go to Diagnostic System Check | -- | |
17 | Repair the short to ground in the CKT 241. Is the repair complete? | Go to Diagnostic System Check | -- | |
18 | Repair the open or the high resistance in the CKT 241. Is the repair complete? | Go to Diagnostic System Check | -- | |
19 | Replace the EBCM. Is the repair complete? | Go to Diagnostic System Check | -- |