GM Service Manual Online
For 1990-2009 cars only
Makes
🢒
Chevrolet
🢒
1998
🢒
Chevy P32 RV/Van Chassis
🢒
Body and Accessories
🢒
Instrument Panel, Gauges, and Console
🢒 Audible Warnings Schematics
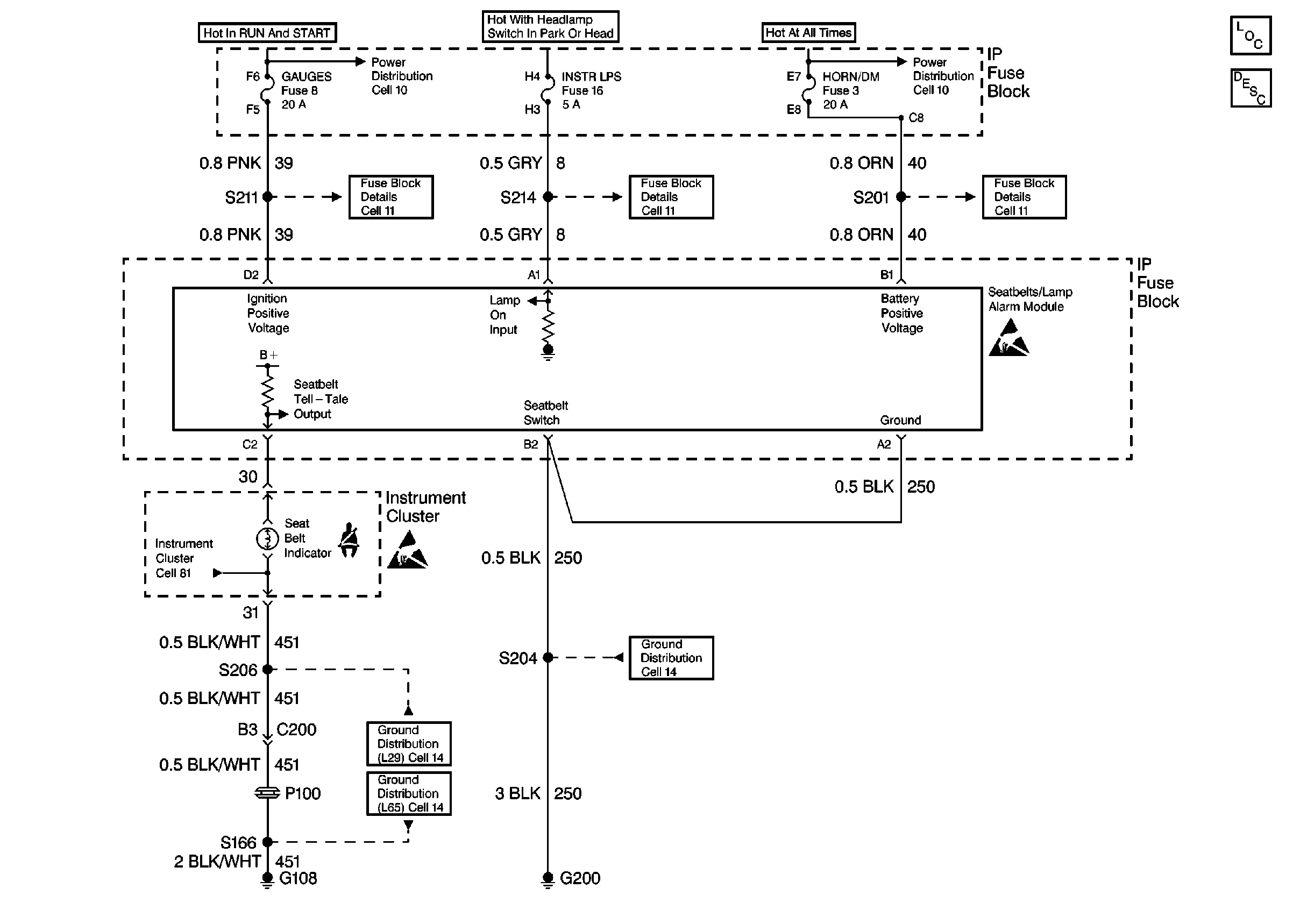
Audible Warnings Schematics P42
Cell 76
Audible Warnings Components P42
Audible Warnings Circuit Description
Cell 10: Ignition Switch and Fuse Block
Cell 10: Fuse Block
Cell 11: GAUGES and TRANS fuses
Cell 11: WIPER, ACC-RADIO, CRANK, AUTO APPLY, and INSTR LPS fuses
Cell 11: STOP-HAZ, TAIL LPS, and HORN DM fuses
Handling ESD Sensitive Parts Notice
Handling ESD Sensitive Parts Notice
Cell 14: G108 [L29]
Cell 14: G108 [L65]
Cell 14: G200
Audible Warnings Schematics P32
Cell 76
Audible Warnings Components P42
Audible Warnings Circuit Description
Cell 10: Ignition Switch and Fuse Block
Cell 10: Fuse Block and Headlamp Switch
Cell 11: GAUGES fuse
Cell 11: INSTR LPS, TRANS, and ENG-I fuses
Cell 11: STOP-HAZ, TAIL LPS, and HORN/DM fuses, PWR CKT BRKR 2
Handling ESD Sensitive Parts Notice
Cell 81(2 of 4)
Cell 14: G200