GM Service Manual Online
For 1990-2009 cars only

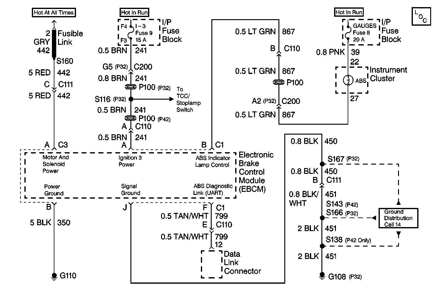
Object Number: 191458  Size: MF
ABS Components
Antilock Brake System Schematics

System Description

The diagnostic system check is an organized approach to identifying an Antilock Brake System (ABS) malfunction. The diagnostic system check must be the starting point for any ABS complaint diagnosis. The diagnostic system check directs the service technician to the next logical step in diagnosing the complaint.

Diagnostic serial data is transmitted/received by the EBCM 10-way terminal F. The EBCM is supplied switched ignition voltage through the EBCM 10-way terminal A, and signal ground is provided through the EBCM 10-way terminal J.

Diagnostic Aids

Excessive resistance in the signal ground or ignition power circuit will not allow communication with the EBCM. If communication with the EBCM is not possible, ensure that the ABS signal ground connection is good and that there is no excessive resistance in the ignition power circuit.

Test Description

The numbers below refer to the steps in the diagnostic table:

  1. This step checks for normal ABS indicator lamp operation.

  2. This step checks for ignition voltage at the EBCM.

  3. This step checks for high resistance in the ground circuit.

  4. This step checks for high resistance in the ignition voltage circuit.

  5. This step checks for a short to ground in the ignition voltage circuit.

Step

Action

Value(s)

Yes

No

1

  1. Verify that all of the EBCM connectors are connected properly.
  2. Install the Scan Tool .
  3. Turn the ignition to RUN.
  4. Attempt to communicate with the EBCM using the Scan Tool .

Is data being received from the EBCM?

--

Go to Step  2

Go to Step  4

2

Using the Scan Tool , check for any DTCs.

Are any current or history DTCs displayed?

--

Go to Appropriate DTC Table

Go to Step  3

3

  1. Turn the ignition to OFF for 10 seconds.
  2. Turn the ignition to RUN and observe the ABS indicator lamp.

Did the ABS indicator lamp turn on for three seconds and then turn off?

--

System is operating normally. Go to Diagnostic Aids.

Go to Step  11

4

  1. Turn the ignition to OFF.
  2. Disconnect the 10-way EBCM harness connector.
  3. Turn the ignition to RUN.
  4. Measure the voltage between the 10-way EBCM harness connector terminal A and ground using the J 39200 .

Is the voltage measured within the specified range?

10-15V

Go to Step  5

Go to Step  9

5

  1. Turn the ignition to OFF.
  2. Caution: Unless directed otherwise, the ignition and start switch must be in the OFF or LOCK position, and all electrical loads must be OFF before servicing any electrical component. Disconnect the negative battery cable to prevent an electrical spark should a tool or equipment come in contact with an exposed electrical terminal. Failure to follow these precautions may result in personal injury and/or damage to the vehicle or its components.

  3. Disconnect the negative battery cable.
  4. Using the J 39200 , measure the resistance between the 10-way EBCM harness connector terminal J and the negative battery terminal.

Is the resistance measured within the specified range?

0-2ohms

Go to Step  6

Go to Step  12

6

  1. Inspect the EBCM terminals and the EBCM harness connector terminals for poor terminal contact.
  2. Inspect the battery terminals and the battery cable terminals for poor connection. Refer to Checking Terminal Contact in Electrical Diagnosis.

Is the terminal contact or the connection poor?

--

Go to Step  7

Go to Step  8

7

Replace the terminals or repair the poor connection.

Is the repair complete?

--

Go to Step  1

--

8

Reconnect the EBCM connectors and the battery cables.

Are the EBCM connectors and the battery cables reconnected?

--

Go to Wiring Systems (Cell 50) for serial data circuit diagnosis

--

9

  1. Disconnect the positive battery cable.
  2. Turn the ignition to RUN. (This is to provide circuit continuity.)
  3. Using the J 39200 , measure the resistance between the 10-way EBCM connector terminal A and the positive battery cable.

Is the resistance measured within the specified range?

0-2ohms

Go to Step  10

Go to Step  13

10

  1. Turn the ignition to OFF.
  2. Remove Fuse I-3.
  3. Using the J 39200 , measure the resistance between the 10-way EBCM connector terminal A and ground.

Is the resistance measurement equal to the specified value?

OL

Go to Step  15

Go to Step  14

11

Observe the ABS indicator lamp.

Does the ABS indicator lamp stay on?

--

Go to ABS Indicator Always On

Go to ABS Indicator Inoperative

12

Repair open or high resistance in CKT 451.

Is the repair complete?

--

Go to Step  1

--

13

  1. Repair open or high resistance in CKT 241.
  2. Check for an open in Fuse I-3.

Is the repair complete?

--

Go to Step  1

--

14

  1. Repair short to ground in CKT 241.
  2. Check for an open in Fuse I-3.

Is the repair complete?

--

Go to Step  1

--

15

Inspect CKT 241 and the 10-way EBCM harness connector for physical damage which may result in a short to ground with the 10-way EBCM harness connector connected to the EBCM.

Is there evidence of damage?

--

Go to Step  16

Go to Step  17

16

Repair the terminals which are damaged.

Is the repair complete?

--

Go to Step  1

--

17

  1. Replace the EBCM.
  2. Check for an open in Fuse I-3.

Is the repair complete?

--

Go to Step  1

--