GM Service Manual Online
For 1990-2009 cars only
Makes
🢒
Chevrolet
🢒
1998
🢒
Chevy P42 Commercial Chassis
🢒 Cell 91
Cell 91
Cell 91
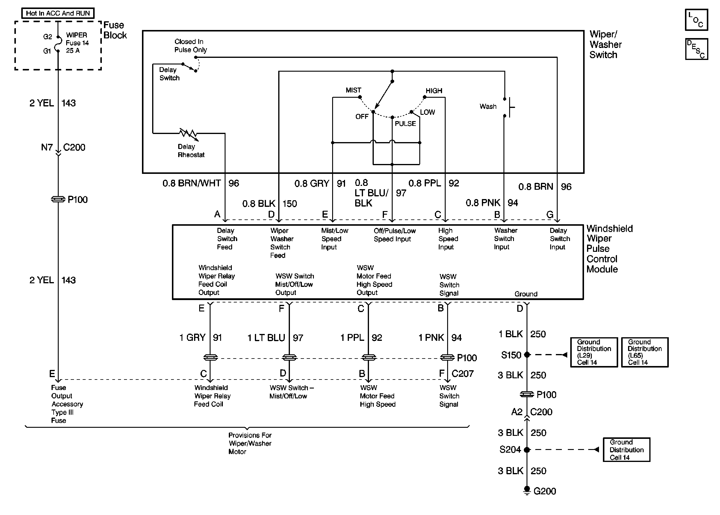
Wiper/Washer System Components
Wiper/Washer System Circuit Description P32
Cell 14: S150 and S101 [L29]
Cell 14: S150 and S101 [L65]
Cell 14: G200