GM Service Manual Online
For 1990-2009 cars only
Makes
🢒
Chevrolet
🢒
1998
🢒
Chevy P42 Commercial Chassis
🢒 Cell 76
Cell 76
Cell 76
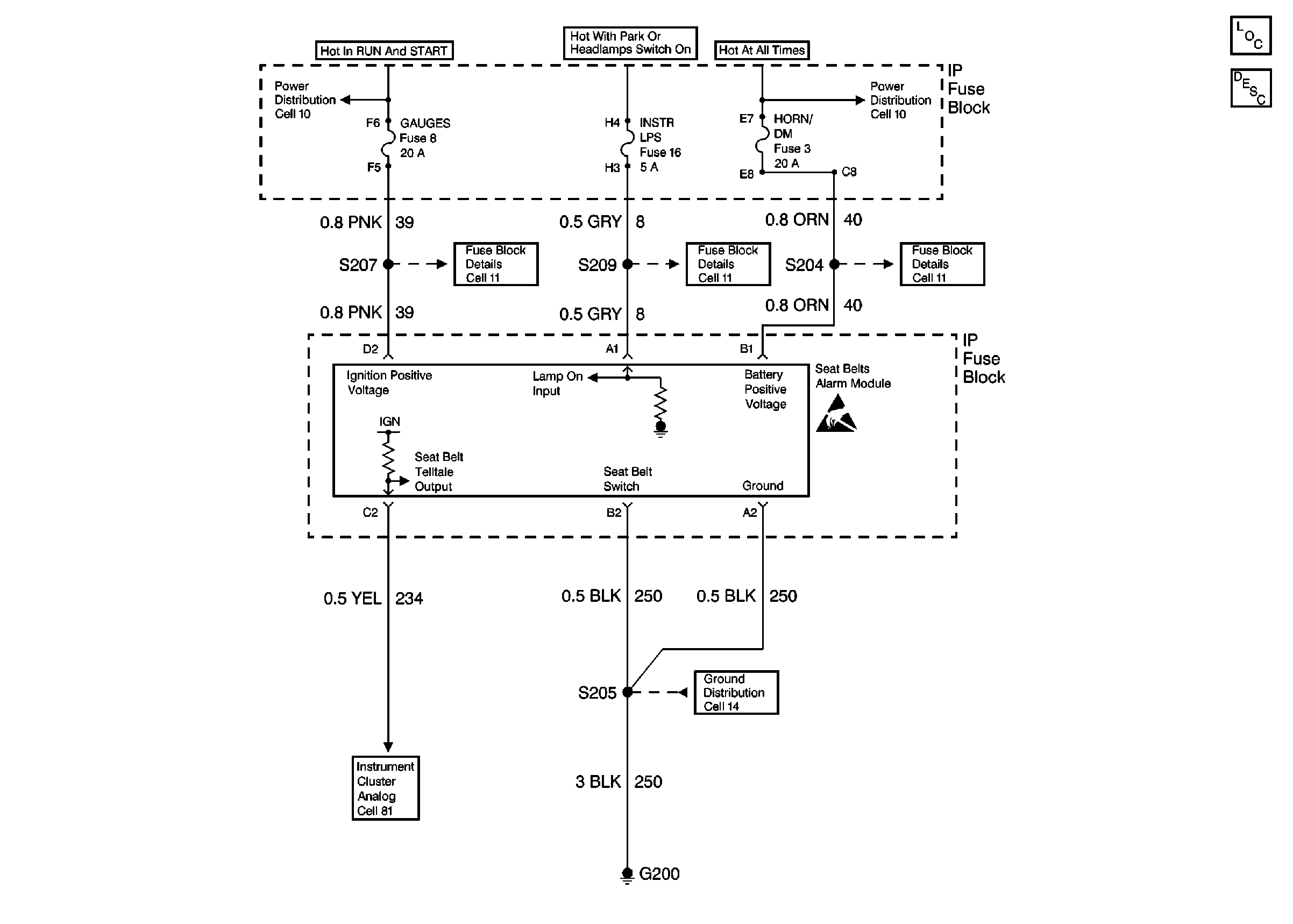
Audible Warnings Components P42
Audible Warnings Circuit Description
Cell 10: Ignition Switch and Fuse Block
Cell 10: Fuse Block and Headlamp Switch
Cell 11: Gauges fuse
Cell 11: INSTR LPS, TRANS, and ENG-I fuses
Cell 11: STOP-HAZ, TAIL LPS, and HORN/DM fuses, PWR CKT BRKR 2
Handling ESD Sensitive Parts Notice
Cell 81: Indicators and Illumination Lamps
Cell 14: G200