GM Service Manual Online
For 1990-2009 cars only
Makes
🢒
Chevrolet
🢒
1998
🢒
Chevy P42 Commercial Chassis
🢒 Cell 22:A/T Controls 1 - Power and Grounding, DLC
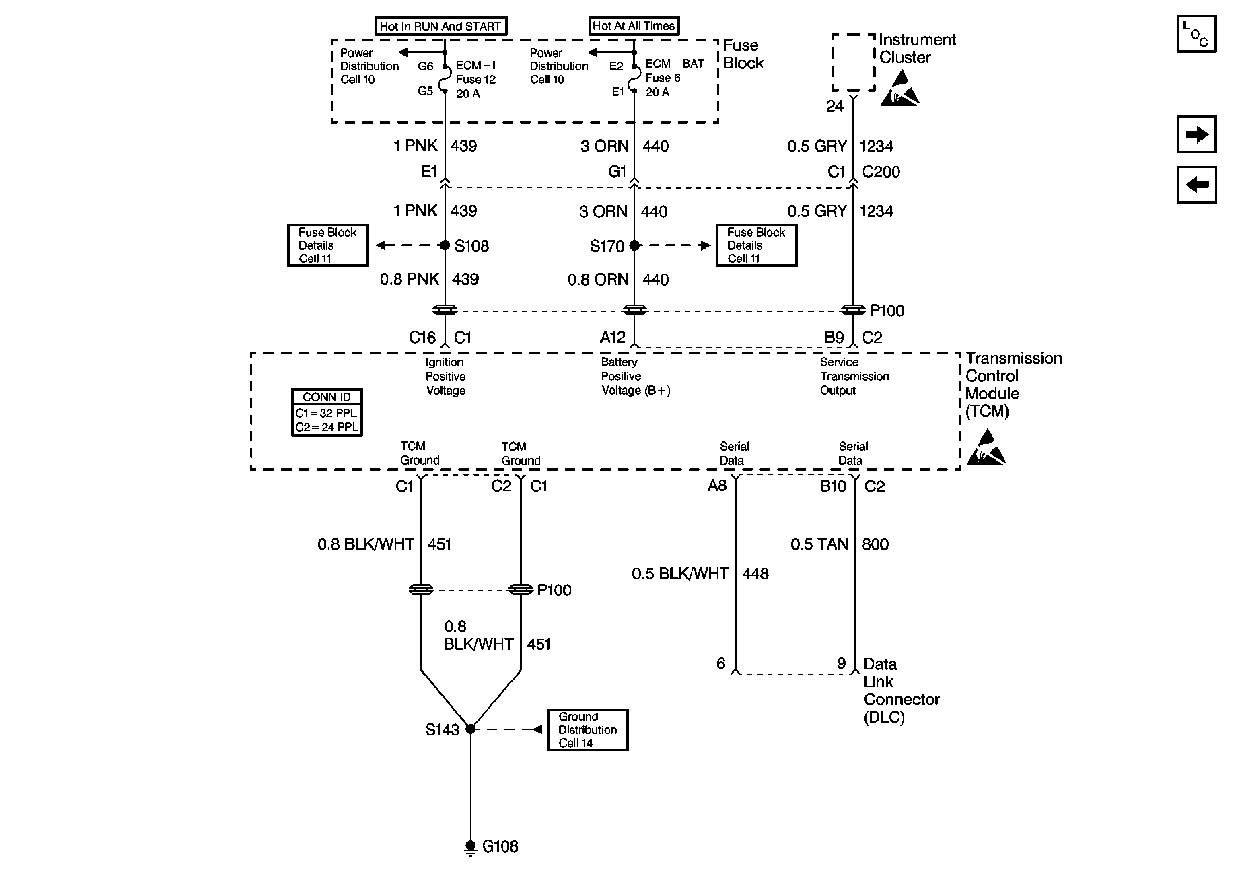
Cell 22:A/T Controls 1 - Power and Grounding, DLC
Cell 22:A/T Controls 1 -- Power and Grounding, DLC
Engine Controls Components L57 MFI
Cell 22: A/T Controls 2 - Transmission Data Sensors
Cell 22: VSS Circuit
Cell 11: ECM-I fuse [L57]
Cell 22: Fuel Controls 1 - Fuel Pump Control
Handling ESD Sensitive Parts Notice
Handling ESD Sensitive Parts Notice
Cell 14: G108 [L57]