GM Service Manual Online
For 1990-2009 cars only
Makes
🢒
Chevrolet
🢒
1998
🢒
Chevy P42 Commercial Chassis
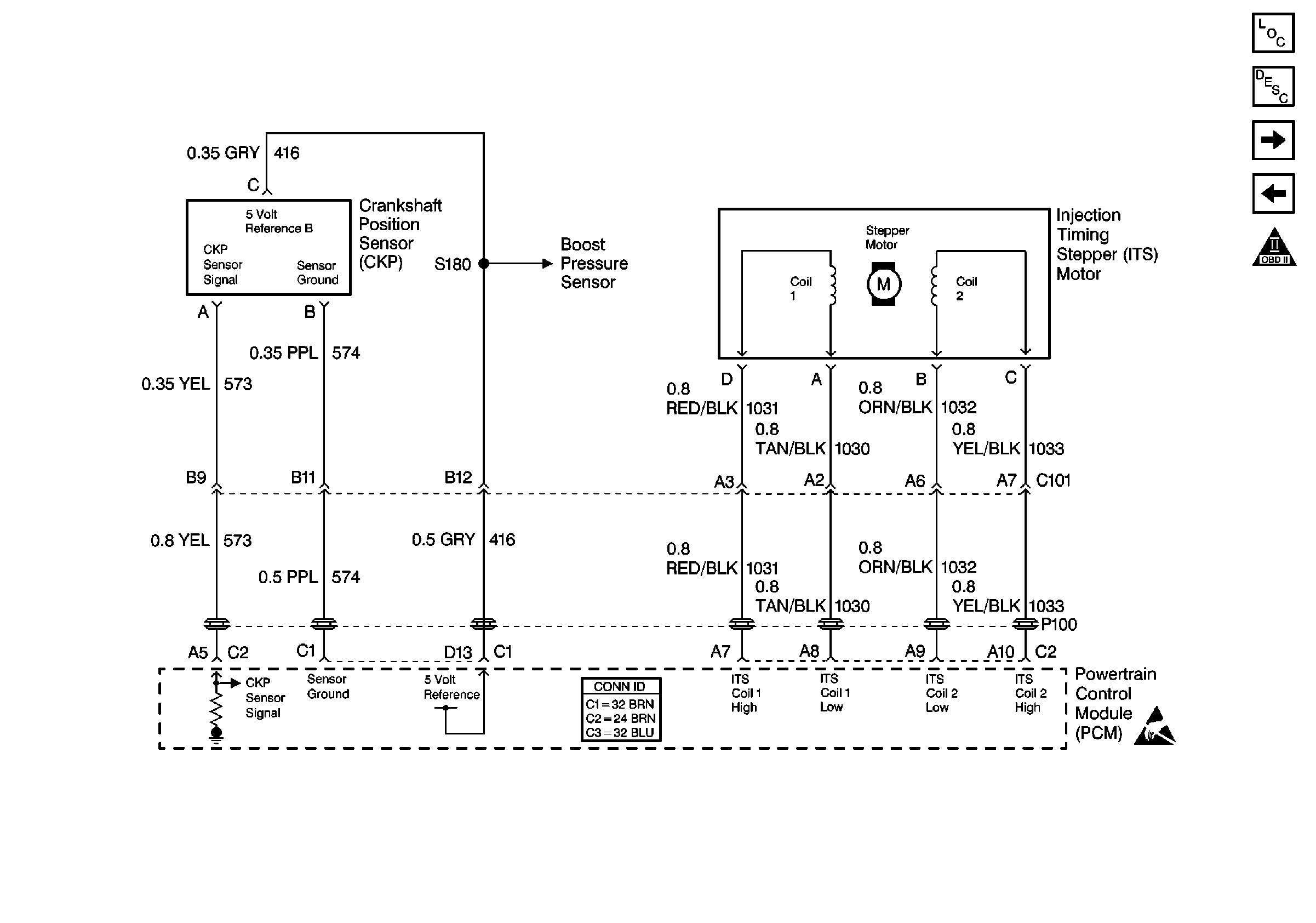
🢒 Cell 22: CKP and Injection Timing Stepper Motor
Cell 22: CKP and Injection Timing Stepper Motor
Cell 22: CKP and Injection Timing Stepper Motor
Engine Controls Components
Information Sensors/Switches Description
Cell 22: Fuel Pump Controls
Cell 22: Glowplug Controls 3 - Export
OBD II Symbol Description Notice
Cell 22: Engine Data Sensors and Wastegate Solenoid
Handling ESD Sensitive Parts Notice