GM Service Manual Online
For 1990-2009 cars only
Makes
🢒
Chevrolet
🢒
1998
🢒
Chevy P42 Commercial Chassis
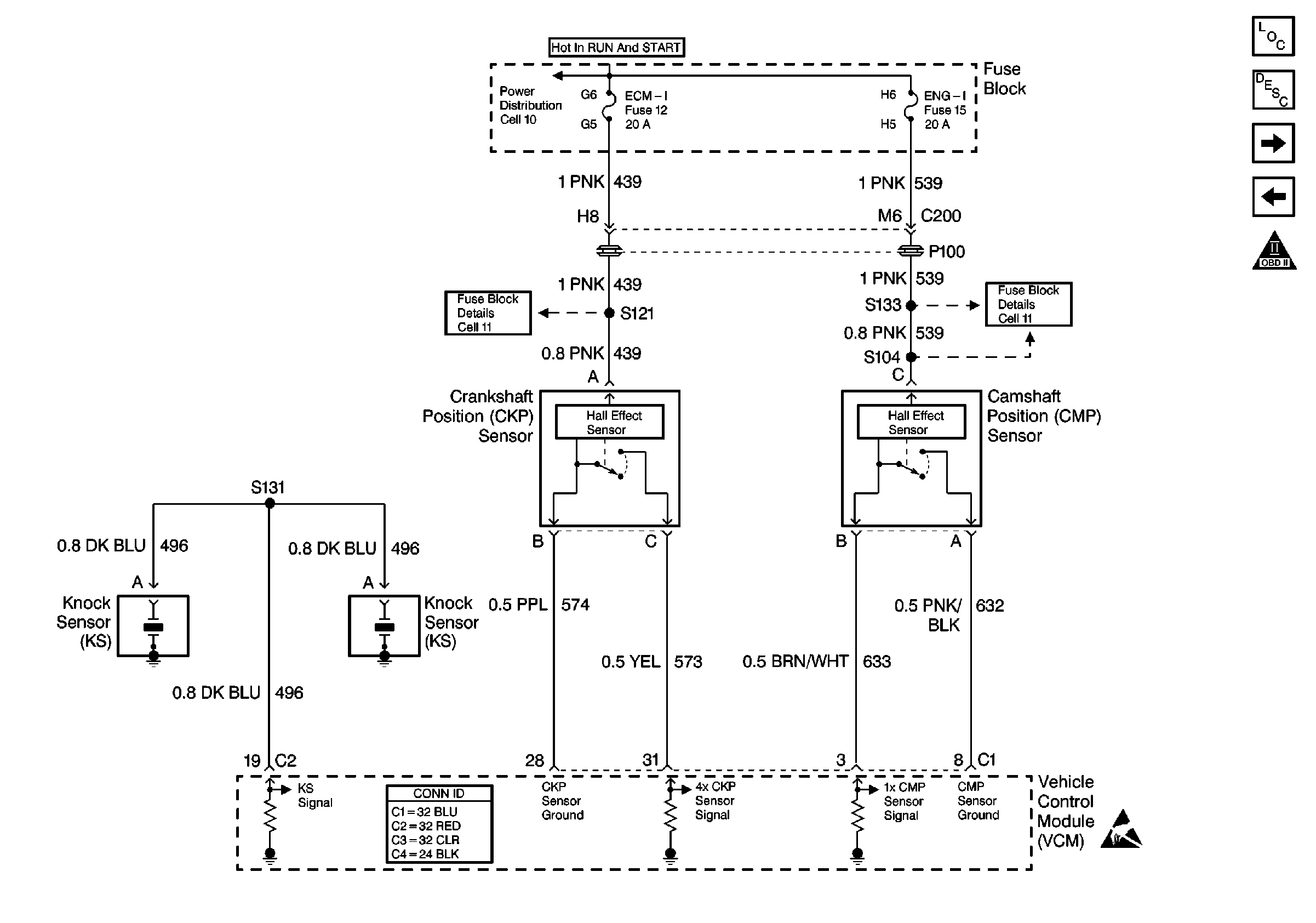
🢒 Cell 21: Ignition Controls 2 - KS, CKP, CMP
Cell 21: Ignition Controls 2 - KS, CKP, CMP
Cell 21: Ignition Controls 2 -- KS, CKP, CMP
Engine Controls Components
Enhanced Ignition System Description
Cell 21: Fuel Controls 1 - Fuel Pump Module, Relay, and Gauge
Cell 21: Ignition Controls 1 - ICM, Coil, and Tachometer
OBD II Symbol Description Notice
Cell 11: ECM-I fuse [L29]
Cell 10: Ignition Switch and Fuse Block
Cell 11: ENG-I fuse
Handling ESD Sensitive Parts Notice