GM Service Manual Online
For 1990-2009 cars only
Makes
🢒
Chevrolet
🢒
1998
🢒
Chevy P42 Commercial Chassis
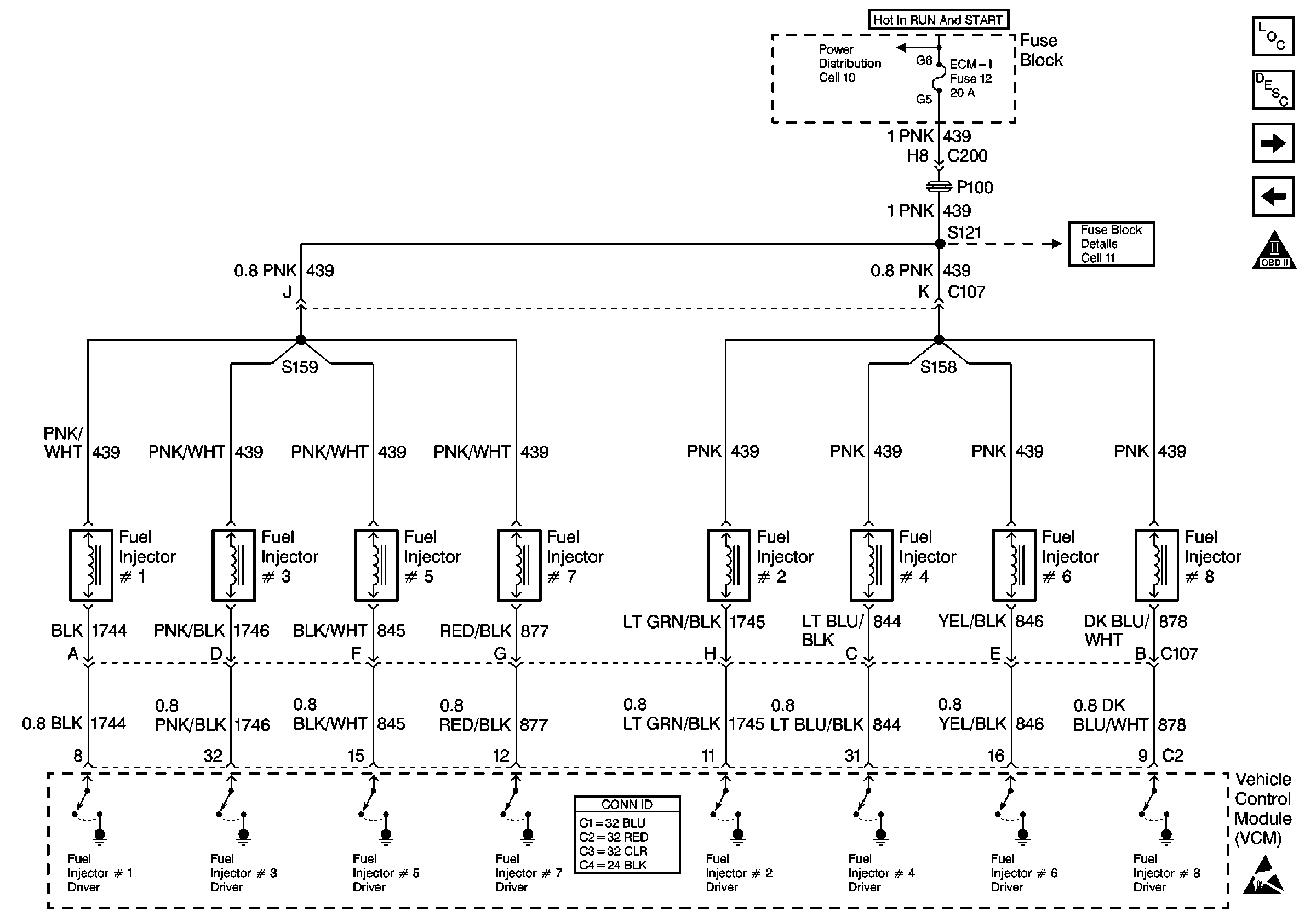
🢒 Cell 21: Fuel Controls 2 - Fuel Injectors
Cell 21: Fuel Controls 2 - Fuel Injectors
Cell 21: Fuel Controls 2 -- Fuel Injectors
Engine Controls Components
Fuel Supply Component Description
Cell 21: Engine Data Sensors 1- MAP, IAT, TP Sensor, and ECT
Cell 21: Fuel Controls 1 - Fuel Pump Module, Relay, and Gauge
OBD II Symbol Description Notice
Cell 10: Ignition Switch and Fuse Block
Cell 11: ECM-I fuse [L29]
Handling ESD Sensitive Parts Notice