GM Service Manual Online
For 1990-2009 cars only
Makes
🢒
Chevrolet
🢒
1998
🢒
Chevy P42 Commercial Chassis
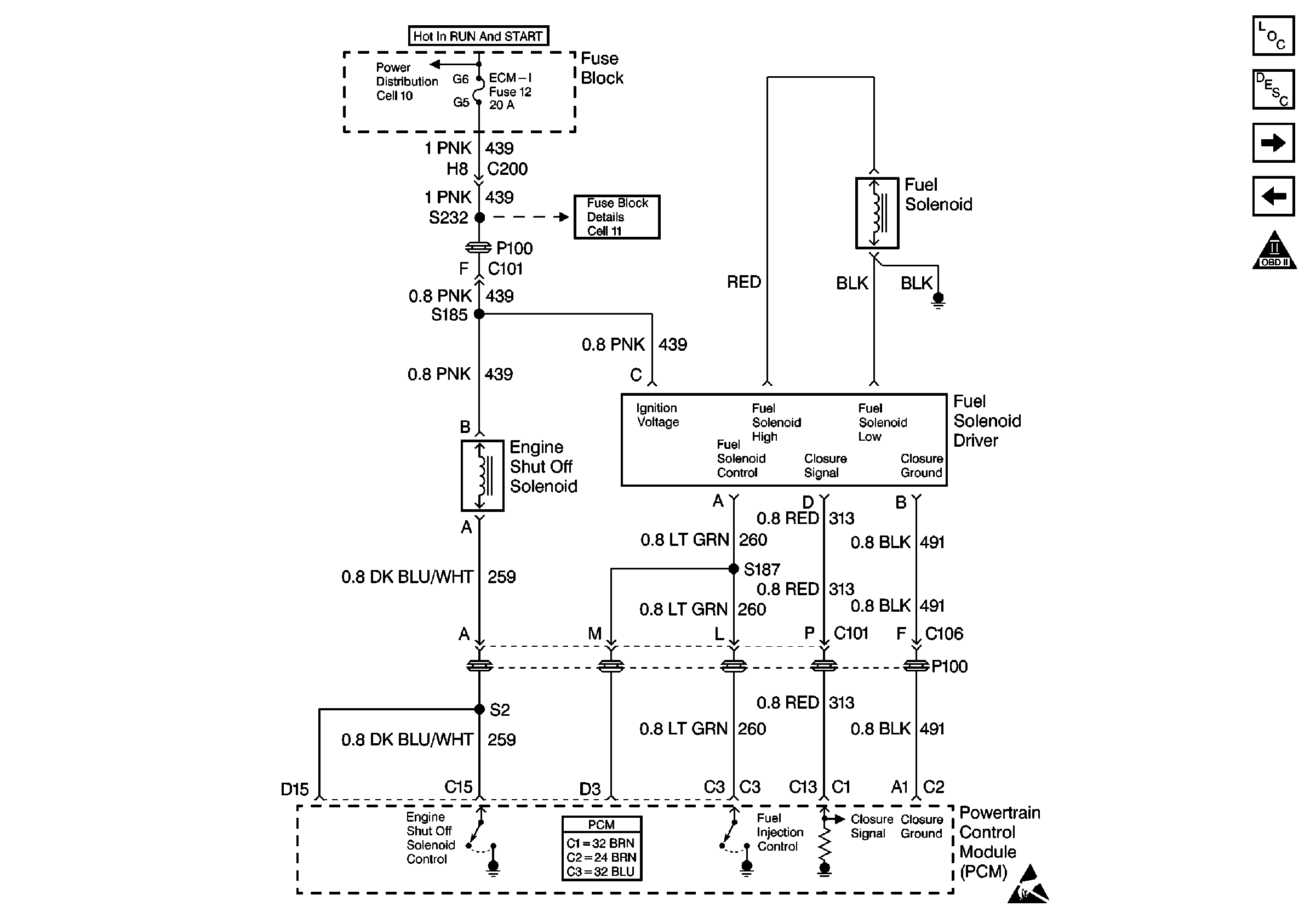
🢒 Cell 22: Engine Shutoff Solenoid, Fuel Solenoid Driver
Cell 22: Engine Shutoff Solenoid, Fuel Solenoid Driver
Cell 22: Engine Shutoff Solenoid, Fuel Solenoid Driver
Engine Controls Components
Fuel System Description
Cell 22: Engine Data Sensors and Wastegate Solenoid
Cell 22: Water in Fuel Circuit, Fuel Heater and Temperature Sensor
OBD II Symbol Description Notice
Cell 10: Ignition Switch and Fuse Block
P32 Cell 11: 03
Handling ESD Sensitive Parts Notice