GM Service Manual Online
For 1990-2009 cars only

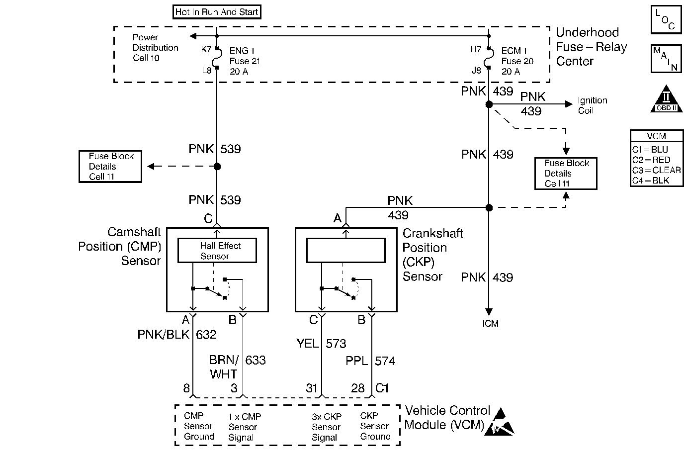
Object Number: 33695  Size: MF
Ignition System
Handling ESD Sensitive Parts Notice
Engine Controls Components
OBD II Symbol Description Notice

Circuit Description

This diagnostic trouble code (DTC) monitors the crankshaft position (CKP) and the camshaft position (CMP) signals to determine if they are synchronized. If both signals are not observed by the control module within a narrow time window, the vehicle control module (VCM) will determine that an error has occurred.

Conditions for Running the DTC

The engine is running

Conditions for Setting the DTC

When the engine is running, the cam sensor reference pulse is not detected at the correct position relative to the crankshaft position sensor pulse.

Action Taken When the DTC Sets

    • The control module illuminates the malfunction indicator lamp (MIL) the first time the diagnostic runs and fails.
    • The control module will set the DTC and records the operating conditions at the time the diagnostic fails. The control module stores the failure information in the scan tools Freeze Frame/Failure Records.

Conditions for Clearing the MIL or DTC

    • The control module turns OFF the MIL after 3 consecutive drive trips when the test has run and passed.
    • A history DTC will clear if no fault conditions have been detected for 40 warm-up cycles. A warm-up cycle occurs when the coolant temperature has risen 22°C (40°F) from the startup coolant temperature and the engine coolant reaches a temperature that is more than 70°C (158°F) during the same ignition cycle.
    • Use a scan tool in order to clear the DTCs.

Diagnostic Aids

Check the following items:

    • A loose CMP sensor causing a variance in the sensor signal
    • Excessive free play in the timing chain and gear assembly
    • Incorrectly installed distributor - 1 tooth off in either advance or retard positions
    • A loose distributor rotor on the distributor shaft
    • A loose or missing distributor hold down bolt

An intermittent may be caused by any of the following conditions:

    • A poor connection
    • Rubbed through wire insulation
    • A broken wire inside the insulation

Thoroughly check any circuitry that is suspected of causing the intermittent complaint. Refer to Intermittents and Poor Connections Diagnosis in Wiring Systems.

If a repair is necessary, refer to Wiring Repairs or Connector Repairs in Wiring Systems.

Test Description

The numbers below refer to the step numbers on the table.

  1. This test will determine if this DTC is intermittent.

  2. If there is a variance in the camshaft sensor signal it will be detected in this step.

  3. Unintentional damage to the distributor shaft may result if excessive pressure is used to rotate the distributor.

Step

Action

Value(s)

Yes

No

1

Important: Before clearing the DTCs, use the scan tool Capture Info to save the Freeze Frame and Failure Records for reference. The control module's data is deleted once the Clear Info function is used.

Did you perform the Powertrain On-Board Diagnostic (OBD) System Check?

--

Go to Step 2

Go to Powertrain On Board Diagnostic (OBD) System Check

2

  1. Install the scan tool.
  2. Start the engine.
  3. Monitor the engine speed with a scan tool.

Does the engine speed fluctuate (up to twice the desired RPM)?

--

Go to Step 3

Go to Step 4

3

Replace the Crankshaft Position Sensor. Refer to Crankshaft Position Sensor Replacement .

Is the action complete?

--

Go to Step 9

--

4

Perform the Camshaft Retard Offset test procedure as follows:

  1. Install the scan tool.
  2. Start the engine.
  3. Important: The camshaft retard reading is not accurate below 1000 RPM.

  4. Raise the engine speed to the first specified value.
  5. Monitor the camshaft retard with the scan tool.

Is the camshaft retard reading within the second specified value?

1000 RPM

-5° to -17°

Go to Step 5

Go to Step 6

5

  1. Note the camshaft retard reading from the previous step.
  2. Raise the engine speed to the first specified value.

Does the camshaft retard reading change more than the second specified value?

2000 RPM

Go to Step 6

Go to Diagnostic Aids

6

With the engine at operating temperature and the engine OFF perform the following procedure:

  1. Remove the distributor cap.
  2. Grasp the distributor rotor and gently attempt to rotate the rotor.

Does the rotor turn on the distributor shaft?

--

Go to Step 8

Go to Step 7

7

  1. Check for proper installation of the distributor. Refer to Distributor Installation in Engine Mechanical.
  2. Repair as necessary.

Did you find a problem?

--

Go to Step 9

Go to Diagnostic Aids

8

Replace the distributor. Refer to Distributor Replacement in Engine Electrical.

Is the action complete?

--

Go to Step 9

--

9

  1. Using the scan tool, clear the DTCs.
  2. Start the engine.
  3. Allow the engine to idle until the engine reaches normal operating temperature.
  4. Select DTC and the Specific DTC function.
  5. Enter the DTC number which was set.
  6. Operate the vehicle, with the Conditions for Setting this DTC, until the scan tool indicates the diagnostic Ran.

Does the scan tool indicate the diagnostic Passed?

--

Go to Step 10

Go to Step 2

10

Does the scan tool display any additional undiagnosed DTCs?

--

Go to the applicable DTC table

System OK