GM Service Manual Online
For 1990-2009 cars only

Dimmer Switch Assembly - Assemble - Off Vehicle Column Shift

Tools Required
J 41352 Modular Column Holding Fixture


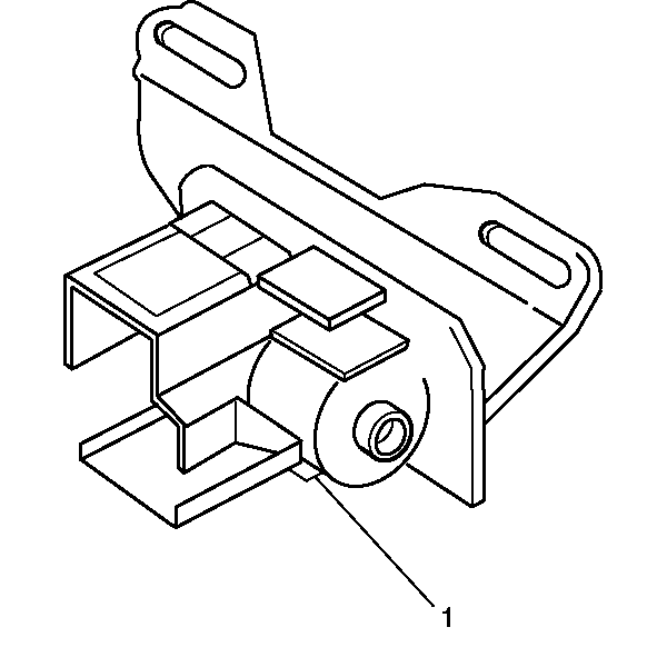
    Object Number: 367816  Size: SH

    Notice: Use the correct fastener in the correct location. Replacement fasteners must be the correct part number for that application. Fasteners requiring replacement or fasteners requiring the use of thread locking compound or sealant are identified in the service procedure. Do not use paints, lubricants, or corrosion inhibitors on fasteners or fastener joint surfaces unless specified. These coatings affect fastener torque and joint clamping force and may damage the fastener. Use the correct tightening sequence and specifications when installing fasteners in order to avoid damage to parts and systems.

  1. Install the dimmer and ignition switch mounting stud (1).
  2. Tighten
    Tighten the dimmer and ignition switch mounting stud (1) to 4 N·m (35 lb in).

  3. Install the dimmer switch assembly (3) onto the ignition and dimmer switch mounting stud (1).
  4. Install the end of the dimmer switch actuator rod into the dimmer switch assembly (3).
  5. Install the hexagon nut (2).
  6. Tighten the hexagon nut (2) finger tight.
  7. Install the washer head screw (4).
  8. Tighten the washer head screw (4) finger tight.

  9. Object Number: 358700  Size: SH
  10. Install a 3/32 inch drill bit into the hole (1) on the dimmer switch assembly to limit travel.
  11. Position the dimmer switch assembly onto the column and push it against the dimmer switch actuator rod to remove all the lash.

  12. Object Number: 367816  Size: SH
  13. Secure the washer head screw (4) into the dimmer switch assembly (3).
  14. Tighten
    Tighten the washer head screw to 4 N·m (35 lb in).

  15. Secure the hexagon nut (2) onto the dimmer and ignition switch mounting stud (1).
  16. Tighten
    Tighten the hexagon nut to 4 N·m (35 lb in).

  17. Remove the 3/32 inch drill bit from the dimmer switch assembly (3).
  18. Install the ignition switch assembly. Refer to Ignition Switch Assembly - Assemble - Off Vehicle .
  19. Remove the steering column and J 41352 from the vise.

Dimmer Switch Assembly - Assemble - Off Vehicle Floor Shift

Tools Required
J 41352 Modular Column Holding Fixture


    Object Number: 367816  Size: SH

    Notice: Use the correct fastener in the correct location. Replacement fasteners must be the correct part number for that application. Fasteners requiring replacement or fasteners requiring the use of thread locking compound or sealant are identified in the service procedure. Do not use paints, lubricants, or corrosion inhibitors on fasteners or fastener joint surfaces unless specified. These coatings affect fastener torque and joint clamping force and may damage the fastener. Use the correct tightening sequence and specifications when installing fasteners in order to avoid damage to parts and systems.

  1. Install the dimmer and ignition switch mounting stud (1).
  2. Tighten
    Tighten the dimmer and ignition switch mounting stud (1) to 4 N·m (35 lb in).

  3. Install the dimmer switch assembly (3) onto the ignition and dimmer switch mounting stud (1).
  4. Install the end of the dimmer switch actuator rod into the dimmer switch assembly (3).
  5. Install the hexagon nut (2).
  6. Tighten the hexagon nut (2) finger tight.
  7. Install the washer head screw (4).
  8. Tighten the washer head screw (4) finger tight.

  9. Object Number: 358700  Size: SH
  10. Install a 3/32 inch drill bit into the hole (1) on the dimmer switch assembly to limit travel.
  11. Position the dimmer switch assembly onto the column and push it against the dimmer switch actuator rod to remove all the lash.

  12. Object Number: 367816  Size: SH
  13. Secure the washer head screw (4) into the dimmer switch assembly (3).
  14. Tighten
    Tighten the washer head screw to 4 N·m (35 lb in).

  15. Secure the hexagon nut (2) onto the dimmer and ignition switch mounting stud (1).
  16. Tighten
    Tighten the hexagon nut to 4 N·m (35 lb in).

  17. Remove the 3/32 inch drill bit from the dimmer switch assembly (3).
  18. Remove the steering column and J 41352 from the vise.