GM Service Manual Online
For 1990-2009 cars only
Makes
🢒
Chevrolet
🢒
1999
🢒
Chevy P42 Commercial Chassis
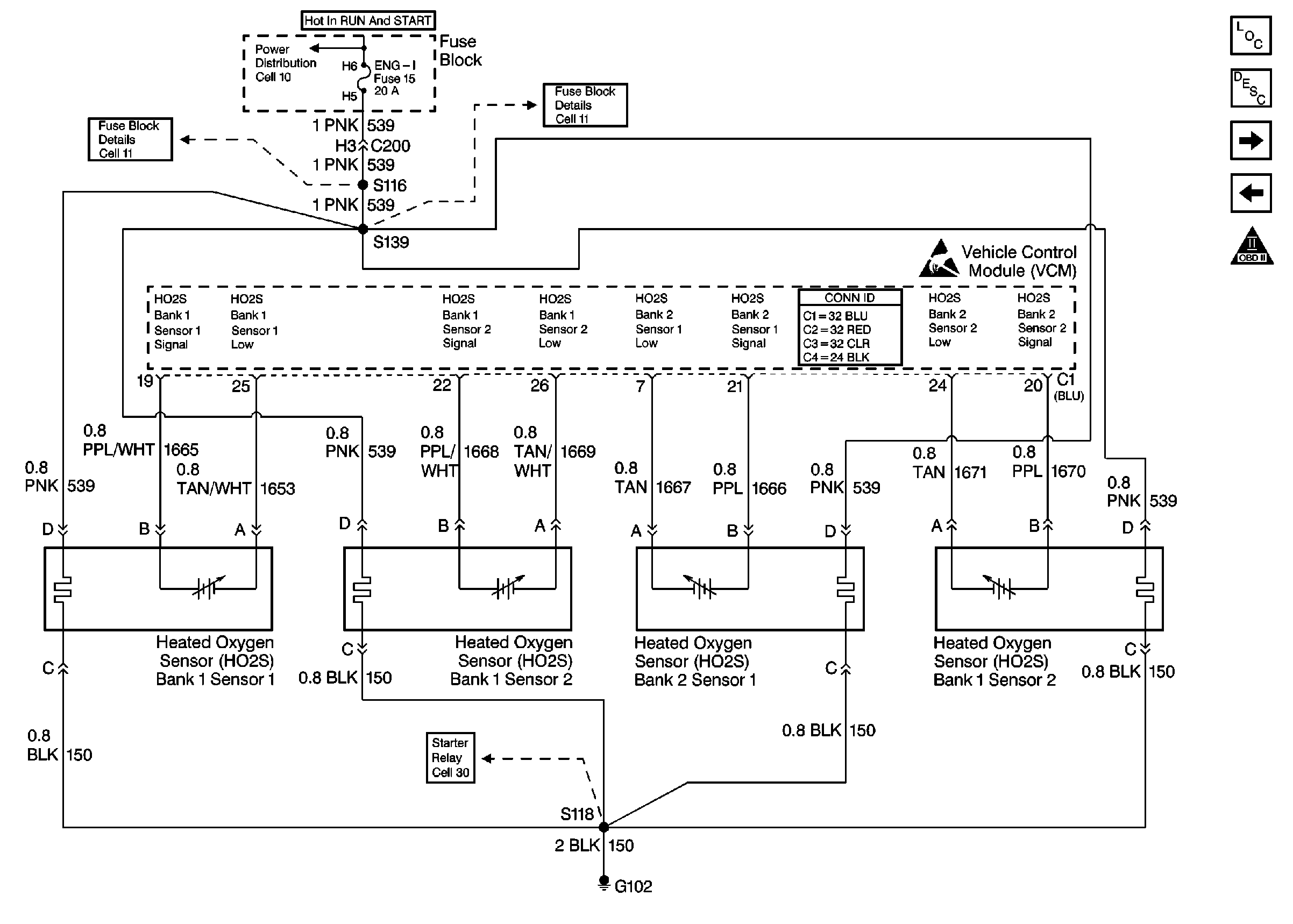
🢒 Cell 21: Engine Data Sensors - HO2S
Cell 21: Engine Data Sensors - HO2S
Cell 21: Engine Data Sensors -- HO2S
Engine Controls Components
Information Sensors/Switches Description
Cell 21: Engine Data Sensors - MAF, IAC, VSS
Cell 21: Engine Data Sensors - MAP, IAT, TP ECT
OBD II Symbol Description Notice
Cell 11: Engine Control Sensors
Cell 10: Ignition Switch and Fuse Block
Cell 11: Engine Control Sensors
Handling ESD Sensitive Parts Notice
Starting System