GM Service Manual Online
For 1990-2009 cars only

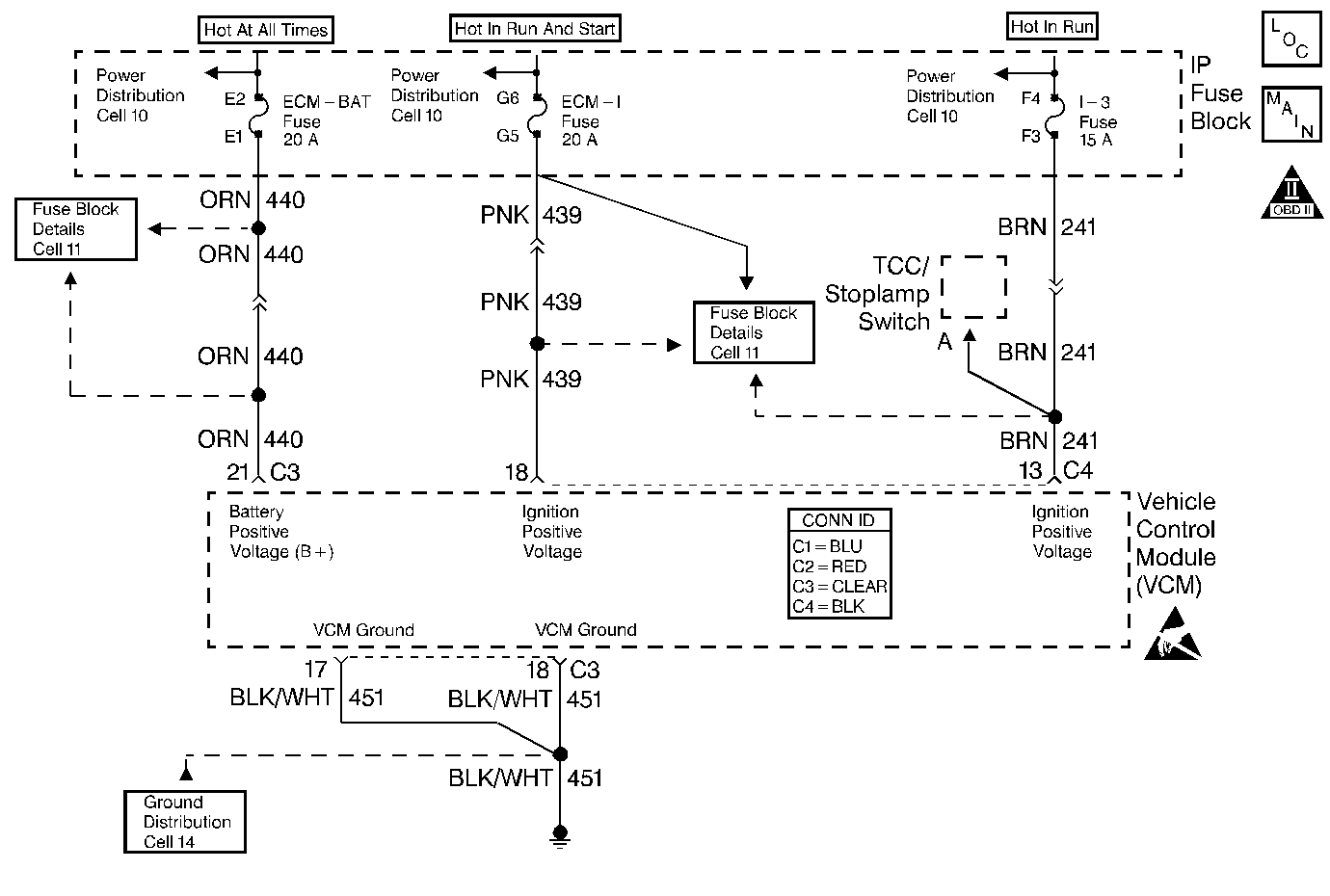
Object Number: 400458  Size: MF
Engine Controls Components
Cell 20: A/T Controls 1 - TCC, Solenoids
OBD II Symbol Description Notice
Handling ESD Sensitive Parts Notice

Circuit Description

The control module programmable read only memory (PROM) contains data which is essential to the operation of the engine and the transmission. When the ignition is turned ON, the values in all of the PROM memory locations are added together and compared to a calibrated checksum number. If these two numbers are not equal, a DTC P1621 will be set. This test determines if any address locations have become corrupt.

Conditions for Running the DTC

The engine is cranking or running.

Conditions for Setting the DTC

The VCM is unable to correctly read data from the EEPROM memory.

Action Taken When the DTC Sets

    • The control module stores the DTC in history after the first failure but will not illuminate the malfunction indicator lamp (MIL).
    • The control module records the operating conditions at the time the diagnostic fails. The control module stores the failure information in the scan tools Freeze Frame/Failure Records.

Conditions for Clearing the MIL/DTC

    • A history DTC will clear if no fault conditions have been detected for 40 warm-up cycles.
    • A warm-up cycle occurs when the coolant temperature has risen 22°C (40°F) from the startup coolant temperature and the engine coolant temperature exceeds 70°C (160°F) during the same ignition cycle.
    • Use the scan tool Clear Information function.

Diagnostic Aids

Replace the VCM even if this DTC exists only in history. Refer to VCM Replacement/Programming .

Test Description

The numbers below refer to the step numbers on the diagnostic table.

  1. Replace the VCM even if this DTC exists only in history.

Step

Action

Value(s)

Yes

No

1

Important: Before clearing the DTCs, use the scan tool Capture Info to save the Freeze Frame and Failure Records for reference. The control module's data is deleted once the Clear Info function is used.

Did you perform the Powertrain On-Board Diagnostic (OBD) System Check?

--

Go to Step 2

Go to Powertrain On Board Diagnostic (OBD) System Check

2

  1. Replace the VCM.
  2. Program the new VCM. Refer to VCM Replacement/Programming .
  3. Perform the CKP System Variation Learn Procedure. Refer to Crankshaft Position System Variation Learn .

Is the action complete?

--

Go to Step 3

--

3

  1. Using the scan tool, clear the DTCs.
  2. Start the engine.
  3. Allow the engine to idle until the engine reaches normal operating temperature.
  4. Select DTC and the Specific DTC function.
  5. Enter the DTC number that was set.
  6. Operate the vehicle, within the Conditions for Setting this DTC, until the scan tool indicates the diagnostic Ran.

Does the scan tool indicate the diagnostic Passed?

--

Go to Step 4

Go to Step 2

4

Does the scan tool display any additional undiagnosed DTCs?

--

Go to the applicable DTC table

System OK