GM Service Manual Online
For 1990-2009 cars only

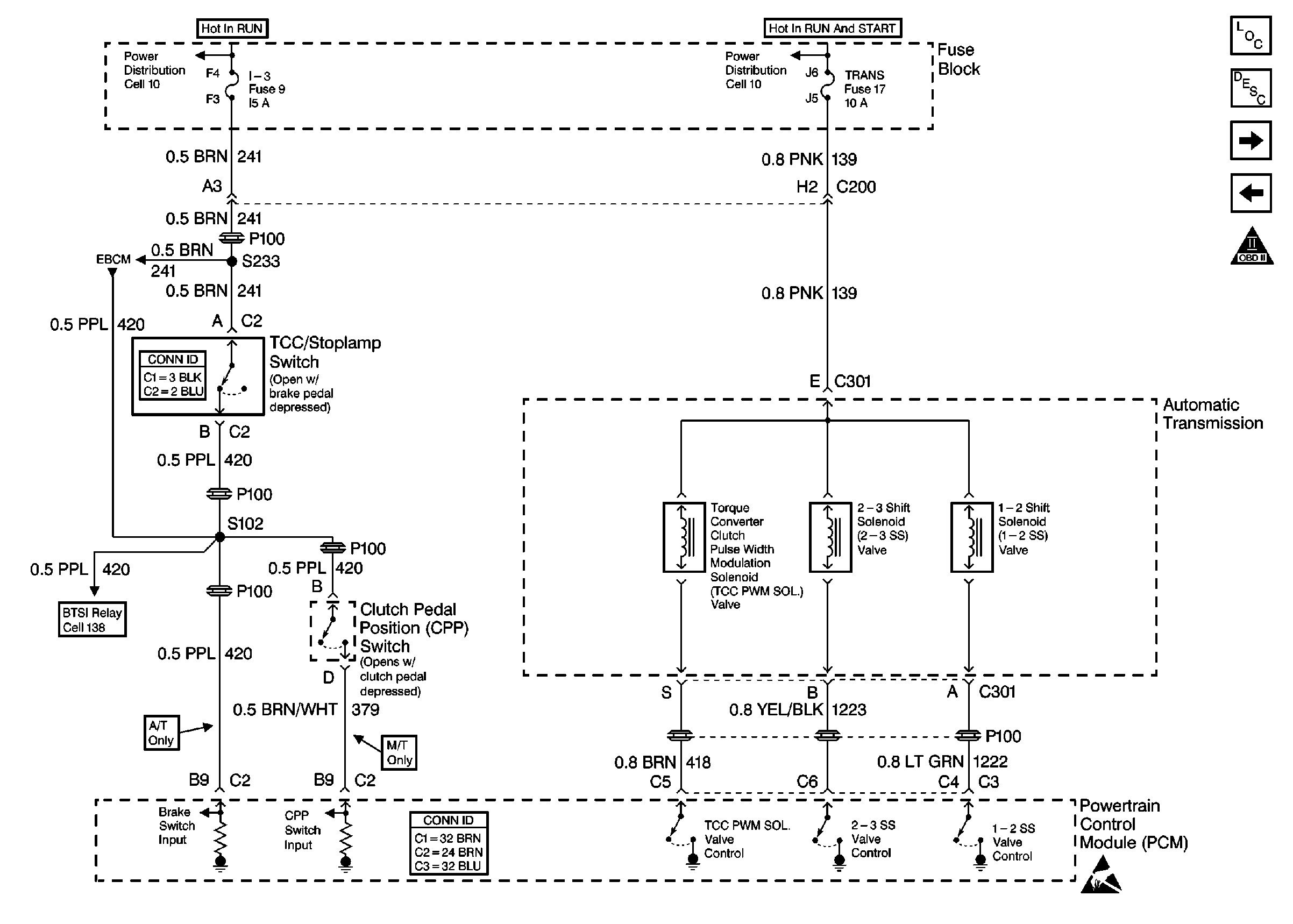
Refer to Engine Controls Schematic

Cell 23: A/T Controls 1 -- Stoplamp/TCC Switch, Internal Solenoids


Object Number: 386564  Size: FS
Engine Controls Components L57 EFI
Electronic Component Description
Cell 23: A/T Controls 2 - TR, TFT, TISS, PC Solenoid
Cell 23: Accelerator Pedal Position Sensor
OBD II Symbol Description Notice
Cell 44: Diesel, ABS Power and Grounding, DLC Output
Cell 10: Ignition Switch and Fuse Block
Cell 10: Ignition Switch and Fuse Block
Handling ESD Sensitive Parts Notice
Cell 138: P42 BTSI Circuit
.

Circuit Description

The TCC normally closed brake switch supplies a B+ signal on to the PCM. The circuit is opened when the brakes are applied. The stop lamp/cruise control normally open brake switch supplies a B+ signal on to the PCM when the brake is applied.

Conditions for Running the DTC

The vehicle mph is more than 0.

Conditions for Setting the DTC

The switches disagree for 10 consecutive minutes.

or

The TCC and the cruise control brake switches are not toggling open and closed, during six brake applications on the same ignition cycle.

Action Taken When the DTC Sets

    • The PCM will not illuminate the Malfunction Indicator Lamp (MIL).
    • The PCM records the operating conditions at the time the diagnostic fails. This information stores in the Failure Records.

Conditions for Clearing the MIL/DTC

    • A History DTC will clear after forty consecutive warm-up cycles during which the diagnostic does not fail (the coolant temperature has risen 5°C (40°F) from the start up coolant temperature and the engine coolant temperature exceeds 71°C (160°F) during that same ignition cycle.
    • Use of a Scan tool will clear the DTC codes.

Diagnostic Aids

Refer to PCM Intermittent Diagnostic Trouble Codes or Performance. Check the driving habits of the customer and/or unusual traffic conditions (i.e. stop and go, expressway traffic).

Test Description

Number(s) below refer to the step number(s) on the Diagnostic Table.

  1. This test checks the feed circuit.

  2. This test simulates brake switch closed or brakes ON.

Step

Action

Value(s)

Yes

No

1

Important: Before clearing the DTCs, use the scan tool Capture Information function to save the Freeze Frame and the Failure records for reference. The control module's data is deleted once the Clear DTC Information function is used.

Was the Powertrain On-Board Diagnostic (OBD) System Check performed?

--

Go to Step 2

Go to Powertrain On Board Diagnostic (OBD) System Check

2

  1. Connect a scan tool.
  2. Turn the ignition ON leaving the engine OFF.
  3. Apply the brakes.

Does the scan tool display the cruise brake switch Closed and then Open when the brake is applied?

--

Go to Step 3

Go to Step 7

3

Apply the brakes again.

Does the scan tool display the brake switch Open and then Closed when the brake is applied?

--

Go to Step 9

Go to Step 4

4

  1. Turn the ignition ON leaving the engine OFF.
  2. Verify the stoplamp switch is disconnected.
  3. With a J 35616-200 unpowered test lamp connected to ground, probe the normally open feed circuit (terminal B).

Is the test lamp ON?

--

Go to Step 5

Go to Step 10

5

  1. Turn the ignition ON leaving the engine OFF.
  2. Verify the stoplamp switch is disconnected.
  3. Turn the headlamp switch ON.
  4. With a J 35616-200 unpowered test lamp connected to ground, probe the normally open stoplamp switch signal circuit (terminal A).

Is the test lamp ON?

--

Go to Step 11

Go to Step 6

6

  1. Disconnect the stoplamp switch.
  2. Jumper the normally open (terminal A) feed circuit and the normally open signal circuits (terminal B) together.

Does the scan tool display the brake switch Closed?

--

Go to Step 17

Go to Step 12

7

  1. Turn the ignition ON leaving the engine OFF.
  2. Verify the stoplamp switch is disconnected.
  3. With a J 35616-200 unpowered test lamp connected to ground, probe the normally closed feed circuit (terminal F).

Is the test lamp ON?

--

Go to Step 8

Go to Step 14

8

  1. Verify the stoplamp switch is disconnected.
  2. Jumper the normally closed (terminal F) feed circuit and the normally closed signal circuits (terminal E) together.

Does the scan tool display the cruise brake switch Closed?

--

Go to Step 17

Go to Step 15

9

The DTC is intermittent. If no additional DTCs are stored, refer to Diagnostic Aids. If additional DTCs were stored refer to the applicable DTC table(s) first.

Are any additional DTCs stored?

--

Go to the Applicable DTC Table

Go to Diagnostic Aids

10

Check the normally open feed circuit (terminal B) for and open or short to ground. Refer to Wiring Repairs.

Is the action complete?

--

Go to Step 19

--

11

  1. Check the stoplamp switch signal circuit for a short to B+.
  2. If a short to B+ is present, repair the short as necessary. Refer to Wiring Repairs.

Is the action complete?

--

Go to Step 19

Go to Step 18

12

Check the normally open brake switch signal circuit for and open or short to ground. Repair the circuit as necessary. Refer to Wiring Repairs.

Did you perform a repair?

--

Go to Step 19

Go to Step 13

13

Check the normally open brake switch signal circuit for a proper connection at PCM? Refer to Wiring Repairs.

Did you perform a repair?

--

Go to Step 19

Go to Step 18

14

Check the normally closed feed circuit (terminal F) for and open or short to ground. Refer to Wiring Repairs.

Is the action complete?

--

Go to Step 19

--

15

Check the normally closed cruise brake switch signal circuit for an open or short to ground. Refer to Wiring Repairs.

Did you perform a repair?

--

Go to Step 19

Go to Step 16

16

Check the normally closed cruise brake switch signal circuit for a proper connection at PCM? Refer to Wiring Repairs.

Did you perform a repair?

--

Go to Step 19

Go to Step 18

17

Replace the stoplamp switch.

Is the action complete?

--

Go to Step 19

--

18

Important: The new PCM must be programmed. Refer to Powertrain Control Module Replacement/Programming .

Replace the PCM.

Is the action complete?

--

Go to Step 19

--

19

  1. Using the scan tool, clear the DTCs.
  2. Start the engine.
  3. Allow the engine to idle until the normal operating temperature is reached.
  4. Select the DTC and the Specific DTC functions.
  5. Enter the DTC number that was set.
  6. Operate the vehicle within the conditions for setting this DTC until the scan tool indicates the diagnostic Ran.

Does the scan tool indicate the diagnostic Passed?

--

Go to Step 20

Go to Step 2

20

Does the scan tool display any additional undiagnosed DTCs?

--

Go to the Applicable DTC Table

System OK