GM Service Manual Online
For 1990-2009 cars only
Makes
🢒
Chevrolet
🢒
2000
🢒
Chevy Suburban - 4WD
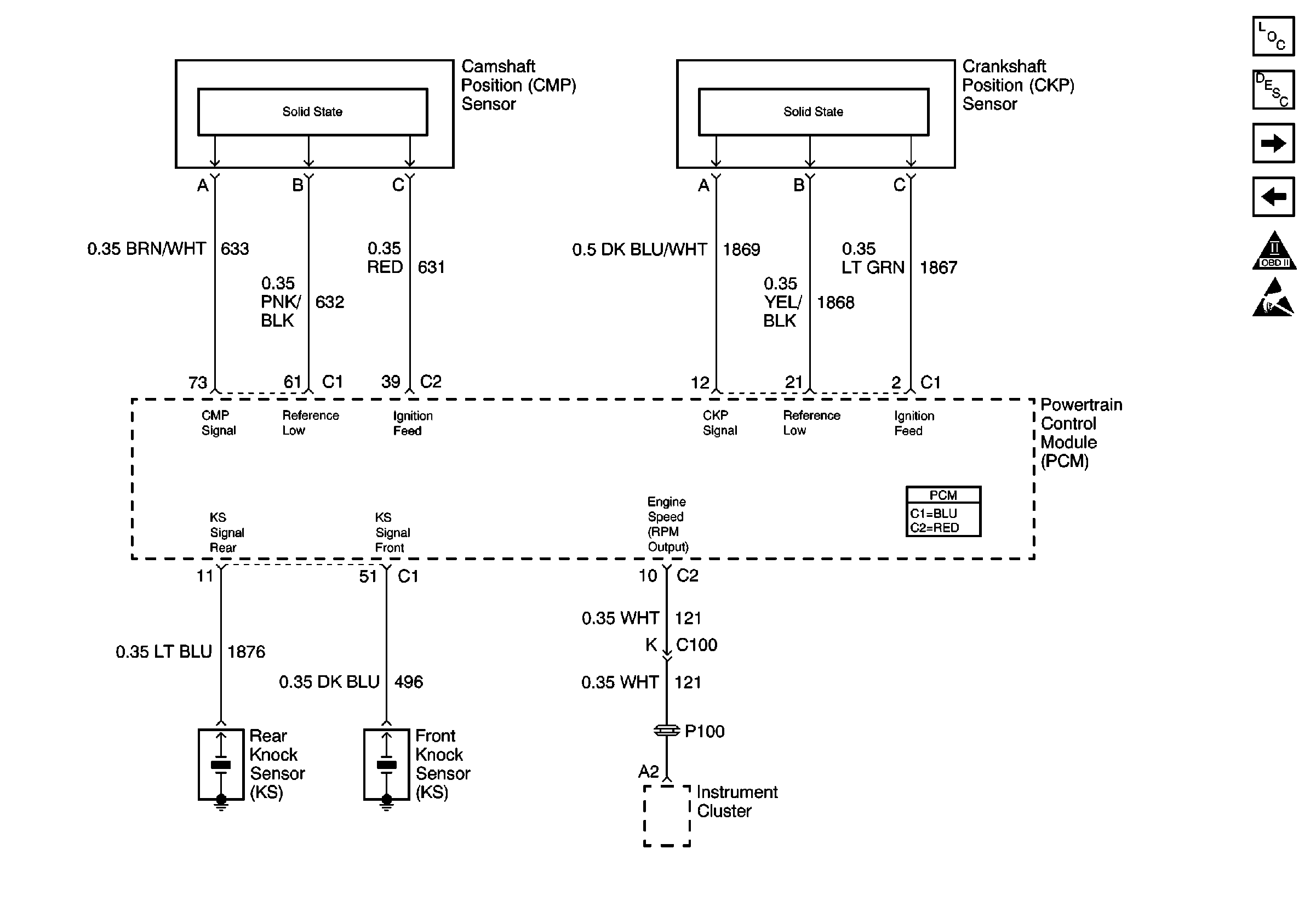
🢒 PCM ,CMP Sensor, CKP Sensor, KS, IPC
PCM ,CMP Sensor, CKP Sensor, KS, IPC
PCM ,CMP Sensor, CKP Sensor, KS, IPC
Engine Controls Components
Evaporative Emission Control System Operation Description
FPR, Fuel Pump/Sender, Fuel Tank Pressure Sensor, G403,G102
Ignition Controls - Ignition System Coils 1, 3, 5, 7
OBD II Symbol Description Notice
Handling ESD Sensitive Parts Notice