GM Service Manual Online
For 1990-2009 cars only

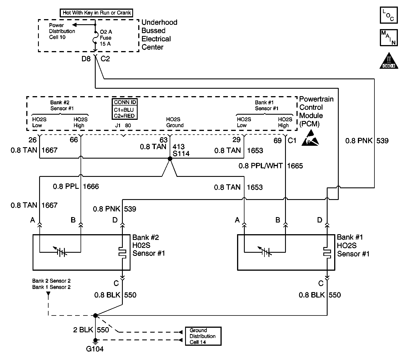
DTC P0133 HO2S Slow Response Bank 1 Sensor 1 w/o RPO OSG


Object Number: 597617  Size: LF
Engine Controls Components
G104, H2O Sensors, O2 A B Fuses
OBD II Symbol Description Notice
Handling ESD Sensitive Parts Notice

Circuit Description

The powertrain control module (PCM) continuously monitors the heated oxygen sensor (HO2S) activity for 100 seconds. During the monitor period, the PCM counts the number of times that the HO2S responds from rich to lean and from lean to rich and adds the amount of time it took to complete all transitions. With this information, the PCM can determine the average time for all transitions. If the average response time is too slow, a diagnostic trouble code (DTC) sets.

The PCM determines the lean to rich transition when the HO2S voltage changes from less than 300 mV to more than 600 mV. The PCM determines the rich to lean transition when the HO2S voltage changes from more than 600 mV to less than 300 mV. An HO2S that responds too slowly is most likely defective. Replace the HO2S.

Conditions for Running the DTC

    • No active mass air flow ( MAF) DTCs
    • No active intake air temperature (IAT) DTCs
    • No active engine coolant temperature (ECT) DTCs
    • No active throttle position (TP) DTCs
    • No active injector DTCs
    • No active crank sensor DTCs
    • No active ignition control DTCs
    • The ECT is more than 65°C (149°F).
    • The ignition voltage is more than 9.0 volts.
    • The secondary air injection (AIR), exhaust gas recirculation (EGR), and the catalyst diagnostics are not active.
    • The fuel system is operating in Closed Loop.
    • The engine speed is between 1,200 RPM and 3,000 RPM.
    • The engine air flow is between 23 g/s and 50 g/s.
    • The EVAP canister purge duty cycle is more than 0 percent.
    • The engine run time is more than 120 seconds.

Conditions for Setting the DTC

    • The lean to rich response average time is more than 250 milliseconds.
    • The rich to lean response average time is more than 250 milliseconds.
    • The above conditions are met for 100 seconds.

Action Taken When the DTC Sets

    • The PCM illuminates the malfunction indicator lamp (MIL) on the second consecutive ignition cycle that the diagnostic runs and fails.
    • The PCM records the operating conditions at the time the diagnostic fails. The first time the diagnostic fails, the PCM stores this information in the Failure Records. If the diagnostic reports a failure on the second consecutive ignition cycle, the PCM records the operating conditions at the time of the failure. The PCM writes the conditions to the Freeze Frame and updates the Failure Records.

Conditions for Clearing the MIL/DTC

    • The PCM turns OFF the malfunction indicator lamp (MIL) after 3 consecutive ignition cycles that the diagnostic runs and does not fail.
    • A last test failed, or current DTC, clears when the diagnostic runs and does not fail.
    • A history DTC clears after 40 consecutive warm-up cycles, if no failures are reported by this or any other emission related diagnostic.
    • Use a scan tool in order to clear the MIL and the DTC.

Diagnostic Aids

Important: Remove any debris from the PCM connector surfaces before servicing the PCM. Inspect the PCM connector gaskets when diagnosing or replacing the PCM. Ensure that the gaskets are installed correctly. The gaskets prevent water intrusion into the PCM.

    • This diagnostic only runs once per ignition cycle.
    • A malfunction in the HO2S heater circuits causes a DTC to set. Check HO2S heater circuits for intermittent opens and connections. Refer to Testing for Intermittent Conditions and Poor Connections in Wiring Systems.
    • An oxygen supply inside the HO2S is necessary for proper operation. The HO2S wires provide the supply of oxygen. Inspect the HO2S wires and connections for breaks or contamination. Refer to Heated Oxygen Sensor Wiring Repairs in Wiring Systems.
    • Using the Freeze Frame and Failure Records data may aid in locating an intermittent condition. If you cannot duplicate the DTC, the information included in the Freeze Frame and Failure Records data can help determine how many miles since the DTC set. The Fail Counter and Pass Counter can also help determine how many ignition cycles the diagnostic reported a pass or a fail. Operate the vehicle within the same Freeze Frame conditions such as RPM, load, vehicle speed, temperature, etc. that you observed. This will isolate when the DTC failed. For an intermittent condition, refer to Symptoms .

Test Description

The numbers below refer to the step numbers on the diagnostic table.

  1. This step determines if the fault is present. This test may take 5 minutes for the diagnostic to run.

  2. When DTCs P0133 and P0153 are set at the same time, it is a good indication that a fuel contamination problem is present.

  3. An exhaust leak 6-12 inches away from the HO2S can cause a DTC to set.

  4. This step tests whether a good ground circuit is available.

  5. This step tests the integrity of the signal circuit to the PCM.

  6. This step tests the integrity of the signal circuit to the PCM.

  7. Certain RTV silicone gasket materials give off vapors that can contaminate the HO2S. There is also a possibility of silicone-contamination caused by silicone in the fuel. If the sensors appear to be contaminated by silicone and all the silicone sealant is a non silicone base, advise the customer to try a different fuel company. A missing fuel filler restrictor indicates the customer may have used leaded fuel.

Step

Action

Value(s)

Yes

No

1

Did you perform the Powertrain On-Board Diagnostic (OBD) System Check?

--

Go to Step 2

Go to Powertrain On Board Diagnostic (OBD) System Check

2

Important: If any DTCs are set except P0153, refer to those DTCs before proceeding with this diagnostic table.

  1. Install a scan tool.
  2. Idle the engine at the normal operating temperature.
  3. Operate the vehicle within the parameters specified under Conditions for Running the DTC in the supporting text.
  4. Monitor the diagnostic trouble code (DTC) information using the scan tool.

Did DTC P0133 fail this ignition?

--

Go to Step 3

Go to Diagnostic Aids

3

Did DTC P0153 also fail this ignition?

--

Go to Step 8

Go to Step 4

4

  1. Inspect for an exhaust system leak. Refer to Exhaust System Inspection in Engine Exhaust. After you inspect the exhaust system, return to this diagnostic.
  2. If you find an exhaust leak, repair the exhaust leak as necessary.

Did you isolate an exhaust leak?

--

Go to Step 14

Go to Step 5

5

Visually and physically inspect the following items:

    • Ensure that the HO2S is securely installed.
    • Inspect for corrosion on the terminals.
    • Test the terminal tension at the HO2S and at the PCM. Refer to Testing for Intermittent Conditions and Poor Connections in Wiring Systems.
    • Inspect for damaged wiring.

Did you find and correct the condition?

--

Go to Step 14

Go to Step 6

6

  1. Disconnect the HO2S.
  2. Jumper the HO2S low circuit to a known good ground.
  3. Monitor the HO2S voltage on the Engine 1 Data List using the scan tool.

Does the scan tool indicate a voltage within the specified range?

350-550 mV

Go to Step 7

Go to Step 10

7

  1. Jumper the HO2S high and low signal circuits to a battery ground.
  2. Monitor the HO2S voltage using the scan tool.

Does the scan tool indicate a voltage below the specified value?

200 mV

Go to Step 13

Go to Step 9

8

Important: Determine and correct the cause of the contamination before replacing a sensor. Inspect for the following conditions:

   • Fuel contamination
   • Use of improper RTV sealant
   • Engine oil and coolant consumption

Replace the affected heated oxygen sensor. Refer to Heated Oxygen Sensor Replacement - Bank 1 or Heated Oxygen Sensor Replacement - Bank 2 .

Is the action complete?

--

Go to Step 14

--

9

  1. Remove the jumper wire from the HO2S low circuit.
  2. Measure the voltage from the HO2S low signal circuit to a battery ground using the DMM.

Does the DMM indicate a voltage near the specified value?

5 V

Go to Step 12

Go to Step 11

10

Repair the high signal circuit for a short to ground or shorted to a voltage. Refer to Heated Oxygen Sensor Wiring Repairs in Wiring Systems.

Is the action complete?

--

Go to Step 14

--

11

Repair the open HO2S low circuit or repair the faulty PCM connections. Refer to Heated Oxygen Sensor Wiring Repairs or Connector Repairs in Wiring Systems.

Is the action complete?

--

Go to Step 14

--

12

Repair the HO2S high signal circuit for an open or repair the faulty PCM connections. Refer to Heated Oxygen Sensor Wiring Repairs or Connector Repairs in Wiring Systems.

Is the action complete?

--

Go to Step 14

--

13

Replace the HO2S. Refer to Heated Oxygen Sensor Replacement - Bank 1 .

Is the action complete?

--

Go to Step 14

--

14

  1. Select the Diagnostic Trouble Code (DTC) option and the Clear DTC Information option using the scan tool.
  2. Idle the engine at the normal operating temperature.
  3. Select the Diagnostic Trouble Code (DTC) option and the Specific DTC option, then enter the DTC number using the scan tool.
  4. Operate the vehicle within the Conditions for Running the DTC as specified in the supporting text, if applicable.

Does the scan tool indicate that this test ran and passed?

--

Go to Step 15

Go to Step 2

15

Select the Capture Info option and the Review Info option using the scan tool.

Does the scan tool display any DTCs that you have not diagnosed?

--

Go to the applicable DTC table

System OK

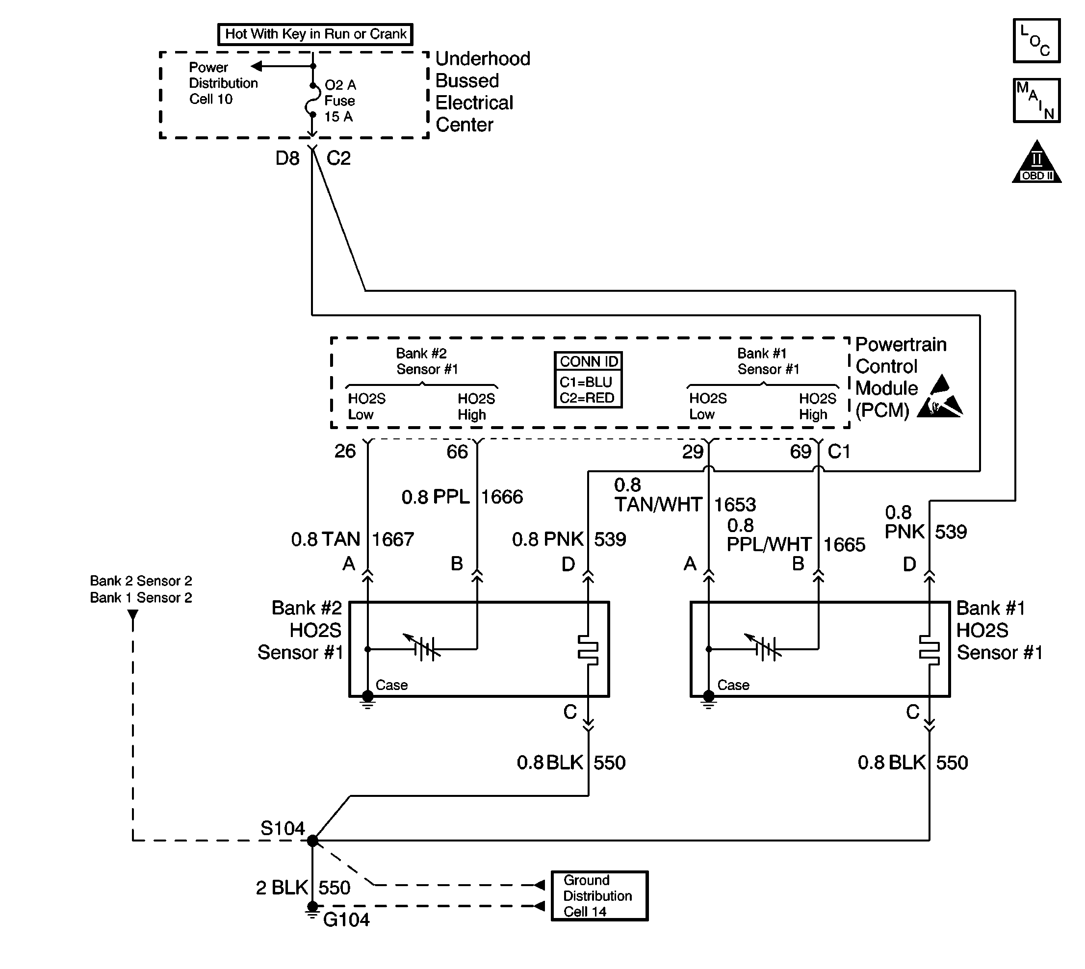
DTC P0133 HO2S Slow Response Bank 1 Sensor 1 w/ RPO OSG


Object Number: 597831  Size: LF
Engine Controls Components
G104, H2O Sensors, O2 A B Fuses
OBD II Symbol Description Notice
Handling ESD Sensitive Parts Notice

Circuit Description

The heated oxygen sensor (HO2S) is a sensor designed to create a voltage relative to the oxygen content in the engine exhaust stream. The control module supplies the HO2S with signal high and low circuits. Ignition voltage and ground are supplied to the HO2S heater by independent circuits. The oxygen content of the exhaust indicates when the engine is operating lean or rich. When the HO2S detects that the engine is operating rich, the signal voltage is high and decreases the signal voltage as the engine runs leaner. This oscillation above and below the bias voltage sometimes referred to as activity or switching, can be monitored with the HO2S signal voltage.

The HO2S contains a heater that is necessary in order to quickly warm the sensor to operating temperature and to maintain the operating temperature during extended idle conditions. The HO2S needs to be at a high temperature in order to produce a voltage. Once the HO2S has reached operating temperature, the control module monitors the HO2S bias, or reference, voltage as well as the HO2S signal voltage for Closed Loop fuel control. During normal Closed Loop fuel control operation, the control module will add fuel, or enrich the mixture, when the HO2S detects a lean exhaust content and subtract fuel, or lean-out the mixture, when the HO2S detects a rich exhaust condition.

Certain vehicle models utilize an oxygen sensor after the catalytic converter in order to monitor catalyst efficiency.

This diagnostic trouble code (DTC) determines if the HO2S is functioning properly by checking for an adequate number of HO2S voltage transitions above and below the bias range of 300-600 mV. This DTC sets when the powertrain control module (PCM) fails to detect a minimum number of voltage transitions above and below the bias range during the test period. Possible causes of this DTC are listed below:

    • An open or a short to voltage on either the HO2S signal or HO2S low circuits
    • A malfunctioning HO2S
    • A problem in the HO2S heater or its circuit
    • A poor HO2S ground
    • An open HO2S low reference circuit

This DTC is designed to detect an HO2S that is slow to respond to changes in the exhaust oxygen content.

Conditions for Running the DTC

    • No active throttle position (TP) sensor DTCs
    • No active evaporative emission (EVAP) system DTCs
    • No active intake air temperature (IAT) sensor DTCs
    • No active manifold absolute pressure (MAP) sensor DTCs
    • No active engine coolant temperature (ECT) sensor DTCs
    • No active mass air flow (MAF) sensor DTCs
    • No active misfire DTCs
    • No intrusive test in progress
    • No device controls are active
    • The system voltage is between 11.7-18 volts.
    • DTCs P0131, P0132, P0134, and P0135 not active
    • The system is in Closed Loop.
    • The ECT is more than 57°C (135°F).
    • The engine has been running for more than 75 seconds.
    • The MAF is between 15-55 g/s.
    • The engine speed is between 1,100-3,000 RPM.
    • The EVAP canister purge is enabled.
    • The above conditions are present for more than 2 seconds.

Conditions for Setting the DTC

    • Closed Loop mode enabled for more than 100 seconds.
    • The average lean-to-rich response time is more than 125 ms.
    • The average rich-to-lean response time is more than 125 ms.

Action Taken When the DTC Sets

    • The control module illuminates the malfunction indicator lamp (MIL) if a failure is detected during 2 consecutive key cycles.
    • The control module sets the DTC and records the operating conditions at the time the diagnostic failed. The failure information is stored in the scan tool Freeze Frame/Failure Records.

Conditions for Clearing the MIL or DTC

    • The control module turns OFF the MIL after 3 consecutive drive trips when the test has run and passed.
    • A history DTC will clear if no fault conditions have been detected for 40 warm-up cycles. A warm-up cycle occurs when the coolant temperature has risen 22°C (40°F) from the startup coolant temperature and the engine coolant reaches a temperature that is more than 70°C (158°F) during the same ignition cycle.
    • Use a scan tool in order to clear the DTCs.

Diagnostic Aids

Important: Never solder the HO2S wires. For proper wire and connector repairs, refer to Wiring Repairs or Connector Repairs in Wiring Systems.

Check for the following conditions:

    • An improperly installed air cleaner outlet duct
    • The air cleaner outlet duct for a collapsed duct, restrictions, or a missing or plugged air filter
    • Throttle body and intake manifold vacuum leaks
    • A damaged or blocked throttle body inlet
    • Exhaust system for corrosion, leaks, or loose or missing hardware -- Refer to Exhaust System Inspection in Engine Exhaust.
    • The HO2S is installed securely and the pigtail harness is not contacting the exhaust manifold or wires.
    • HO2S contamination
    • The vacuum hoses for splits, kinks, and proper connections
    • Excessive water, alcohol, or other contaminants in the fuel -- Refer to Alcohol/Contaminants-in-Fuel Diagnosis .
    • PCM sensor grounds that are clean, tight, and properly positioned

An intermittent may be caused by any of the following conditions:

    • A poor connection
    • Rubbed through wire insulation
    • A broken wire inside the insulation

Thoroughly check any circuitry that is suspected of causing the intermittent complaint. Refer to Testing for Intermittent Conditions and Poor Connections in Wiring Systems.

If a repair is necessary, then refer to Wiring Repairs or Connector Repairs in Wiring Systems.

Test Description

The numbers below refer to the step numbers on the diagnostic table.

  1. HO2S contamination is indicated if multiple response, switching or time ratio HO2S DTCs are set.

  2. The use of leaded fuel may be indicated by the removal or tampering of the fuel filler restrictor.

    An HO2S contaminated by silicon will have a white, powdery deposit on the portion of the HO2S that is exposed to the exhaust stream. The usual cause of silica contamination is the use of unapproved silicon RTV engine gasket material or the use of silicon based sprays or fluids within the engine.

    If the cause of this contamination is not corrected, the replacement HO2S will also get contaminated.

  3. Even small exhaust leaks can cause slow response from the HO2S.

  4. An HO2S contaminated by silicon will have a white, powdery deposit on the portion of the HO2S that is exposed to the exhaust stream. The usual cause of silica contamination is the use of unapproved silicon RTV engine gasket material or the use of silicon based sprays or fluids within the engine. If the cause of this contamination is not corrected, the replacement HO2S will also get contaminated.

  5. If the voltage observed in step 8 is less than the range specified, a short between the HIGH and LOW circuits or a short between the HIGH circuit and ground is indicated. With the HO2S and the PCM disconnected, the resistance between the HIGH and LOW circuits and the resistance between the HIGH circuit and ground should measure infinite.

    If the voltage observed in step 8 is more than the range specified, a short between the HIGH circuit and an ignition voltage source is indicated.

  6. If the voltage observed in step 9 is not below the voltage specified, a high resistance HIGH or LOW circuit is indicated.

    Good circuit continuity measures less than 5 ohms with the PCM and sensor disconnected. Measure between the PCM connector and the HO2S connector. Ensure PCM terminal contact is good.

Step

Action

Value(s)

Yes

No

1

Did you perform the Powertrain On-Board Diagnostic (OBD) System Check?

--

Go to Step 2

Go to Powertrain On Board Diagnostic (OBD) System Check

2

In addition to this DTC, check for the following HO2S DTCs:

    • The opposite bank sensor slow response DTC
    • Either bank sensor insufficient switching DTC
    • Either bank sensor transition time ratio DTC

Are any of the above listed HO2S DTCs set?

--

Go to Step 4

Go to Step 3

3

Are any powertrain component DTCs set?

--

Go to DTCs that are set

Go to Step 5

4

  1. The HO2S sensors have been contaminated. Replace the affected HO2S sensors. Refer to Heated Oxygen Sensor Replacement - Bank 1 .
  2. The contamination source must be removed prior to operating the engine with the replacement sensors. Possible sources include the following :
  3. • The use of incorrect silicon RTV sealant
    • Engine coolant leakage into the combustion chamber
    • Excessive engine oil consumption
    • The use of silicon contaminated fuel
    • The use of fuel containing LEAD

Has the contamination source been removed and the affected sensors replaced?

--

Go to Step 18

--

5

  1. Using the scan tool store, DTC information from the PCM into the scan tool.
  2. Clear the DTC Information from the PCM.
  3. Reset the fuel trim values.
  4. Start and idle the engine until normal operating temperature is reached.
  5. Operate the engine under the Conditions for Running the DTC.

Did this DTC run and fail this ignition?

--

Go to Step 7

Go to Step 6

6

  1. The condition that set this DTC is not present. This DTC may have been set by one of the following conditions:
  2. • An exhaust system leak between the engine and the HO2S -- Refer to Exhaust System Inspection in Engine Exhaust
    • Poor HO2S connector terminal contact
    • HO2S connector water intrusion
    • An improperly torqued HO2S
    • An HO2S with an inoperative heater
    • Poor PCM connector terminal contact
    • An HO2S HIGH or LOW circuit with one of the following conditions:
       - Intermittently open
       - Intermittently shorted
       - Excessive circuit resistance, above 5 ohms
    • A contaminated HO2S
    • Contamination can include the following:
       - Contaminated fuel -- Refer to Alcohol/Contaminants-in-Fuel Diagnosis
       - Use of incorrect RTV sealant
       - Excessive engine oil or coolant consumption
  3. Repair any of the above or similar engine conditions as necessary.

Did you find a problem?

--

Go to Step 18

Go to Diagnostic Aids

7

  1. Check the exhaust system for leaks between the HO2S and the engine. Refer to Exhaust System Inspection in Engine Exhaust
  2. Repair the exhaust as necessary.
  3. Check the HO2S and PCM connectors for proper terminal contact.
  4. Repair terminal contact as necessary. Refer to Connector Repairs in Wiring Systems.

Did you find and repair a problem?

--

Go to Step 18

Go to Step 8

8

  1. Turn OFF the ignition.
  2. Disconnect the HO2S connector for the sensor that applies to this DTC.
  3. Jumper the HO2S LOW circuit terminal to a known good ground.
  4. Turn ON the ignition, with the engine OFF.
  5. Using a scan tool, monitor the HO2S voltage for the sensor that applies to this DTC.

Is the HO2S voltage within the value range specified?

351-551 mV

Go to Step 9

Go to Step 13

9

  1. Jumper the HO2S HIGH signal circuit to ground.
  2. Using a scan tool, monitor the HO2S voltage for the sensor that applies to this DTC.

Is the HO2S voltage less than the value specified?

20 mV

Go to Step 10

Go to Step 14

10

  1. Remove the HO2S LOW circuit jumper.
  2. Connect a test lamp between the HO2S heater ignition positive voltage circuit terminal and a known good ground. Do not use the HO2S heater ground circuit terminal.

Is the test lamp ON?

--

Go to Step 11

Go to Step 15

11

Connect the test lamp between the HO2S heater ignition positive voltage circuit terminal and the HO2S heater ground circuit terminal.

Is the test lamp ON?

--

Go to Step 12

Go to Step 16

12

  1. Check for contamination sources which may have caused the HO2S to fail.
  2. HO2S contamination sources include the following:

    • Use of in-correct RTV engine sealant
    • Contaminated fuel -- Refer to Alcohol/Contaminants-in-Fuel Diagnosis
    • Excessive engine oil or coolant consumption
  3. Repair or remove source of contamination.

Is the action complete?

--

Go to Step 17

--

13

Repair the short between the HO2S HIGH and LOW circuits or between the HO2S HIGH signal circuit and an ignition voltage source. Refer to Wiring Repairs in Wiring Systems.

Is the action complete?

--

Go to Step 18

--

14

  1. Check the HO2S HIGH signal circuit and the HO2S LOW circuit for an open or high circuit resistance.
  2. Repair the HO2S circuits as necessary. Refer to Wiring Repairs in Wiring Systems.

Is the action complete?

--

Go to Step 18

--

15

Repair the HO2S heater ignition positive voltage circuit. Refer to Wiring Repairs in Wiring Systems.

Is the action complete?

--

Go to Step 18

--

16

Repair the HO2S heater ground circuit. Refer to Wiring Repairs in Wiring Systems.

Is the action complete?

--

Go to Step 18

--

17

Replace the HO2S. Refer to Heated Oxygen Sensor Replacement - Bank 1 .

Is the action complete?

--

Go to Step 18

--

18

  1. Reset the fuel trim values using a scan tool.
  2. Start and idle the engine until normal operating temperature is reached.
  3. Operate the engine under the Conditions for Running the DTC.
  4. Observe the DTC status and verify that this DTC runs.

Did this DTC run and pass this ignition?

--

System OK

Go to Step 2