GM Service Manual Online
For 1990-2009 cars only
Makes
🢒
Chevrolet
🢒
2005
🢒
Classic
🢒 Ignition System
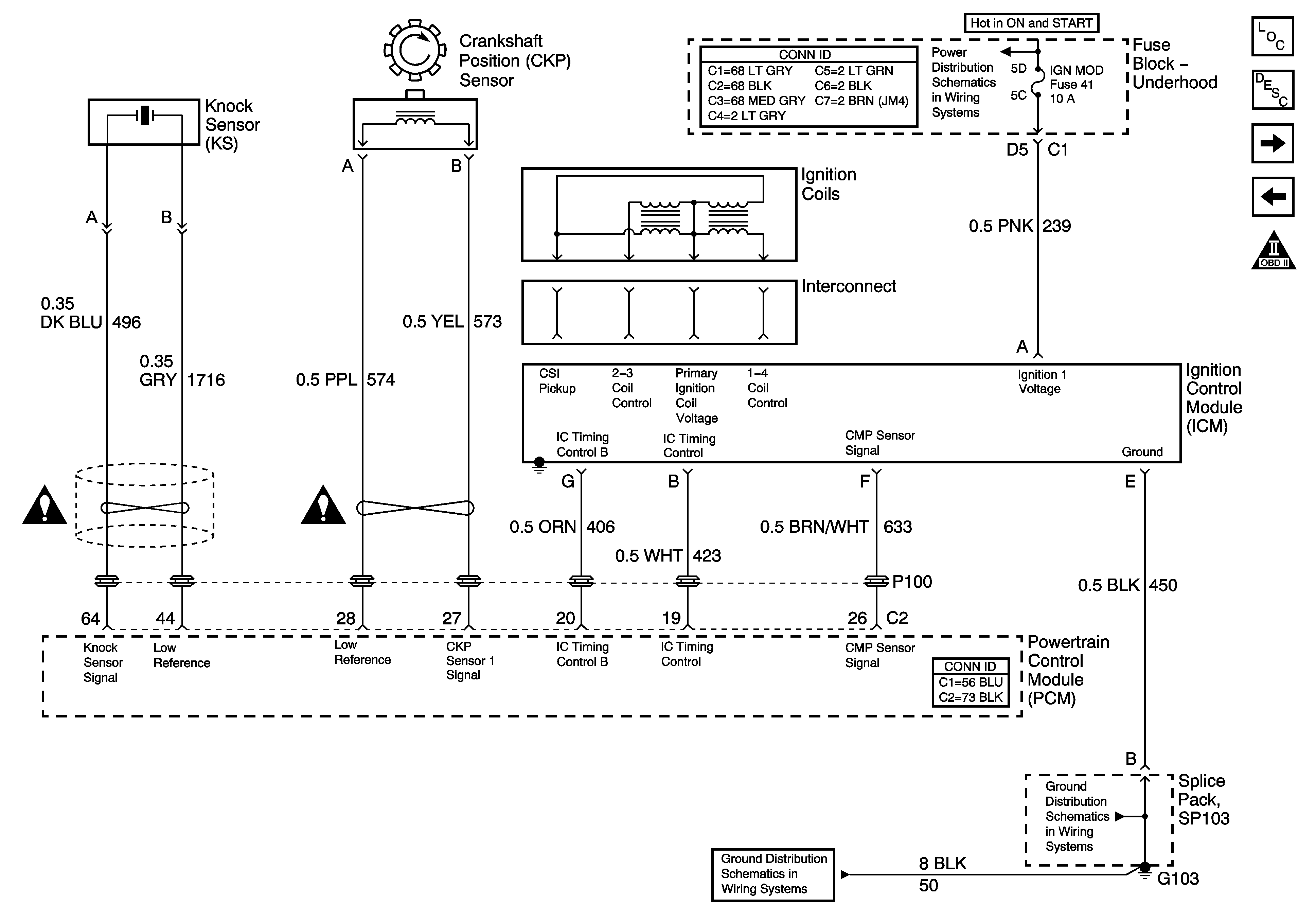
Ignition System
Ignition System
Master Electrical Component List
Electronic Ignition (EI) System Description
Fuel Pump Controls
Engine Data Sensors - Heated Oxygen Sensors
Engine Controls Schematic Icons
IGN MOD, B/U LMP, PCM IGN, INJR, A/C FBC, AUTO TRANS, ABS IGN Fuses
Engine Controls Schematic Icons
Engine Controls Schematic Icons
SP103
SP103