GM Service Manual Online
For 1990-2009 cars only
Makes
🢒
Chevrolet
🢒
2005
🢒
Classic
🢒 Engine Data Sensors - Heated Oxygen Sensors
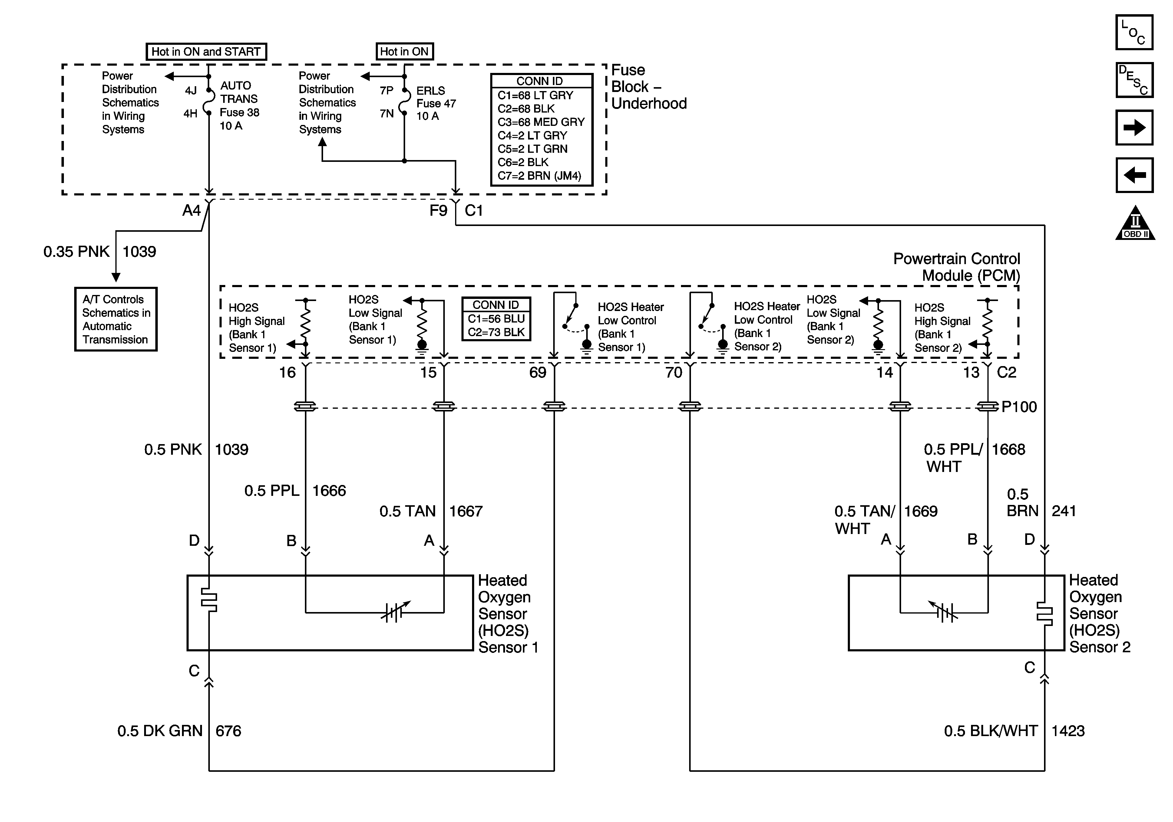
Engine Data Sensors - Heated Oxygen Sensors
Engine Data Sensors - Heated Oxygen Sensors
Master Electrical Component List
Powertrain Control Module Description
Ignition System
Engine Data Sensors - Pressure and Temperature
Engine Controls Schematic Icons
IGN MOD, B/U LMP, PCM IGN, INJR, A/C FBC, AUTO TRANS, ABS IGN Fuses
HTR A/C IGN and ERLS Fuses
Shift Solenoids