GM Service Manual Online
For 1990-2009 cars only
Makes
🢒
Chevrolet
🢒
2005
🢒
Classic
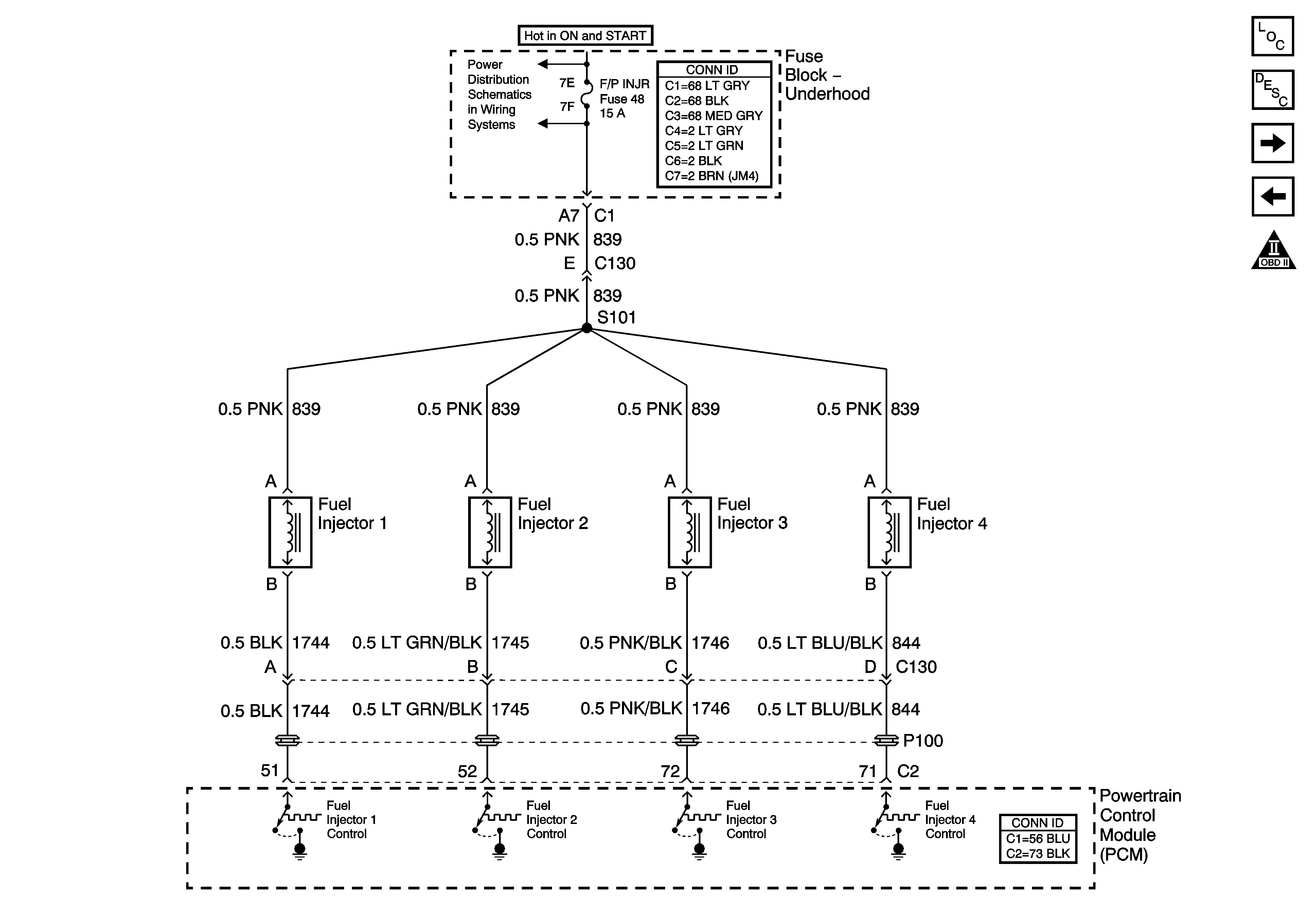
🢒 Fuel Injectors
Fuel Injectors
Fuel Injectors
Master Electrical Component List
Fuel System Description
EVAP and IAC Controls
Fuel Pump Controls
Engine Controls Schematic Icons
IGN MOD, B/U LMP, PCM IGN, INJR, A/C FBC, AUTO TRANS, ABS IGN Fuses