GM Service Manual Online
For 1990-2009 cars only
Makes
🢒
Chevrolet
🢒
2005
🢒
Classic
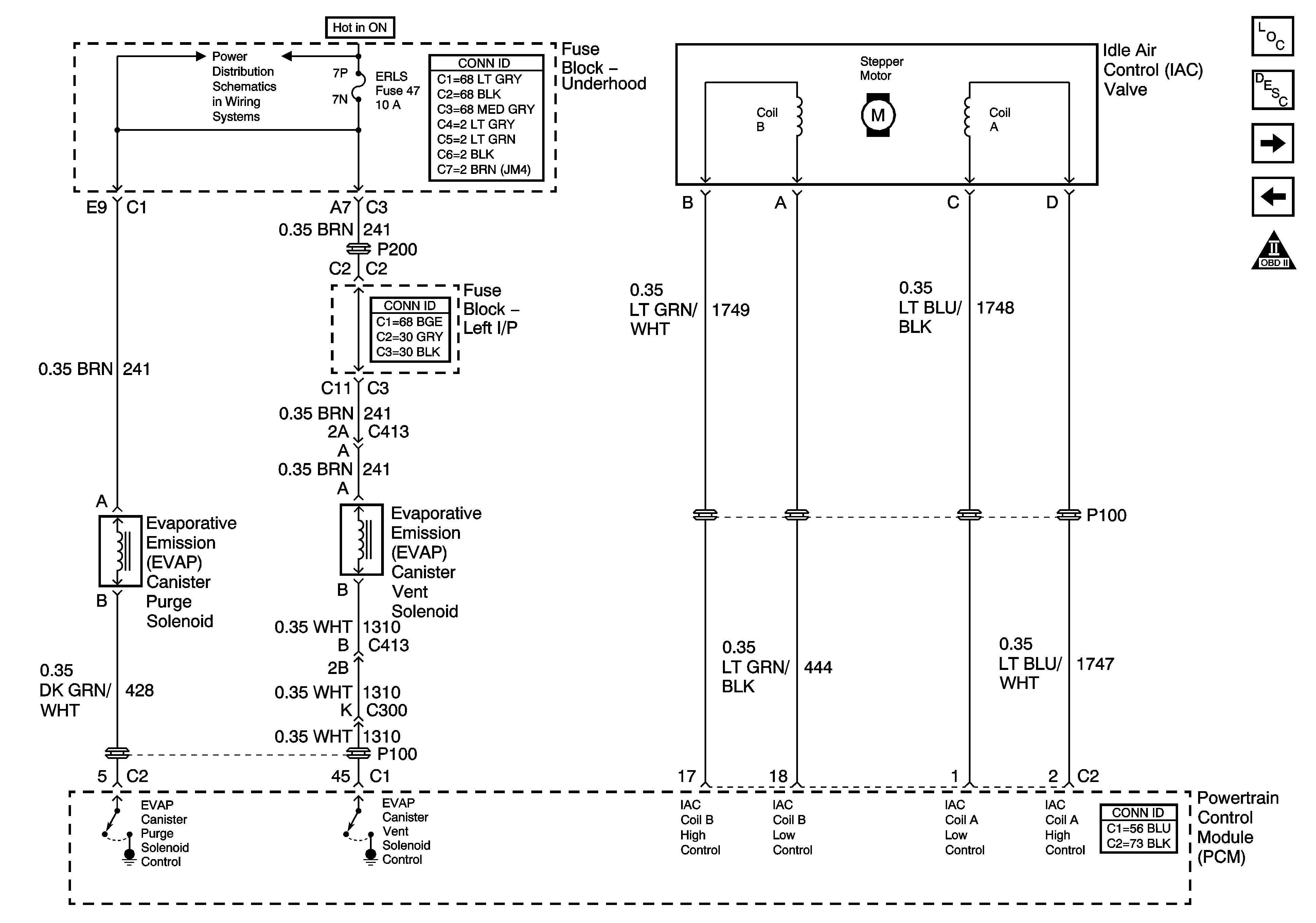
🢒 EVAP and IAC Controls
EVAP and IAC Controls
EVAP and IAC Controls
Master Electrical Component List
Powertrain Control Module Description
Controlled/Monitored Subsystem References
Fuel Injectors
Engine Controls Schematic Icons
HTR A/C IGN and ERLS Fuses