GM Service Manual Online
For 1990-2009 cars only
Makes
🢒
Chevrolet
🢒
2005
🢒
Classic
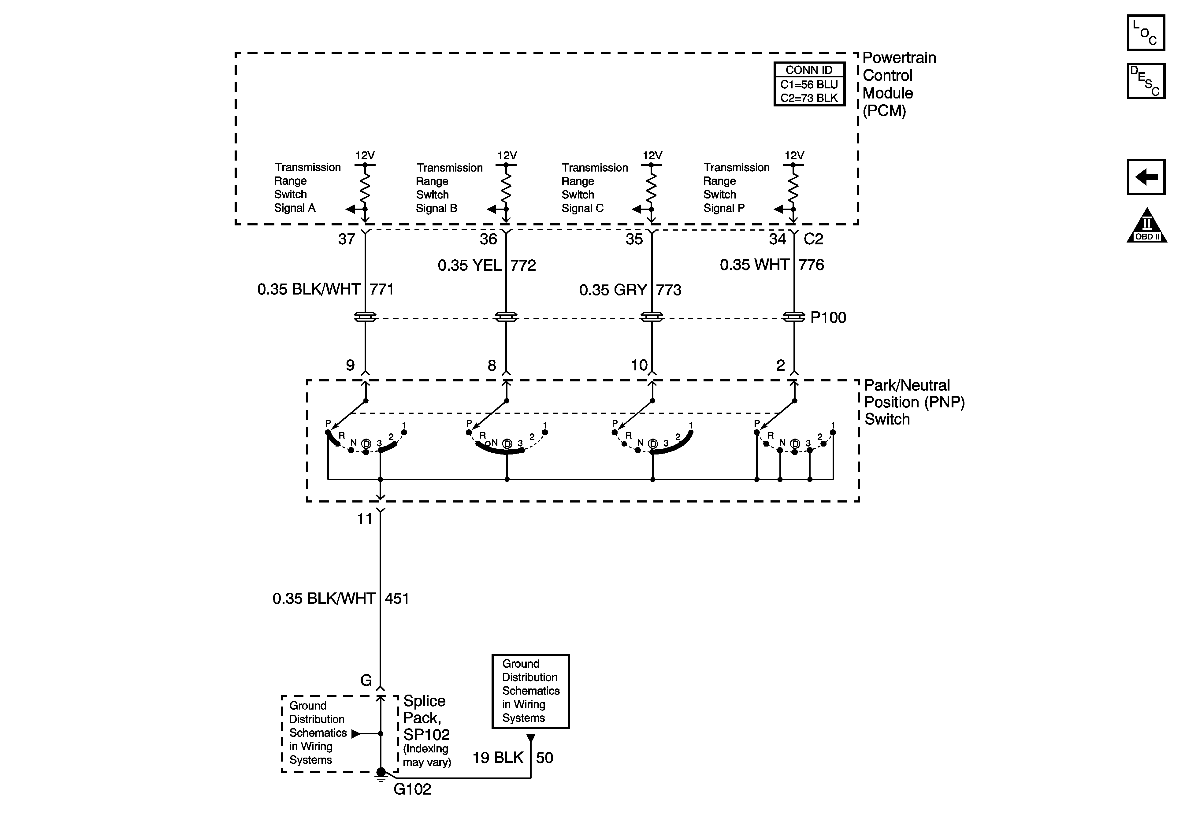
🢒 Park/Neutral Position (PNP) Switch
Park/Neutral Position (PNP) Switch
Park Neutral Position (PNP) Switch
Master Electrical Component List
Transmission General Description
Transmission Switches
Automatic Transmission Schematic Icons
SP102
SP102