GM Service Manual Online
For 1990-2009 cars only
Makes
🢒
Chevrolet
🢒
2005
🢒
Colorado Pickup - 2WD
🢒
Accessories
🢒
Keyless Entry
🢒 Keyless Entry Schematics
Master Electrical Component List
Keyless Entry System Description and Operation
Body Control Module (BCM) Programming/RPO Configuration
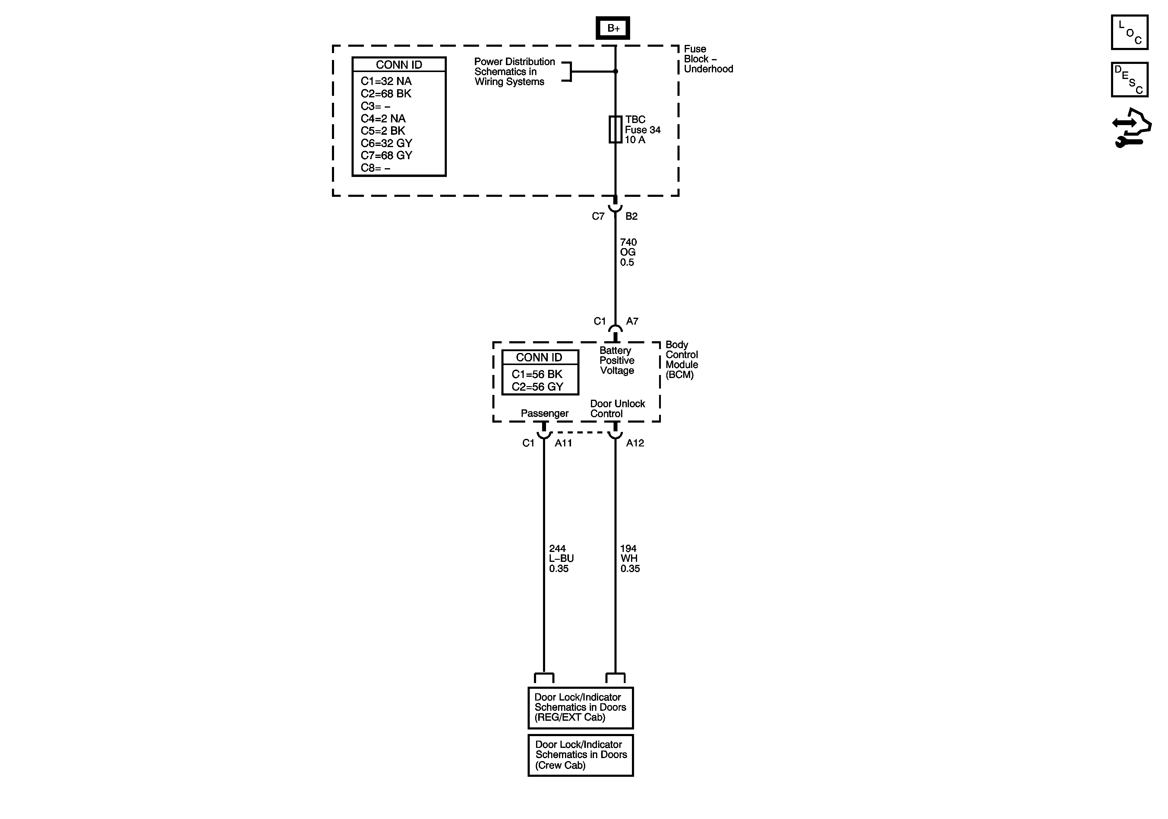
B+ Bus - Underhood Fuse Block
Power Door Locks - Regular and Extended Cab
Power Door Locks - Crew Cab