GM Service Manual Online
For 1990-2009 cars only
Makes
🢒
Chevrolet
🢒
1996
🢒
Corvette
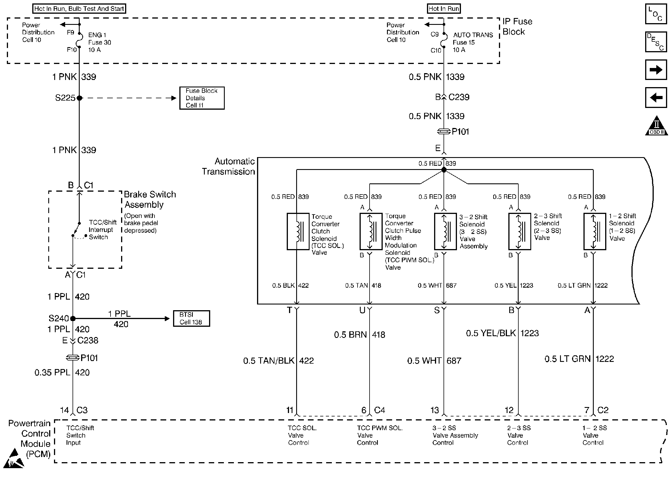
🢒 Brake Switch, TCC and Shift Solenoids
Brake Switch, TCC and Shift Solenoids
Brake Switch, TCC and Shift Solenoids
Automatic Transmission Components
Transmission General Information
TFP Switch, TFT Sensor, PC Solenoid Valve, and VSS
PCM Power and TCS Active Indicator
OBD II Symbol Description Notice
Handling ESD Sensitive Parts Notice