GM Service Manual Online
For 1990-2009 cars only

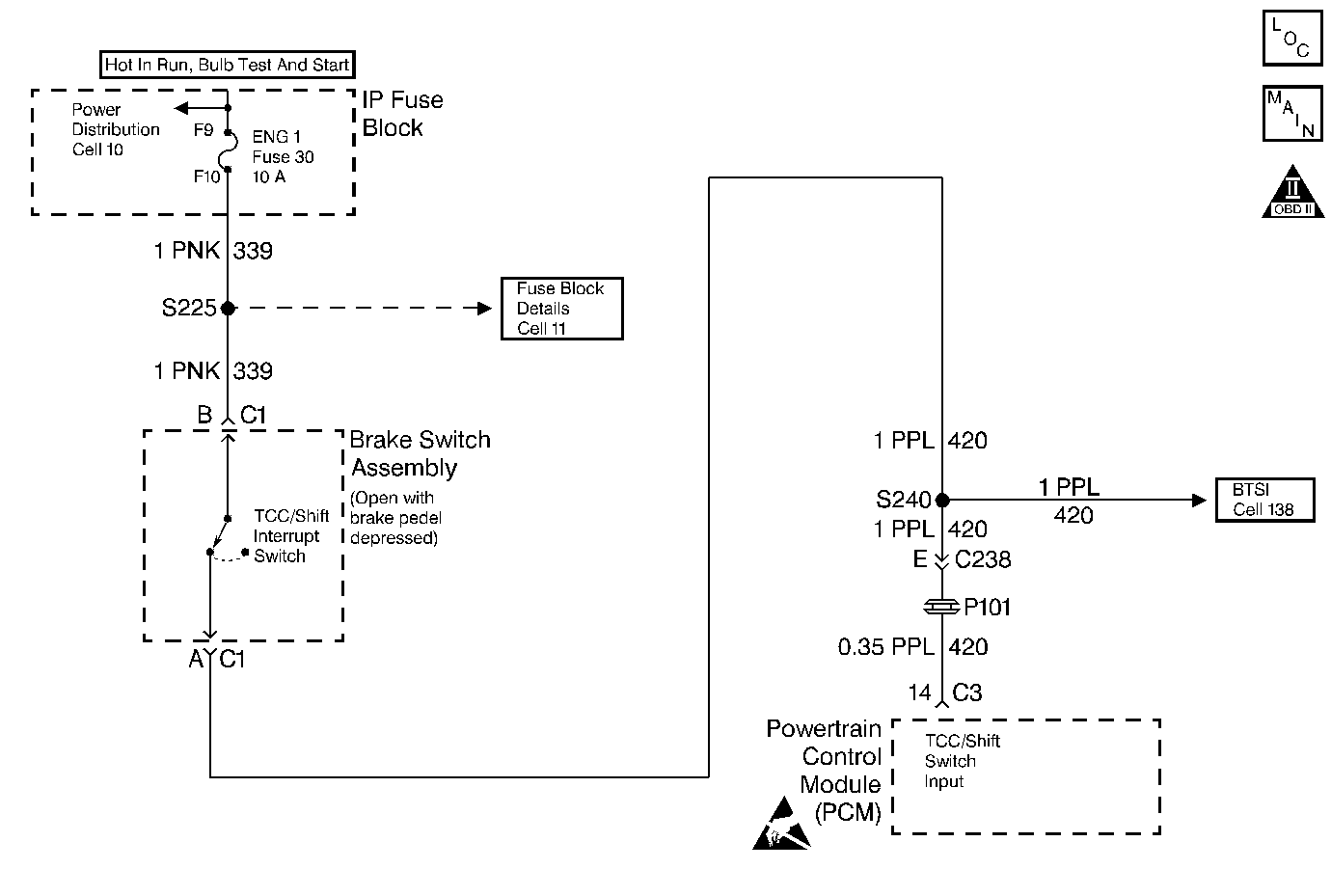
Object Number: 13277  Size: MF
Automatic Transmission Components
Brake Switch, TCC and Shift Solenoids
OBD II Symbol Description Notice
Handling ESD Sensitive Parts Notice

Circuit Description

The brake switch indicates the brake pedal status. The normally-closed brake switch supplies a B+ signal on circuit 420 to the PCM. The signal voltage circuit opens when you apply the brakes. The PCM uses this signal to de-energize the TCC Solenoid Valve.

DTC P0724 detects a closed brake switch during a deceleration. DTC P0724 is a type D DTC.

Conditions for Setting the DTC

    • No VSS DTC P0502
    • The PCM detects a closed brake switch/circuit (12 volts) for 2 seconds and the following events occur seven consecutive times:
       - The vehicle speed is greater than 32 km/h (20 mph) for 6 seconds;
       - Then the vehicle speed is between 8 and 32 km/h (5 and 20 mph) for 4 seconds;
       - Then the vehicle speed is less than 8 km/h (5 mph).

Action Taken When the DTC Sets

    • The freeze shift adapts from being updated.
    • The PCM does not illuminate the Malfunction Indicator Lamp (MIL).

Conditions for Clearing the DTC

    • A scan tool can clear the DTC from the PCM history. The PCM clears the DTC from the PCM history if the vehicle completes 40 warm-up cycles without a failure reported.
    • The PCM cancels the DTC default actions when the fault no longer exists and the ignition is OFF long enough in order to power down the PCM.

Diagnostic Aids

    • Inspect the wiring for any poor electrical connections at the PCM. Inspect the wiring at the TCC brake switch. Look for the following conditions:
       - A bent terminal
       - A backed out terminal
       - A damaged terminal
       - Poor terminal tension
       - A chafed wire
       - A broken wire inside the insulation
    • When diagnosing for an intermittent short or open condition, massage the wiring harness while watching the test equipment for a change.
    • Ask the customer about the customer's driving habits. Ask if the customer has any unusual driving conditions (e.g. stop-and-go, expressway, etc.).
    • Check for the most current calibration ID. Check for the latest bulletin.
    • Inspect the brake switch for proper mounting. Inspect the brake switch for proper adjustment.

Test Description

The numbers below refer to the step numbers on the diagnostic chart.

  1. This Step tests for voltage at the brake switch.

  2. This Step tests the brake switch.

DTC P0724 Brake Switch Circuit -- High Input

Step

Action

Value(s)

Yes

No

1

Was the Powertrain On-Board Diagnostic (OBD) System Check performed?

--

Go to Step 2

Go to Powertrain On Board Diagnostic (OBD) System Check

2

  1. Install the scan tool (tech 1) .
  2. With the engine OFF, turn the ignition switch to the RUN position.
  3. Important: Before clearing the DTCs, use the scan tool in order to record the Freeze Frame and the Failure Records for reference. The Clear Info function will erase the data.

  4. Record the DTC Freeze Frame and Failure Records.
  5. Apply the brake pedal. Release the brake pedal.

When you apply the brake pedal, does the scan tool display the TCC Brake Switch as Applied; then as Released when you release the brake?

--

Go to Diagnostic Aids

Go to Step 3

3

  1. Connect the test lamp to ground.
  2. Probe ignition feed circuit 339 at the brake switch.

Did the test lamp illuminate?

--

Go to Step 4

Go to Step 5

4

  1. Connect the test lamp to ground.
  2. Probe circuit 420 at the brake switch.

Did the test lamp illuminate?

--

Go to Step 6

Go to Step 8

5

Repair the open in ignition feed circuit 339 to the brake switch.

Is the repair complete?

--

Go to Step 13

--

6

Apply the brake pedal.

Is the test lamp OFF when you apply the brake pedal?

--

Go to Step 7

Go to Step 9

7

Apply the brake pedal. Release the brake pedal.

Does the scan tool display TCC Brake Switch as Applied when you apply the brake, and does the scan tool display Released when you release the brake pedal?

--

Go to Diagnostic Aids

Go to Step 11

8

Examine the brake switch for proper adjustment.

Did you find and correct a problem?

--

Go to Step 13

Go to Step 10

9

Inspect circuit 420 for a short to B+. Refer to Electrical Diagnosis, Section 8A.

Did you find a short?

--

Go to Step 13

Go to Step 10

10

Replace the brake switch. Refer to Brake Switch Replacement.

Is the replacement complete?

--

Go to Step 13

--

11

  1. Inspect the PCM connector terminals for the following conditions:
  2. • Damaged connector pins
    • Backed out connector pins
    • Weak terminal tension
  3. Repair the connectors if necessary.

Did you find and correct a problem?

--

Go to Step 13

Go to Step 12

12

Replace the PCM. Refer to Powertrain Control Module Replacement/Programming , Section 6.

Is the replacement complete?

--

Go to Step 13

--

13

  1. After the repair is complete, select DTC.
  2. Select Clear Info.
  3. Ensure that the PCM brake switch signal indicates 12 volts for 2 seconds with the brake pedal released.
  4. Select Specific DTC. Enter DTC P0724.

Has the test run and passed?

--

System OK

Begin the diagnosis again. Go to Step 1.