GM Service Manual Online
For 1990-2009 cars only

Object Number: 70217  Size: MF
Suspension Controls Components
Suspension Controls Schematics
Handling Electrostatic Discharge Sensitive Parts Notice

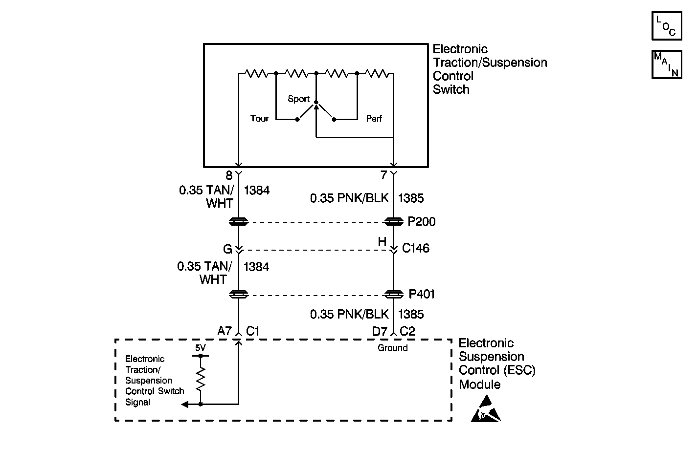
Circuit Description

The ESC module supplies 5 volts and a ground to the ride control switch's voltage divider circuit. The ride control switch changes the resistance value of the switch circuit which alters the voltage level at the ESC module terminal A7. There are three possible voltage levels, and each voltage level corresponds to a switch selection position (TOUR, SPORT, PERF). The ESC module monitors the voltage level received from the ride control switch, and will set a DTC if the detected voltage level is not within the calibrated amount.

Conditions for Setting the DTC

    • The ESC module detects that the ride control switch voltage level is 3.5-4.5 volts.
    • The condition must be detected for 10 seconds.

Action Taken When the DTC Sets

    • Stores a DTC C1791 in the ESC memory.
    • Provides shock absorber solenoid control based on the SPORT setting.
    • Sends a message to the IPC to display the SERVICE RIDE CONTROL message.

Conditions for Clearing the DTC

    • A history DTC will clear after 100 consecutive ignition cycles if the condition for the malfunction is no longer present.
    • The ESC module detects that the ride control switch voltage level is less than 3.5 volts.
    • The On-Board Diagnostic (Clearing DTCs) feature.
    • Using a scan tool.

Diagnostic Aids

    • The following conditions may cause an intermittent malfunction to occur:
       - There is an intermittent short or open in the ride control switch circuit.
       - The ride control switch is in-between switch positions.
    • A DTC C1791 may set if the ride control switch terminals are making poor contact to the switch, or if there is a small amount of corrosion on the terminals. Check for these conditions first before attempting to use the diagnostic table, as this may correct the condition.
    • If the DTC is a history DTC, the problem may be intermittent. Using a scan tool, monitor the ride control switch voltage while moving the wiring and the connectors. This can often cause the malfunction to appear.

Test Description

The numbers below refer to the step numbers on the diagnostic table:

  1. This step checks if the ESC module is able to receive the ride control switch and respond to the change in resistance values.

  2. This step measures the internal resistance of the ride control switch.

  3. This step checks if the ESC module is able to send a correct reference signal to the ride control switch.

  4. This step checks if the ESC module can respond to a change in resistance values.

  5. This step checks for an intermittent malfunction and requests a thorough inspection of the related ride control switch circuit wiring and connectors.

DTC C1791 -- Ride Control Switch Contact Malfunction

Step

Action

Value(s)

Yes

No

1

Was the RTD Diagnostic System Check performed?

--

Go to Step 2

Go to RTD Diagnostic System Check

2

  1. Turn ON the ignition switch.
  2. Using a scan tool, monitor the ride control switch voltage.
  3. Note the voltage readings in the following switch positions:
  4. • PERF
    • SPORT
    • TOUR

Is the voltage reading indicated on the scan tool within the specified value?

0.5-3.5 V

Go to Step 6

Go to Step 3

3

  1. Turn OFF the ignition switch.
  2. Disconnect the ride control switch connector.
  3. Inspect that the ride control switch is not in-between switch positions.
  4. At the ride control switch, measure the switch resistance between terminals 7 and 8 in the switch positions shown in the values column.

Is the resistance of the ride control switch within the specified values?

PERF: 250-350 ohms

SPORT: 80-180 ohms

TOUR: 25-75 ohms

Go to Step 4

Go to Step 10

4

  1. Turn ON the ignition switch.
  2. At the harness side of the ride control switch connector, measure the voltage between terminal 8 and ground.

Was the voltage indicated near the specified value?

5.0 V

Go to Step 5

Go to Step 8

5

  1. Using a scan tool, monitor the ride control switch voltage.
  2. At the harness side of the ride control switch connector, jumper terminals 8 to 7.

Is the voltage indicated on the scan tool within the specified value?

0-0.5 V

Go to Step 6

Go to Step 9

6

Check the ride control switch circuit for an intermittent malfunction. Refer to Diagnostic Aids.

Was an intermittent malfunction found and repaired?

--

Go to Step 12

Go to Step 7

7

  1. Turn OFF the ignition switch.
  2. Connect or install any connectors or components that were disconnected or removed.
  3. Turn ON the ignition switch.
  4. Using a scan tool, select clear DTCs.

Is DTC C1791 current?

--

Go to Step 11

System OK

8

Check for a short (to ground or to voltage) or an open on CKT 1384.

Was a circuit problem found and repaired?

--

Go to Step 12

Go to Step 11

9

Check for a short to voltage or an open on CKT 1385.

Was a circuit problem found and repaired?

--

Go to Step 12

Go to Step 11

10

Replace the ride control switch. Refer to Ride Control Switch .

Is the repair complete?

--

Go to Step 12

--

11

Replace the ESC module. Refer to Electronic Suspension Control Module .

Is the repair complete?

--

Go to Step 12

--

12

  1. Turn OFF the ignition switch.
  2. Connect or install any connectors or components that were disconnected or removed.
  3. Turn ON the ignition switch.
  4. Using a scan tool, select clear DTCs.

Is the repair complete?

--

Go to RTD Diagnostic System Check

--