GM Service Manual Online
For 1990-2009 cars only

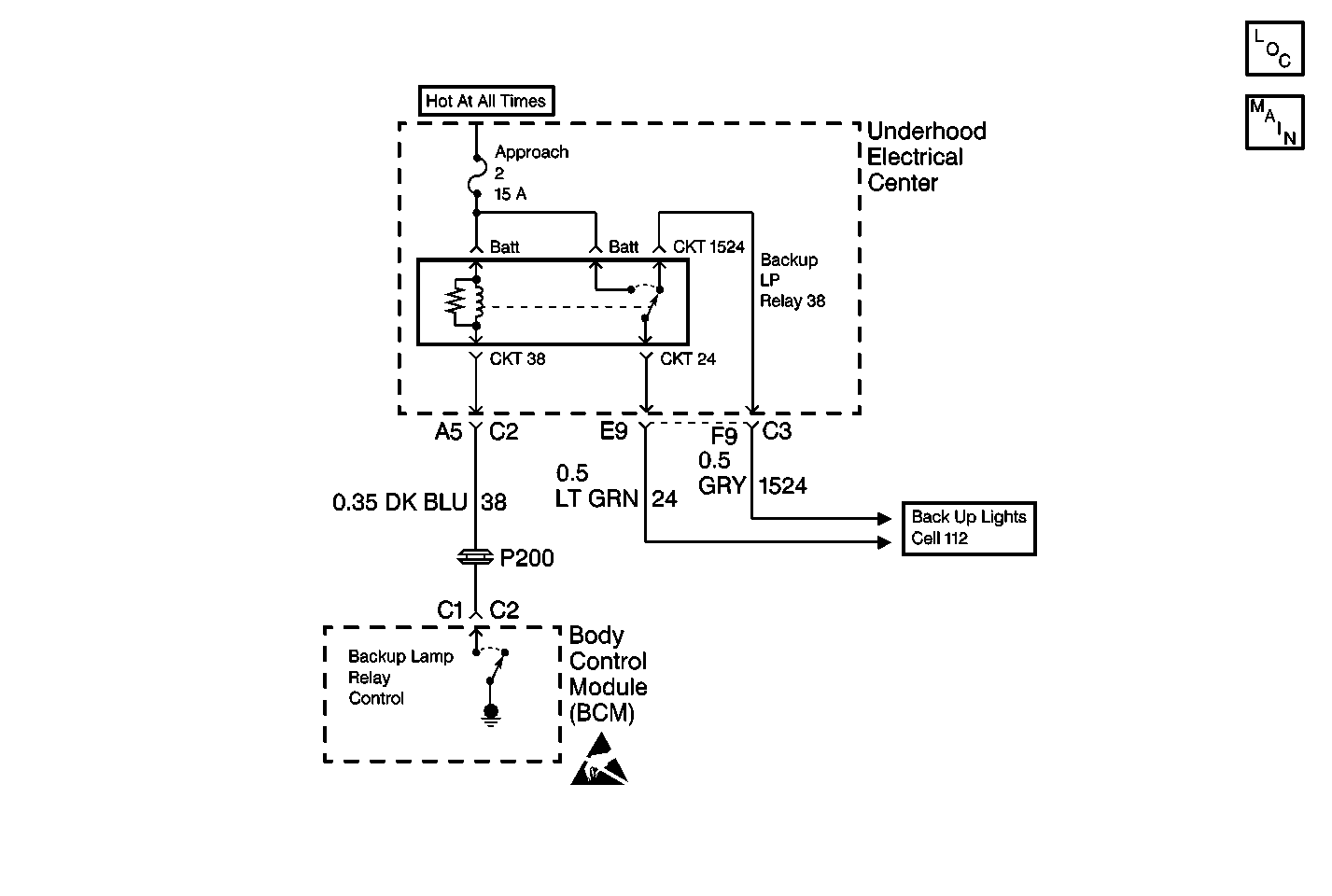
Object Number: 74051  Size: MF
Body Control Module Components
Body Control System Schematics
Backup Lamp Schematics
Handling Electrostatic Discharge Sensitive Parts Notice

Circuit Description

The backup lamp circuit is part of a standard backup lamp system except for the addition of a relay and the BCM providing a control circuit. The BCM can ground CKT 38 in order to energize the relay and turn ON the backup lamps, allowing the backup lamps to be used for UTD and approach lighting functions. The BCM monitors the voltage level on the backup lamp control circuit. When the BCM commands the relay ON, the voltage level on the control circuit should be low. When the relay is OFF, the voltage level should be high. If the BCM detects a voltage level other than expected, a malfunction is present and a DTC will set.

Conditions for Setting the DTC

    • The BCM detects a low voltage level (an open or a short to ground) in CKT 38.
    • The BCM can only test for this condition when the BCM is not attempting to energize the backup lamp relay.
    • The condition must be present for 2 seconds.

Action Taken When the DTC Sets

    • Stores a DTC B2482 in the BCM memory.
    • No driver warning message will be displayed for this DTC.

Conditions for Clearing the DTC

    • This DTC requires an ignition cycle in order to change from current to history.
    • The BCM requests an active backup lamp relay.
    • The BCM no longer detects a high voltage level in CKT 38 only when the BCM is not attempting to energize the backup lamp relay.
    • A history DTC will clear after 50 consecutive ignition cycles if the condition for the malfunction is no longer present.
    • Use the IPC clearing DTCs feature.
    • Use a scan tool.

Diagnostic Aids

    • The following conditions may cause an intermittent malfunction:
       - There is an intermittent open or short to ground in CKT 38.
       - There are poor connections at the BCM, the underhood electrical center, or the backup lamp relay terminals.
       - There is an internal backup lamp relay open or short.
    • If CKT 38 is shorted to ground, the backup lamp will remain ON at all times. If CKT 38 is open, the backup lamp will remain OFF at all times.
    • If the DTC is a history DTC, the problem may be intermittent. Perform the tests shown while moving related wiring and connectors. This can often cause the malfunction to occur. Refer to Intermittents and Poor Connections .

Test Description

The numbers below refer to the step numbers on the diagnostic table:

  1. This test determines if there is an open in the underhood electrical center or fuse.

  2. This test determines if there is a short to ground in the backup lamp circuit.

  3. This test checks the resistance of the backup lamp relay coil.

  4. This test checks for an internal backup lamp relay short.

  5. This test checks for an internal backup lamp relay short.

  6. This test checks if the BCM can properly control the backup lamp relay by commanding the BCM to ground CKT 38.

  7. This test determines if there is an open in CKT 38.

  8. This test determines if the BCM is causing the short to ground.

DTC B2482 -- Backup Lamp Relay Circuit Open or Short to Ground

Step

Action

Value(s)

Yes

No

1

Were you sent here from the BCM Diagnostic System Check?

--

Go to Step 2

Go to Diagnostic System Check - Body Control System

2

  1. Turn OFF the ignition switch.
  2. Disconnect the backup lamp relay.
  3. Turn ON the ignition switch.
  4. With a test light connected to ground, probe the backup lamp relay BATT terminal at the underhood electrical center. Refer to Electrical Center Identification Views for relay circuit location.

Is the test light ON?

--

Go to Step 3

Go to Step 14

3

  1. Turn OFF the ignition switch.
  2. With a test light connected to B+, probe CKT 38 at the underhood electrical center backup lamp relay terminal. Refer to Electrical Center Identification Views for relay circuit location.

Is the test light ON?

--

Go to Step 11

Go to Step 4

4

Measure the resistance between the backup lamp relay terminals 1 and 2 (or 85 and 86).

Is the resistance within specifications?

75-105 ohms

Go to Step 5

Go to Step 13

5

Check for continuity between the backup lamp relay terminals 1 and 3 (or 85 and 87).

Is there continuity?

--

Go to Step 13

Go to Step 6

6

Check for continuity between the backup lamp relay terminals 1 and 5 (or 85 and 30).

Is there continuity?

--

Go to Step 13

Go to Step 7

7

  1. Turn ON the ignition switch.
  2. With a test light connected to B+, probe CKT 38 at the underhood electrical center backup lamp relay terminal. Refer to Electrical Center Identification Views for relay circuit location.
  3. Using a scan tool, command the backup lamp relay ON and OFF.

Does the test light turn ON and OFF with each command?

--

Go to Step 9

Go to Step 8

8

  1. Turn OFF the ignition switch.
  2. Disconnect the BCM connector C2.
  3. Check for continuity between BCM connector terminal (harness side) C1 and CKT 38 at the underhood electrical center backup lamp relay terminal. Refer to Electrical Center Identification Views for relay circuit location.

Is there continuity?

--

Go to Step 16

Go to Step 15

9

Check the backup lamp circuit for an intermittent malfunction. Refer to Diagnostic Aids.

Was a problem found and repaired?

--

Go to Step 17

Go to Step 10

10

  1. Turn OFF the ignition switch.
  2. Reconnect or install any connectors or components that were disconnected or removed.
  3. Turn ON the ignition switch.
  4. Clear any DTCs. Refer to Clearing DTCs .
  5. Using a scan tool, cycle the backup lamp relay.

Does DTC B2482 set as current?

--

Go to Step 16

System OK

11

  1. Disconnect the BCM connector C2.
  2. With a test light connected to B+, probe CKT 38 at the underhood electrical center backup lamp relay terminal. Refer to Electrical Center Identification Views for relay circuit location.

Is the test light ON?

--

Go to Step 12

Go to Step 16

12

Locate and repair the short to ground in the underhood electrical center or in CKT 38.

Is the circuit repair complete?

--

Go to Step 17

--

13

Replace the backup lamp relay.

Is the replacement complete?

--

Go to Step 17

--

14

  1. Repair the open in the ignition feed to the underhoood electrical center.
  2. If a fuse is open, locate and repair the short in the circuit connected to the open fuse.

Is the circuit repair complete?

--

Go to Step 17

--

15

Locate and repair the open in the underhood electrical center or in CKT 38.

Is the circuit repair complete?

--

Go to Step 17

--

16

  1. Replace the BCM. Refer to Body Control Module Replacement .
  2. Program the BCM. Refer to Body Control Module (BCM) Programming/RPO Configuration .

Is the replacement complete?

--

Go to Step 17

--

17

  1. Turn OFF the ignition switch.
  2. Reconnect or install any connectors or components that were disconnected or removed.
  3. Turn ON the ignition switch.
  4. Clear any DTCs. Refer to Clearing DTCs .

Are all DTCs cleared?

--

Go to Diagnostic System Check - Body Control System

--