GM Service Manual Online
For 1990-2009 cars only

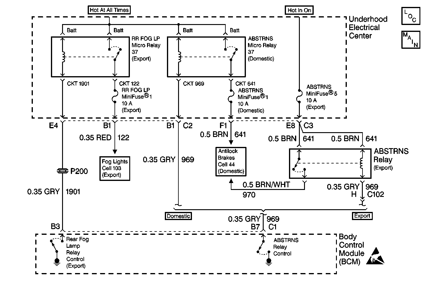
Object Number: 210119  Size: MF
Body Control System Schematics
Body Control Module Components
Fog Lights Schematics
ABS/TCS Schematics
Handling Electrostatic Discharge Sensitive Parts Notice

Circuit Description

The BCM monitors information sent between the Powertrain Control Module (PCM) and the ABS system on the serial data line. The BCM can determine if the ABS system can communication this information properly to the PCM. If the ABS system is unable to communicate properly with the BCM or PCM, then the BCM will disable the ABS system by de-energizing the ABSTRANS relay. The BCM supplies power to the ABS system through the ABSTRANS relay by applying a ground to CKT 969 in order to energize the relay. If the BCM detects a malfunction with the ABS system, then the BCM will de-energize the ABSTRANS relay disablabling ABS functions and a DTC will set.

Conditions for Setting the DTC

    • The BCM is unable to communicate with the PCM and/or ABS system.
    • The PCM is unable to receive torque level information from the ABS system.
    • If DTC U1255 is set in the BCM memory as current.
    • The BCM can only test for this condition when the ignition is in the ON position.
    • The condition must be present for 5 seconds.

Action Taken When the DTC Sets

    • Stores a DTC B0844 in the BCM memory.
    • Disables the ABS system by de-energizing the ABSTRANS relay.
    • Sends a message to the IPC to display the SERVICE VEHICLE SOON message.

Conditions for Clearing the DTC

    • This DTC requires an ignition cycle in order to change from current to history.
    • The BCM no longer detects a communication malfunction with the PCM and/or ABS system.
    • The PCM receives valid torque level information from the ABS system.
    • A history DTC will clear after 50 consecutive ignition cycles if the condition for the malfunction is no longer present.
    • Use the IPC clearing DTCs feature.
    • Use a scan tool.

Diagnostic Aids

Diagnostic Aids

    • If the problem is an intermittent loss of communications. Repair this condition first before diagnosing a DTC B0844.
    • If the DTC B0844 is history, check the ABS system for any one of the following intermittent malfunction:
       - There is an intermittent open or short (to ground or voltage) in the serial data line.
       - The BCM loss communications with the PCM or ABS system.
       - The PCM loss communications with the ABS system.
       - Damaged or star connector terminals.
       - Intermittent loss of power or ground to the PCM or ABS system.
       - Open or shorted ABSTRANS relay.
       - The PCM is unable to receive torque level information from the ABS system.

Test Description

The numbers below refer to the step numbers on the diagnostic table:

  1. This test checks if communications can be established between the scan tool and the ABS system. If the scan tool cannot communicate with the ABS system. Refer to ABS Diagnostic System Check in ABS Brakes.

  2. This test checks if communications can be established between the scan tool and the PCM. If the scan tool cannot communicate with the PCM. Refer to Powertrain On Board Diagnostic (OBD) System Check in Engine Controls.

Step

Action

Value(s)

Yes

No

1

Were you sent here from the BCM Diagnostic System Check?

--

Go to Step 2

Go to Diagnostic System Check - Body Control System

2

  1. Turn OFF the ignition switch.
  2. Install a scan tool.
  3. Turn ON the ignition switch.
  4. Attempt to establish communications with the ABS system.

Does the scan tool communicate with the ABS system?

--

Go to Step 3

Go to Diagnostic System Check

3

Attempt to establish communications with the PCM.

Does the scan tool communicate with the PCM?

--

Go to Step 4

Go to Powertrain On Board Diagnostic (OBD) System Check

4

Check for an intermittent malfunction. Refer to Diagnostic Aids.

Was a problem found and repaired?

--

Go to Step 5

Go to Diagnostic System Check

5

  1. Turn OFF the ignition switch.
  2. Connect or install any connectors or components that were disconnected or removed.
  3. Clear all DTCs. Refer to Clearing DTCs .

Does DTC B0844 reset?

--

Go to Diagnostic System Check

Go to Diagnostic System Check - Body Control System