GM Service Manual Online
For 1990-2009 cars only
Makes
🢒
Chevrolet
🢒
2000
🢒
Corvette
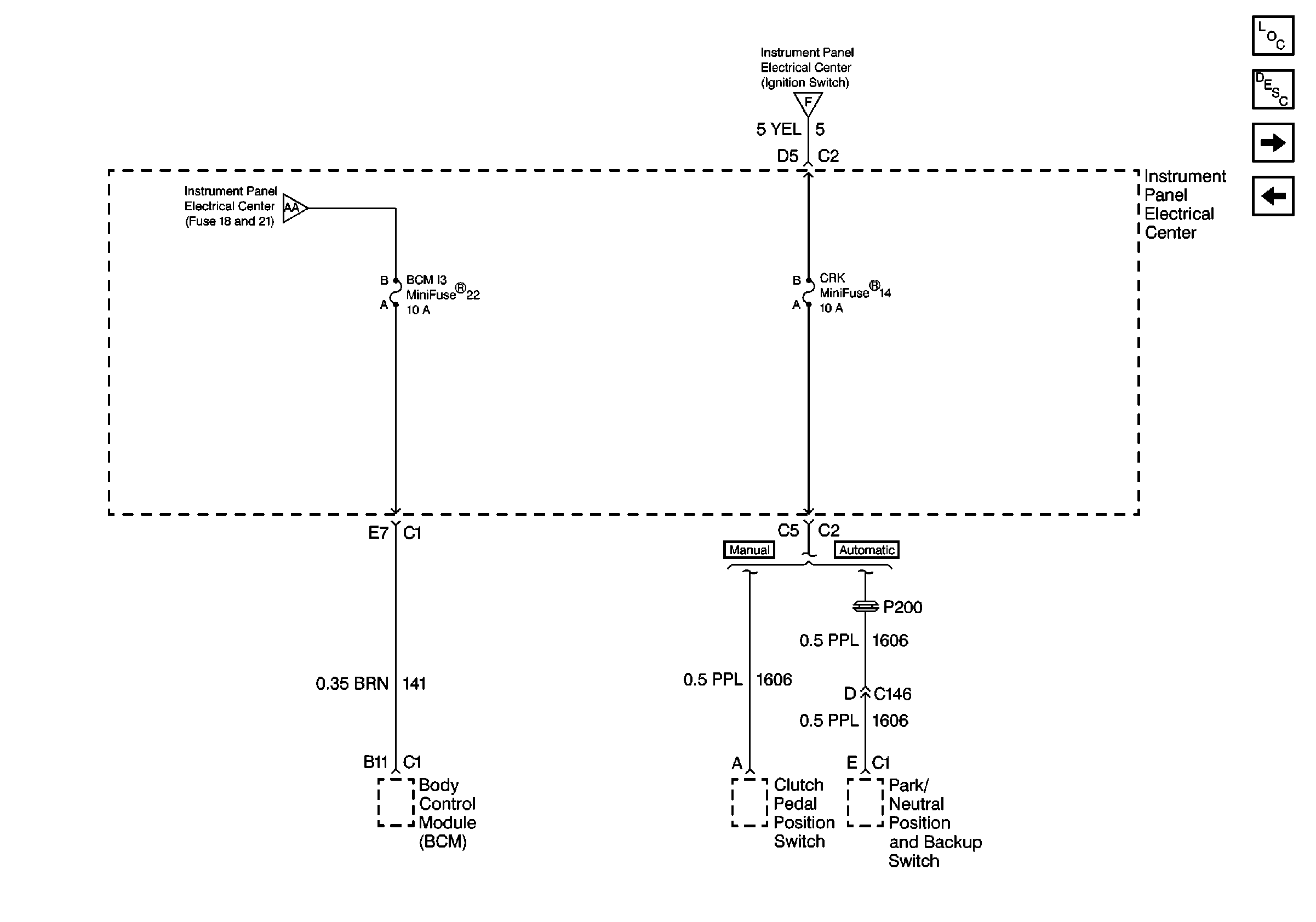
🢒 Cell 10: I/P Fuses 22, 14
Cell 10: I/P Fuses 22, 14
Cell 10: I/P Fuses 22, 14
Power and Grounding Components
Cell 10: I/P Relays 40, 38
Cell 10: I/P Fuses 15, 16, 13, 20, 19
Cell 10: I/P Fuses 50, 47, Ignition Switch
Cell 10: I/P Fuses 21, 18, 48, Relay 44