GM Service Manual Online
For 1990-2009 cars only
Makes
🢒
Chevrolet
🢒
2000
🢒
Corvette
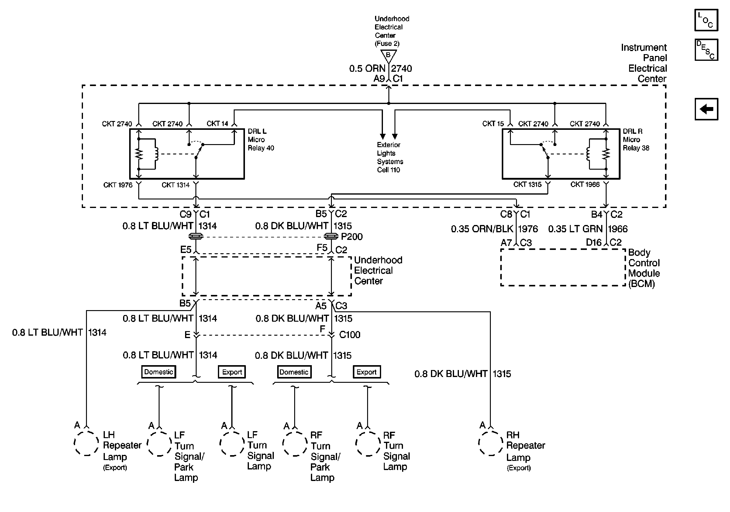
🢒 Cell 10: I/P Relays 40, 38
Cell 10: I/P Relays 40, 38
Cell 10: I/P Relays 40, 38
Power and Grounding Components
Cell 10: I/P Fuses 22, 14
Cell 10: U/H Fuses 49, 11, 6, 2, Relays 45, 36, 39, 38