GM Service Manual Online
For 1990-2009 cars only
Makes
🢒
Chevrolet
🢒
2000
🢒
Corvette
🢒 Cell 104: Headlamp Door Control
Cell 104: Headlamp Door Control
Cell 104: Headlamp Door Control
Lighting Systems Components
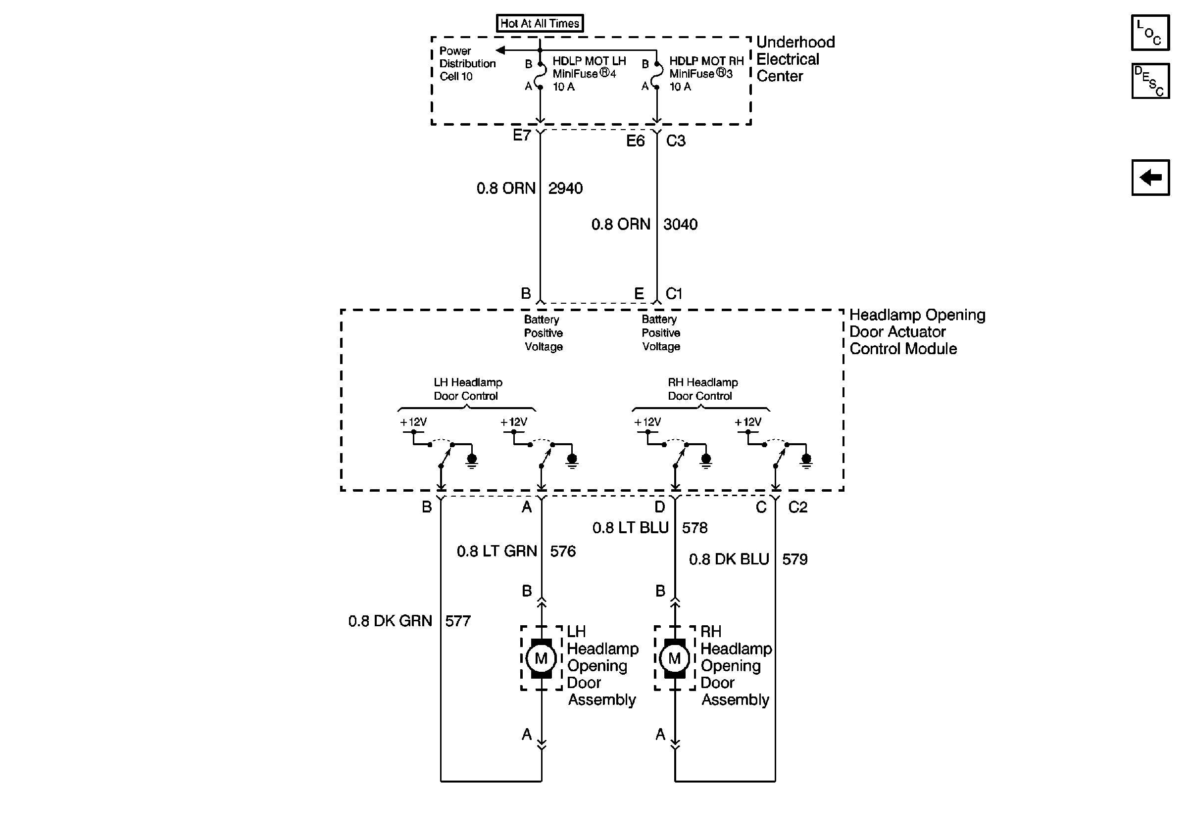
Headlight Doors Circuit Description
Cell 104: Power and Ground
Cell 10: U/H Fuses 52, 53, 4, 3, 23