GM Service Manual Online
For 1990-2009 cars only
Makes
🢒
Chevrolet
🢒
2000
🢒
Corvette
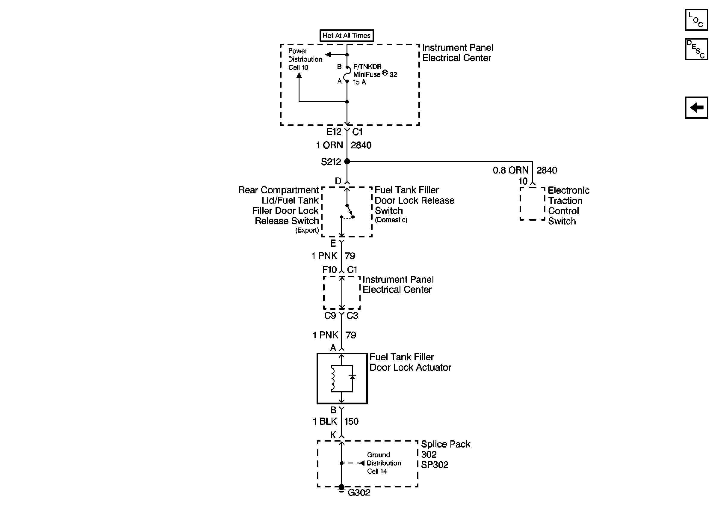
🢒 Cell 134: Fuel Tank Filler Door Release
Cell 134: Fuel Tank Filler Door Release
Cell 134: Fuel Tank Filler Door Release
Body Rear End Components
Cell 134: Folding Top Control
Cell 14: SP302, G302
Cell 10: I/P Fuses 32, 26, Relay 39