GM Service Manual Online
For 1990-2009 cars only
Makes
🢒
Chevrolet
🢒
2000
🢒
Corvette
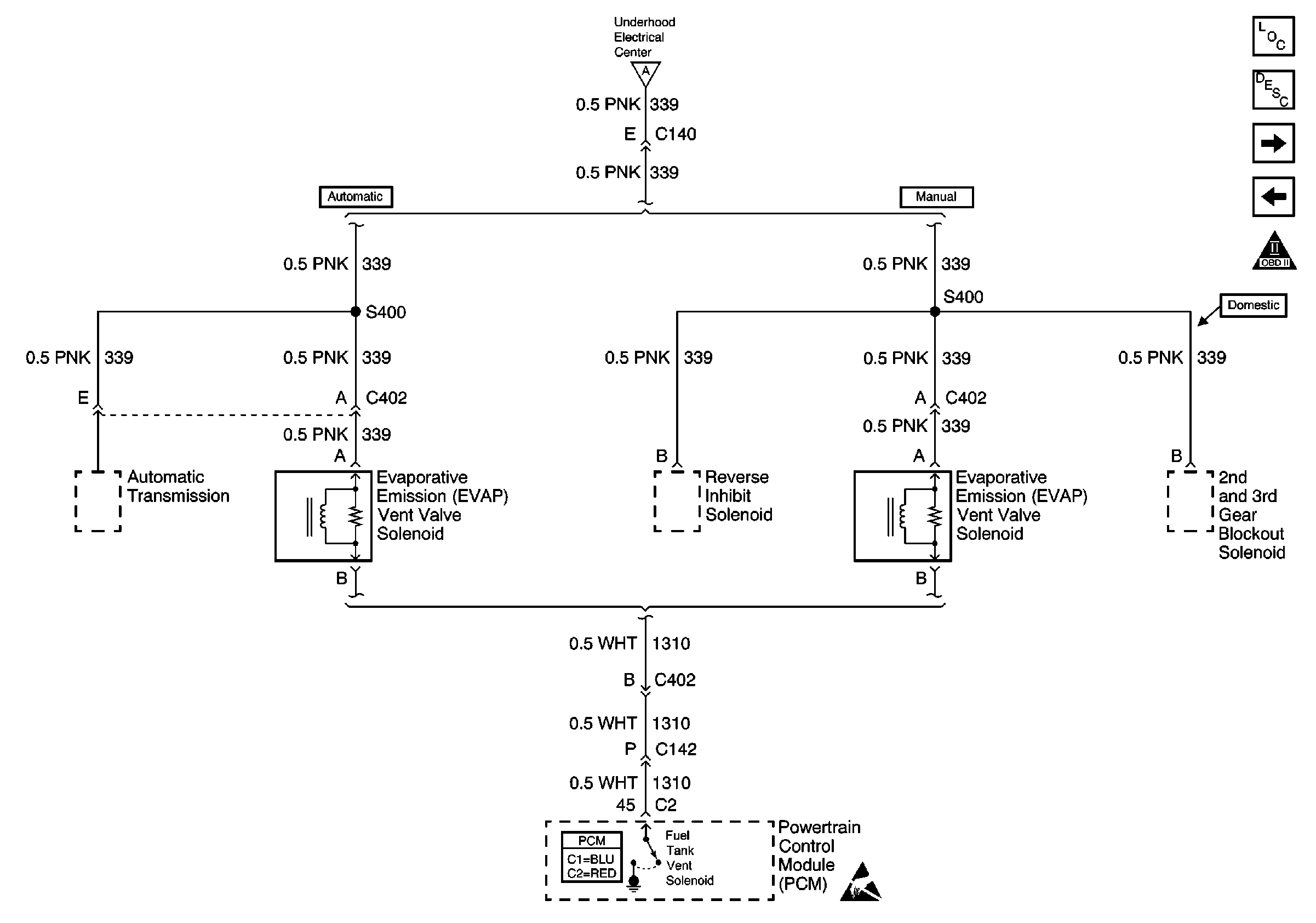
🢒 Evaporative Emissions Vent Valve Solenoid
Evaporative Emissions Vent Valve Solenoid
Evaporative Emissions Vent Valve Solenoid
Engine Controls Components
Manual Transmission Controls
EVAP and AIR
OBD II Symbol Description Notice
Handling ESD Sensitive Parts Notice
EVAP and AIR