GM Service Manual Online
For 1990-2009 cars only

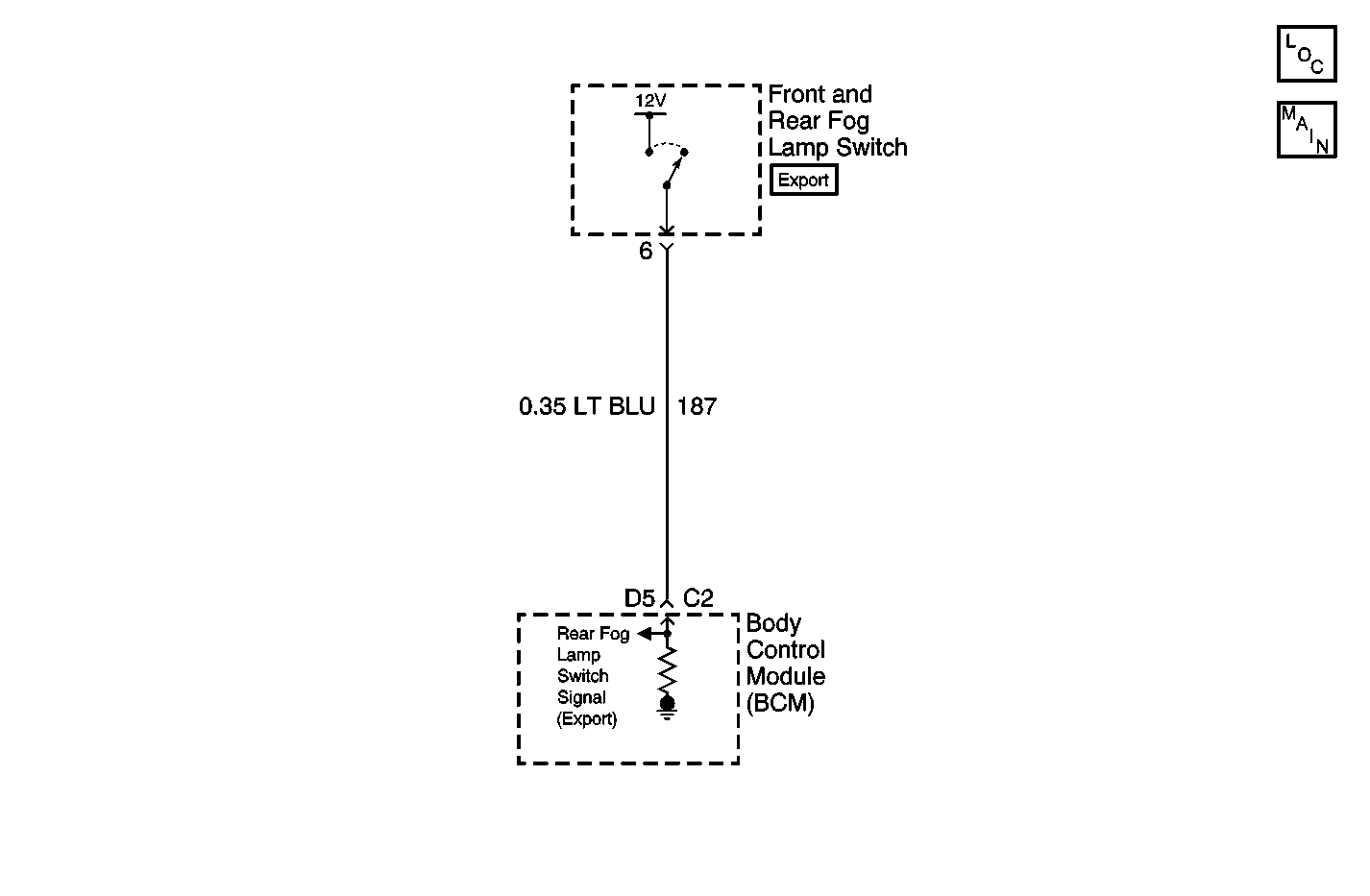
Object Number: 538773  Size: MF
Power and Grounding Components
Body Control System Schematics

Circuit Description

The rear fog lamp switch circuit provides a direct battery input to the BCM when the switch is pressed. This input allows the BCM to detect a rear fog lamps switch ON or OFF request. If the BCM detects battery voltage on the rear fog lamp switch signal circuit when the rear lamps are OFF, the BCM will turn ON the lamps by energizing the rear fog lamp relay. If the BCM detects battery voltage after the rear fog lamps ON command, the BCM will turn OFF the lamps. The BCM monitors the rear fog lamp switch signal circuit in order to determine how long the voltage has been applied. If the voltage is applied for longer than expected, a malfunction is present and a DTC will set.

Conditions for Setting the DTC

The BCM detects battery voltage on the rear fog lamp switch signal circuit for longer than 60 seconds.

Action Taken When the DTC Sets

    • Stores a DTC B2408 in the BCM memory.
    • No driver warning message will be displayed for this DTC.

Conditions for Clearing the DTC

    • The BCM no longer detects battery voltage on the rear fog lamp switch signal circuit for longer than 60 seconds.
    • A history DTC will clear after 50 consecutive ignition cycles if the condition for the malfunction is no longer present.
    • Use the IPC clearing DTCs feature.
    • Use a scan tool.

Diagnostic Aids

    • The following conditions may cause an intermittent malfunction:
       - There is an intermittent short to voltage in the rear fog lamp switch signal circuit.
       - The rear fog lamp switch is internally shorted to voltage or is sticking.
       - The rear fog lamp switch is pressed for longer than 60 seconds.
    • If the rear fog lamp switch signal circuit is shorted to voltage, the rear fog lamps will remain ON or OFF at all times depending on whether the lamps were ON or OFF when the short occurred. If the short occurred when the lamps were ON, the lamps will remain OFF at all times. If the short occurred when the lamps were OFF, the lamps will remain ON at all times. The BCM will remember whether the lamps were ON or OFF even if the ignition is switched OFF.
    • If the DTC is a history DTC, the problem may be intermittent. Perform the tests shown while moving related wiring and connectors. This can often cause the malfunction to occur. Refer to Intermittents and Poor Connections .

Test Description

The number(s) below refer to the step number(s) on the diagnostic table.

  1. Tests for the normal state of the rear fog light switch using a scan tool. The scan tool will display the normal state as INACTIVE, and ACTIVE when the switch is activated.

  2. Tests if the BCM is able to detect a change in rear fog light switch state. The scan tool will display the normal state as INACTIVE, and ACTIVE when the switch is activated.

  3. Tests for a stuck or shorted rear fog light switch. If the rear fog light switch is stuck or shorted, the state will change from ACTIVE to INACTIVE when the rear fog light switch is disconnected.

  4. Tests for a short to voltage in the rear fog light switch signal circuit.

  5. When the BCM is replaced, use a scan tool to perform the BCM RPO Reprogram procedure. Refer to Body Control Module (BCM) Programming/RPO Configuration .

Step

Action

Value(s)

Yes

No

1

Did you perform the BCM Diagnostic System Check?

--

Go to Step 2

Go to Diagnostic System Check - Body Control System

2

  1. Install a scan tool.
  2. Turn ON the ignition, with the engine OFF.
  3. With a scan tool, observe the Rear Fog Light Switch parameter in the BCM data list.

Does the scan tool display INACTIVE?

--

Go to Step 3

Go to Step 4

3

  1. Activate the rear fog light switch.
  2. With the scan tool, observe the Rear Fog Light Switch parameter.

Does the Rear Fog Light Switch parameter change state?

--

Go to Diagnostic Aids

Go to Step 4

4

  1. Turn OFF the ignition.
  2. Disconnect the rear fog light switch.
  3. Turn ON the ignition, with the engine OFF.
  4. With a scan tool, observe the Rear Fog Light Switch parameter.

Does the scan tool display INACTIVE?

--

Go to Step 7

Go to Step 5

5

Test the signal circuit of the rear fog light switch for a short to voltage. Refer to Circuit Testing and Wiring Repairs in Wiring Systems.

Did you find and correct the condition?

--

Go to Step 10

Go to Step 6

6

Inspect for poor connections at the harness connector of the BCM. Refer to Testing for Intermittent Conditions and Poor Connections and Connector Repairs in Wiring Systems.

Did you find and correct the condition?

--

Go to Step 10

Go to Step 8

7

Inspect for poor connections at the harness connector of the rear fog light switch. Refer to Testing for Intermittent Conditions and Poor Connections and Connector Repairs in Wiring Systems.

Did you find and correct the condition?

--

Go to Step 10

Go to Step 9

8

Important: Perform the BCM RPO Reprogram procedure. Refer to Body Control Module (BCM) Programming/RPO Configuration .

Replace the BCM. Refer to Body Control Module Replacement .

Did you complete the replacement?

--

Go to Step 10

--

9

Replace the rear fog light switch. Refer to Fog Lamp Switch Replacement in Lighting.

Did you complete the replacement?

--

Go to Step 10

--

10

  1. Use the scan tool in order to clear the DTCs.
  2. Operate the vehicle within the Conditions for Running the DTC as specified in the supporting text.

Does the DTC reset?

--

Go to Step 2

System OK