GM Service Manual Online
For 1990-2009 cars only

Object Number: 625426  Size: MF
Memory Seats Schematics
Power Seat Systems Components

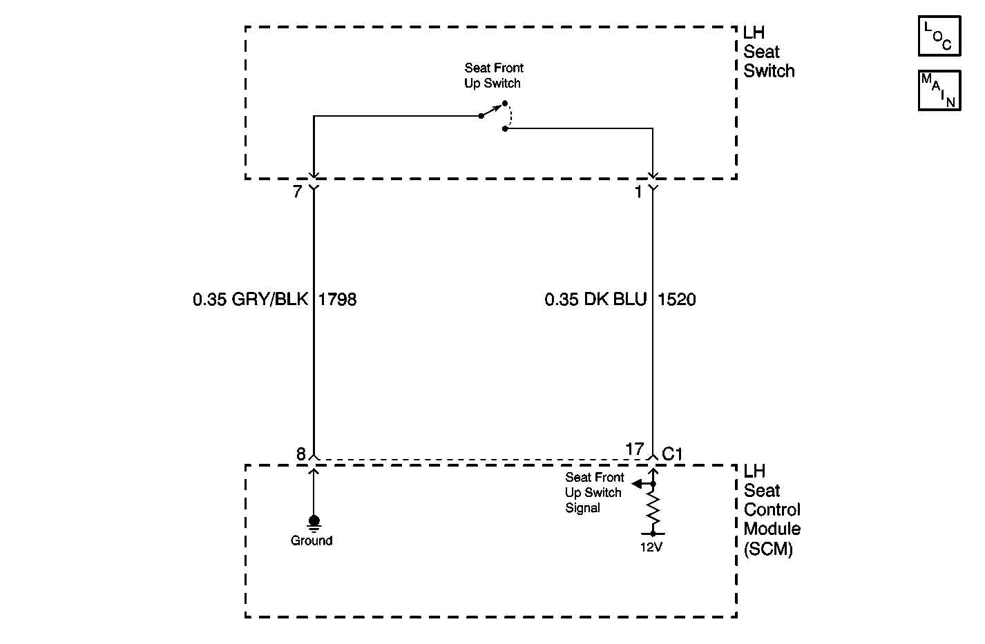
Circuit Description

The LH seat switch circuit provides an input to the LH Seat Control Module (SCM) when the seat front switch is pressed UP. This input allows the SCM to detect a seat front UP request. The SCM provides a signal, which is pulled up to system battery voltage through a pull-up resistor, and a ground to the seat front up switch. When the seat front up switch is pressed the signal is pulled low within the SCM. When the SCM detects the transition from high to low it will command the seat front to move in the UP direction. When the switch is released it will command the seat front to stop.

Conditions for Setting the DTC

The seat front up switch input, to the SCM, is active (low) for more than 20 seconds.

Action Taken When the DTC Sets

    • Stores a history DTC B2172 in the SCM memory.
    • This DTC can only be set as a history code even if the malfunction is current.
    • No driver warning message will be displayed for this DTC.
    • The operation/function of the seat front up switch is disabled.

Conditions for Clearing the DTC

    • The seat front up switch input, to the SCM, is inactive (high) for less than 20 seconds.
    • Using a scan tool.

Diagnostic Aids

    • The following conditions may cause an intermittent malfunction:
       - There is an intermittent short to ground in CKT 1520.
       - The seat front up switch is shorted to ground internally or is sticking.
       - The seat front up switch was pressed for longer than 20 seconds.
    • If CKT 1520 is shorted to ground or the seat front up switch is stuck closed, the seat will remain in the up position at all times.
    • Using a scan tool, select SCM inputs and monitor the seat front up switch status. If the scan tool displays ACTIVE, disconnect the seat front up switch and check if the seat status changes to INACTIVE. If the status changed, then replace the LH seat switch. If the status did not change, then check CKT 1520 for a short to ground.
    • If the DTC does not reset after the code is cleared, then the problem may be intermittent. Perform the tests shown while moving related wiring and connectors. This can often cause the malfunction to occur. Refer to Testing for Intermittent Conditions and Poor Connections in Wiring Systems.
    • Activate the seat front up switch numerous times while monitoring the status on the scan tool to see if it sticks intermittently.

Test Description

The numbers below refer to the step numbers on the diagnostic table:

  1. This test determines the status of the seat front up switch using a scan tool. The scan tool will display the seat front up switch status as ACTIVE (button pressed) and INACTIVE (button released).

  2. This test checks if the seat front up switch is shorted to ground or stuck. If the seat front up switch status changes from ACTIVE to INACTIVE when the seat front up switch is disconnected, then the switch assembly must be replaced.

DTC B2172

Step

Action

Value(s)

Yes

No

1

Were you sent here from the Power Seat Diagnostic System Check?

--

Go to Step 2

Go to Diagnostic System Check - Power Seat Systems

2

Using a scan tool, select SCM input display and monitor the seat front up switch status.

Does the scan tool display seat front up switch status as ACTIVE?

--

Go to Step 3

Go to Step 7

3

  1. Disconnect the seat front up switch connector.
  2. Using a scan tool, select SCM input display and monitor the seat front up switch status.

Does the scan tool display seat front up switch status as ACTIVE?

--

Go to Step 4

Go to Step 5

4

Inspect and repair circuit 1520 for a short to ground.

Was a problem found and repaired?

--

Go to Step 9

Go to Step 6

5

Replace the power seat switch assembly. Refer to Power Seat Switch Replacement .

Is the replacement complete?

--

Go to Step 9

--

6

Replace the SCM. Refer to Memory Seat Control Module Replacement .

Is the replacement complete?

--

Go to Step 9

--

7

Inspect and repair the seat front up switch circuit for an intermittent malfunction. Refer to Testing for Electrical Intermittents .

Was a problem found and repaired?

--

Go to Step 9

Go to Step 8

8

  1. Turn OFF the ignition switch.
  2. Reconnect or install any connectors or components that were disconnected or removed.
  3. Turn ON the ignition switch.
  4. Clear any DTCs.
  5. Wait 20 seconds.

Does DTC B2172 set as history?

--

Go to Step 6

System OK

9

  1. Turn OFF the ignition switch.
  2. Reconnect or install any connectors or components that were disconnected or removed.
  3. Turn ON the ignition switch.
  4. Clear any DTCs.
  5. Operate the system in order to verify the repair.

Did you correct the condition?

--

System OK

Go to Diagnostic System Check - Power Seat Systems