GM Service Manual Online
For 1990-2009 cars only

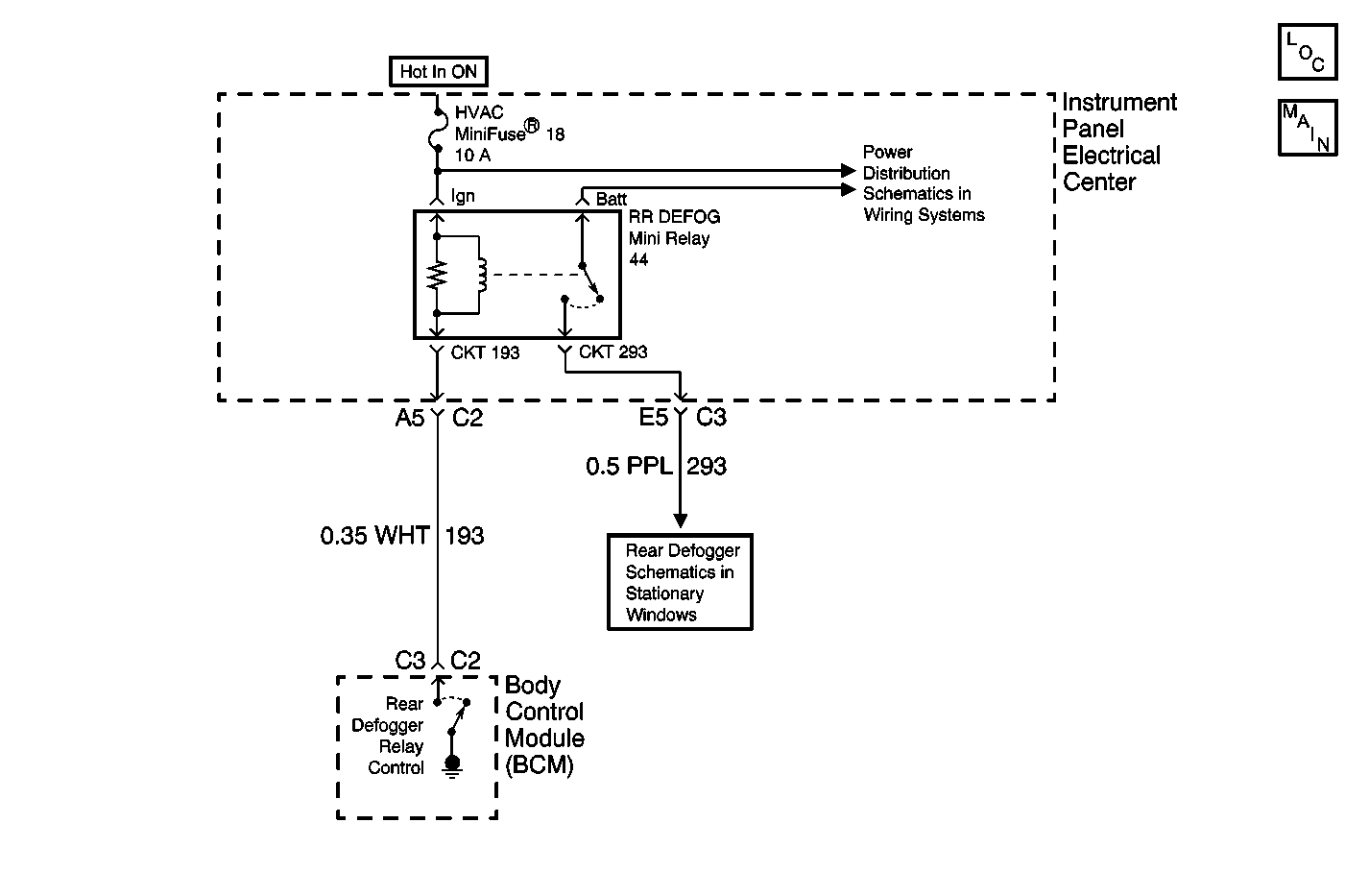
Object Number: 538783  Size: MF
Power and Grounding Components
Body Control System Schematics
Power Distribution Schematics
Defogger Schematics

Circuit Description

The BCM must receive a defogger ON request from the rear defogger switch (located in the HVAC control head) with the engine running in order to complete the rear defogger relay control circuit. The BCM grounds the rear defogger relay control circuit in order to energize the relay. The BCM monitors the voltage level on the rear defogger relay control circuit. When the BCM commands the rear defogger relay ON, the voltage level on the control circuit should be low. When the relay is OFF, the voltage level should be high. If the BCM detects a voltage level other than expected, a malfunction is present and a DTC will set.

Conditions for Setting the DTC

    • The BCM detects a high voltage level (a short to voltage or BCM open internally) in the rear defogger relay control circuit.
    • The BCM can only test for this condition with the rear defogger relay energized.
    • All conditions must be present for 2 seconds.

Action Taken When the DTC Sets

    • Stores a DTC B0433 in the BCM memory.
    • No driver warning message will be displayed for this DTC.

Conditions for Clearing the DTC

    • This DTC requires an ignition cycle in order to change from current to history.
    • The BCM no longer detects a high voltage level in the rear defogger relay control circuit only with the rear defogger relay energized.
    • A history DTC will clear after 50 consecutive ignition cycles if the condition for the malfunction is no longer present.
    • Use the IPC clearing DTCs feature.
    • Use a scan tool.

Diagnostic Aids

    • The following conditions may cause an intermittent malfunction:
       - There is an intermittent short to voltage in the rear defogger relay control circuit.
       - There is low resistance in the relay coil.
       - There are poor connections at the BCM, the I/P electrical center, or the rear defogger relay terminals.
       - The rear defogger relay is shorted to voltage internally.
    • If the BCM is open internally, or if the rear defogger relay control circuit is shorted to voltage, the rear defogger will remain OFF at all times.
    • The rear defogger relay may be installed in the I/P electrical center in two directions and still function properly. Refer to Electrical Center Identification in Wiring Systems for electrical center circuit identification.
    • If the DTC is a history DTC, the problem may be intermittent. Perform the tests shown while moving related wiring and connectors. This can often cause the malfunction to occur. Refer to Intermittents and Poor Connections .

Test Description

The number(s) below refer to the step number(s) on the diagnostic table.

  1. Listen for an audible click when the Rear Defogger relay operates. Command both the ON and OFF states. Repeat the commands as necessary.

  2. Tests for voltage at the coil side of the Rear Defogger relay. The HVAC fuse supplies power to the coil side of the Rear Defogger relay.

  3. Verifies that the BCM is providing ground to the Rear Defogger relay.

  4. Tests if ground is constantly being applied to the Rear Defogger relay.

  5. Tests for short to voltage in the rear defogger control circuit.

  6. When the BCM is replaced, use a scan tool to perform the BCM RPO Reprogram procedure. Refer to Body Control Module (BCM) Programming/RPO Configuration .

Step

Action

Value(s)

Yes

No

1

Did you perform the BCM Diagnostic System Check?

--

Go to Step 2

Go to Diagnostic System Check - Body Control System

2

  1. Install a scan tool.
  2. Turn ON the ignition, with the engine OFF.
  3. With a scan tool, command the Rear Defogger relay ON and OFF.

Does the Rear Defogger relay turn ON and OFF with each command?

--

Go to Diagnostic Aids

Go to Step 3

3

  1. Turn OFF the ignition.
  2. Disconnect the Rear Defogger relay.
  3. Turn ON the ignition, with the engine OFF.
  4. Probe the coil side feed circuit of the Rear Defogger relay with a test lamp that is connected to a good ground. Refer to Power Distribution Schematics in Wiring Systems for electrical center circuit identification.

Does the test lamp illuminate?

--

Go to Step 4

Go to Step 10

4

  1. Connect a test lamp between the control circuit of the Rear Defogger relay and the coil side feed circuit of the Rear Defogger relay. Refer to Power Distribution Schematics in Wiring Systems for electrical center circuit identification.
  2. With a scan tool, command the Rear Defogger relay ON and OFF .

Does the test lamp turn ON and OFF with each command?

--

Go to Step 8

Go to Step 5

5

Does the test lamp remain illuminated with each command?

--

Go to Step 7

Go to Step 6

6

Test the control circuit of the Rear Defogger relay for short to voltage. Refer to Circuit Testing and Wiring Repairs in Wiring Systems.

Did you find and correct the condition?

--

Go to Step 13

Go to Step 9

7

Test the control circuit of the Rear Defogger relay for a short to ground. Refer to Circuit Testing and Wiring Repairs in Wiring Systems.

Did you find and correct the condition?

--

Go to Step 13

Go to Step 9

8

Inspect for poor connections at the Rear Defogger relay. Refer to Testing for Intermittent Conditions and Poor Connections and Connector Repairs in Wiring Systems.

Did you find and correct the condition?

--

Go to Step 13

Go to Step 11

9

Inspect for poor connections at the harness connector of the BCM. Refer to Testing for Intermittent Conditions and Poor Connections and Connector Repairs in Wiring Systems.

Did you find and correct the condition?

--

Go to Step 13

Go to Step 12

10

Repair the coil side feed circuit of the Rear Defogger relay. Refer to Wiring Repairs in Wiring Systems.

Did you complete the repair?

--

Go to Step 13

--

11

Replace the Rear Defogger relay.

Did you complete the replacement?

--

Go to Step 13

--

12

Important: Perform the BCM RPO Reprogram procedure. Refer to Body Control Module (BCM) Programming/RPO Configuration .

Replace the BCM. Refer to Body Control Module Replacement .

Did you complete the replacement?

--

Go to Step 13

--

13

  1. Use the scan tool in order to clear the DTCs .
  2. Operate the vehicle within the Conditions for Setting the DTC as specified in the supporting text.

Does the DTC reset?

--

Go to Step 2

System OK