GM Service Manual Online
For 1990-2009 cars only

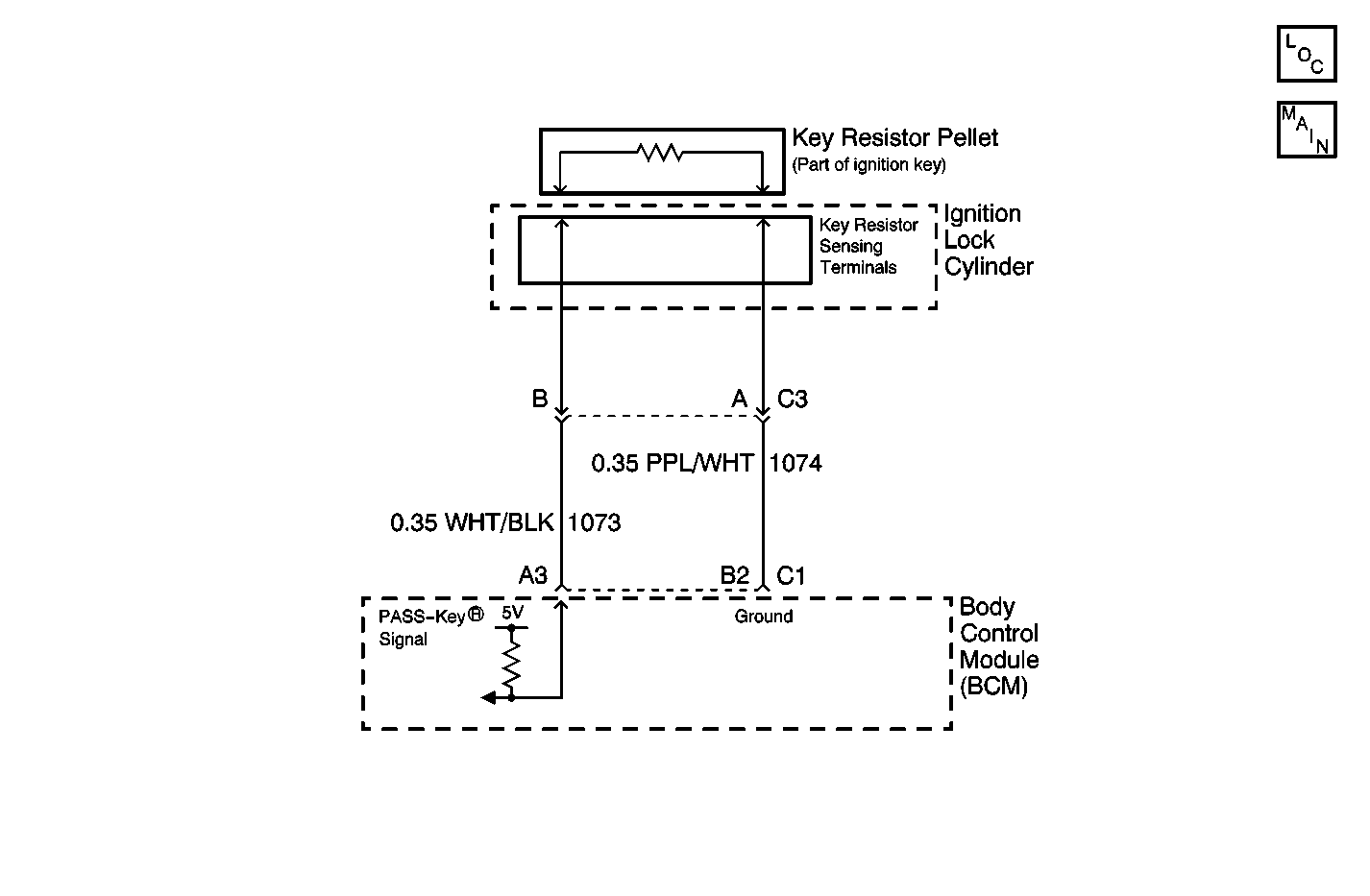
Object Number: 538641  Size: MF
Power and Grounding Components
Body Control System Schematics

Circuit Description

The BCM supplies a 5 volt signal and a ground circuit for the PASS-Key® system. This allows the BCM to detect PASS-Key® resistance values. Inserting the PASS-Key® (with resistor pellet) in the ignition lock cylinder completes the PASS-Key® circuit. Contacts in the ignition lock cylinder mate with the pellet contacts. The BCM compares the resistance value of the key pellet to the valid resistance programmed into the BCM. If the proper resistance value is read, the BCM allows the following functions to occur:

    • The theft deterrent relay to energize.
    • The steering column to unlock.
    • The BCM sends a message through the serial data line to the PCM to allow fuel enable processing to occur.

If the resistance value is incorrect, a malfunction is present and a DTC will set.

Conditions for Setting the DTC

    • The resistance level sampled at the BCMs PASS-Key® signal circuit is one of fourteen valid but incorrect resistance ranges, signaling an invalid PASS-Key® detection.
    • This condition must be present for 1 second.

Action Taken When the DTC Sets

    • Stores a DTC B2721 in the BCM memory.
    • Sends a message to the IPC to display the SECURITY indicator.
    • The BCM will disable the theft deterrent relay.
    • The PCM will not allow fuel enable processing to occur.
    • Disables sampling of the PASS-Key® resistance for a time-out period of 3 minutes.
    • Does not disarm an armed UTD system.
    • The steering column remains in the locked position.

Conditions for Clearing the DTC

    • This DTC requires an ignition cycle in order to change from current to history.
    • The BCM detects a valid PASS-Key® resistance value on the PASS-Key® signal circuit.
    • A history DTC will clear after 50 consecutive ignition cycles if the condition for the malfunction is no longer present.
    • Use the IPC clearing DTCs feature.
    • Use a scan tool.

Diagnostic Aids

    • The following conditions may cause an intermittent malfunction:
       - There is an intermittent open or short to ground on the PASS-Key® signal or ground circuit.
       - There are poor connections at the BCM or the ignition switch connector.
       - The PASS-Key® is incorrect.
       - The ignition lock cylinder key contacts or the PASS-Key® resistor is dirty or loose.
    • If the key resistor pellet is incorrect, there will be no BCM outputs to the theft deterrent relay or to the PCM. This state will last about 3 minutes. If a key is inserted, or the ignition is turned ON again before the 3 minute time frame is complete, the timer will reset to 3 minutes. Disconnecting the battery will not clear the timer sequence, but the timer will reset to 3 minutes when the battery power is restored. Even if a proper key is inserted during one of the time periods, the vehicle will not start until the total time period has lapsed.
    • While very unlikely, it is possible that extremely hot or cold ambient conditions may cause a DTC B2721 to set. To eliminate this possibility, perform the tests when the vehicle and the key are at room temperature. Clean the key resistor contacts of any foreign material. The foreign material could interfere with the key detection circuit and set a DTC.
    • Check for poor connections at the BCM and at the ignition lock cylinder. A poor connection could cause an open, an incorrect PASS-Key® resistance, or an intermittent malfunction.
    • If the DTC is a history DTC, the problem may be intermittent. Perform the tests while moving the related wiring, the connectors, and the key. This can often cause the malfunction to appear. Refer to Intermittents and Poor Connections .

Test Description

The number(s) below refer to the step number(s) on the diagnostic table.

  1. Tests for other PASS-Key® DTCs stored in the BCM that will cause a DTC B2721 to set. These DTCs must be diagnosed first.

  2. Tests for an intermittent or incorrect PASS-Key® Resister reading due to an incorrect or malfunctioning ignition key.

Step

Action

Value(s)

Yes

No

1

Did you perform the BCM Diagnostic System Check?

--

Go to Step 2

Go to Diagnostic System Check - Body Control System

2

  1. Install a scan tool.
  2. Turn ON the ignition, with the engine OFF.
  3. Select the BCM display DTC function on the scan tool.

Does the scan tool display DTC B2722 or B2723?

--

Go to Diagnostic Trouble Code (DTC) List/Type

Go to Step 3

3

Inspect for the following conditions:

    • Incorrect PASS-Key® resistor
    • Dirt on ignition key and/or sensing contacts

Did you find and correct the condition?

--

Go to Step 5

Go to Step 4

4

Perform the ignition lock cylinder test. Refer to Ignition Key Lock Cylinder Test .

Did you find and correct the condition?

--

Go to Step 5

Go to Diagnostic Aids

5

  1. Use the scan tool in order to clear the DTCs.
  2. Operate the vehicle within the Conditions for Running the DTC as specified in the supporting text.

Does the DTC reset?

--

Go to Step 2

System OK