GM Service Manual Online
For 1990-2009 cars only

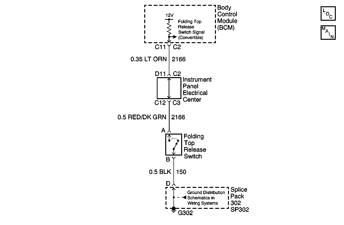
Object Number: 538802  Size: MF
Power and Grounding Components
Body Control System Schematics
Ground Distribution Schematics

Circuit Description

The folding top switch circuit provides a ground input to the BCM when the switch is pressed. This input allows the BCM to detect a folding top lid release request. If the BCM detects a ground on the folding top release switch signal circuit, the BCM will activate the folding top (TONN REL) relay. The BCM monitors the folding top release switch circuit and determines how long a ground has been applied. If the ground is applied for longer than expected, a malfunction is present and a DTC will set.

Conditions for Setting the DTC

The BCM detects a ground on the folding top release switch signal circuit for longer than 60 seconds.

Action Taken When the DTC Sets

    • Stores a DTC B2567 in the BCM memory.
    • No driver warning message will be displayed for this DTC.

Conditions for Clearing the DTC

    • The BCM no longer detects a ground on the folding top release switch signal circuit for longer than 60 seconds.
    • A history DTC will clear after 50 consecutive ignition cycles if the condition for the malfunction is no longer present.
    • Use the IPC clearing DTCs feature.
    • Use a scan tool.

Diagnostic Aids

    • The following conditions may cause an intermittent malfunction:
       - There is an intermittent short to ground in the folding top release switch signal circuit.
       - The folding top switch is shorted to ground internally or is sticking.
       - The folding top switch is pressed for longer than 60 seconds.
    • If the folding top release switch signal circuit is shorted to ground with the ignition ON, the folding top will release once and then will remain inoperative. If the short occurred when the ignition was turned OFF, the folding top will release as soon as the ignition is turned ON and then will remain inoperative. The BCM will remember the last transition that took place from the folding top release switch and will not release the folding top again until the BCM detects a change from the folding top switch.
    • If the DTC is a history DTC, the problem may be intermittent. Perform the tests shown while moving related wiring and connectors. This can often cause the malfunction to occur. Refer to Intermittents and Poor Connections .

Test Description

The number(s) below refer to the step number(s) on the diagnostic table.

  1. Tests for the normal state of the folding top release switch using a scan tool. The scan tool will display the normal state as INACTIVE, and ACTIVE when the switch is activated.

  2. Tests if the BCM is able to detect a change in folding top release switch state. The scan tool will display the normal state as INACTIVE, and ACTIVE when the switch is activated.

  3. Tests for a stuck or shorted folding top release switch. If the folding top release switch is stuck or shorted, the state will change from ACTIVE to INACTIVE when the folding top release switch is disconnected.

  4. Tests for a short to ground in the folding top release switch signal circuit.

  5. When the BCM is replaced, use a scan tool to perform the BCM RPO Reprogram procedure. Refer to Body Control Module (BCM) Programming/RPO Configuration .

Step

Action

Value(s)

Yes

No

1

Did you perform the BCM Diagnostic System Check?

--

Go to Step 2

Go to Diagnostic System Check - Body Control System

2

  1. Install a scan tool.
  2. Turn ON the ignition, with the engine OFF.
  3. With a scan tool, observe the Folding Top Release Switch parameter in the BCM data list.

Does the scan tool display INACTIVE?

--

Go to Step 3

Go to Step 4

3

  1. Activate the folding top release switch.
  2. With the scan tool, observe the Folding Top Release Switch parameter.

Does the Folding Top Release Switch parameter change state?

--

Go to Diagnostic Aids

Go to Step 4

4

  1. Turn OFF the ignition.
  2. Disconnect the folding top release switch.
  3. Turn ON the ignition, with the engine OFF.
  4. With a scan tool, observe the Folding Top Release Switch parameter.

Does the scan tool display INACTIVE?

--

Go to Step 7

Go to Step 5

5

Test the signal circuit of the folding top release switch for a short to ground. Refer to Circuit Testing and Wiring Repairs in Wiring Systems.

Did you find and correct the condition?

--

Go to Step 10

Go to Step 6

6

Inspect for poor connections at the harness connector of the BCM. Refer to Testing for Intermittent Conditions and Poor Connections and Connector Repairs in Wiring Systems.

Did you find and correct the condition?

--

Go to Step 10

Go to Step 8

7

Inspect for poor connections at the harness connector of the folding top release switch. Refer to Testing for Intermittent Conditions and Poor Connections and Connector Repairs in Wiring Systems.

Did you find and correct the condition?

--

Go to Step 10

Go to Step 9

8

Important: Perform the BCM RPO Reprogram procedure. Refer to Body Control Module (BCM) Programming/RPO Configuration .

Replace the BCM. Refer to Body Control Module Replacement .

Did you complete the replacement?

--

Go to Step 10

--

9

Replace the folding top release switch. Refer to Folding Top Stowage Compartment Lid Release Switch Replacement in Roof.

Did you complete the replacement?

--

Go to Step 10

--

10

  1. Use the scan tool in order to clear the DTCs.
  2. Operate the vehicle within the Conditions for Running the DTC as specified in the supporting text.

Does the DTC reset?

--

Go to Step 2

System OK