GM Service Manual Online
For 1990-2009 cars only
Makes
🢒
Chevrolet
🢒
2001
🢒
Corvette
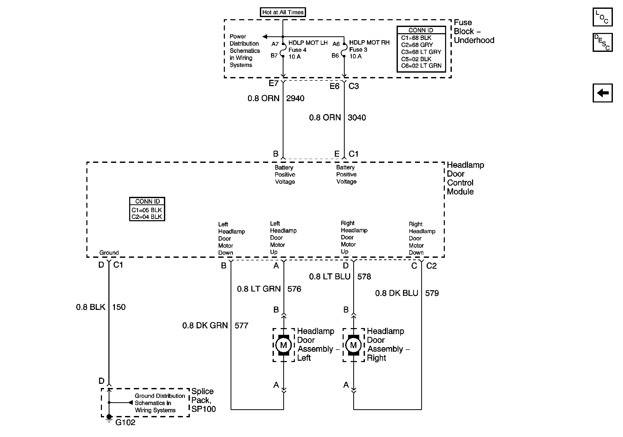
🢒 Headlamp Opening Door Assemblies
Headlamp Opening Door Assemblies
Headlamp Opening Door Assemblies
Underhood Electrical Center Bussing (1 of 2)
G101 and G102
Lighting Systems Component Views
Exterior Lighting Systems Description and Operation
Headlamp Opening Door Actuator Control Module Inputs