GM Service Manual Online
For 1990-2009 cars only
Makes
🢒
Chevrolet
🢒
2001
🢒
Corvette
🢒 Headlamp Opening Door Actuator Control Module Inputs
Headlamp Opening Door Actuator Control Module Inputs
Headlamp Opening Door Actuator Control Module Inputs
Instrument Panel Electrical Center Bussing (2 of 2)
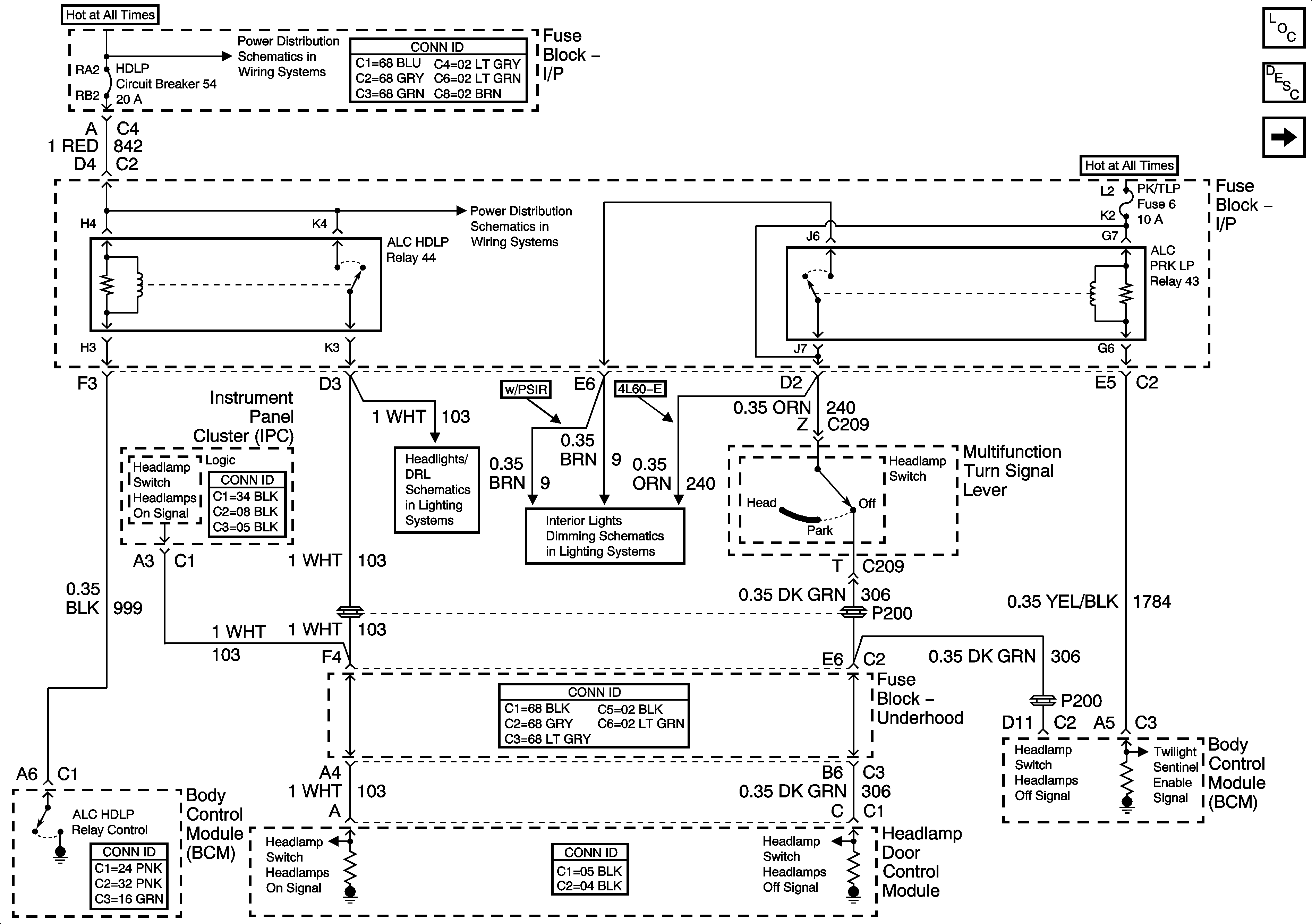
Instrument Panel Electrical Center Fuses 6, 29, Circuit Breaker 54,Relays 43, 44 and 42
Headlamp Control
Fog Lamp Switch
Lighting Systems Component Views
Exterior Lighting Systems Description and Operation
Headlamp Opening Door Assemblies