GM Service Manual Online
For 1990-2009 cars only
Makes
🢒
Chevrolet
🢒
2001
🢒
Corvette
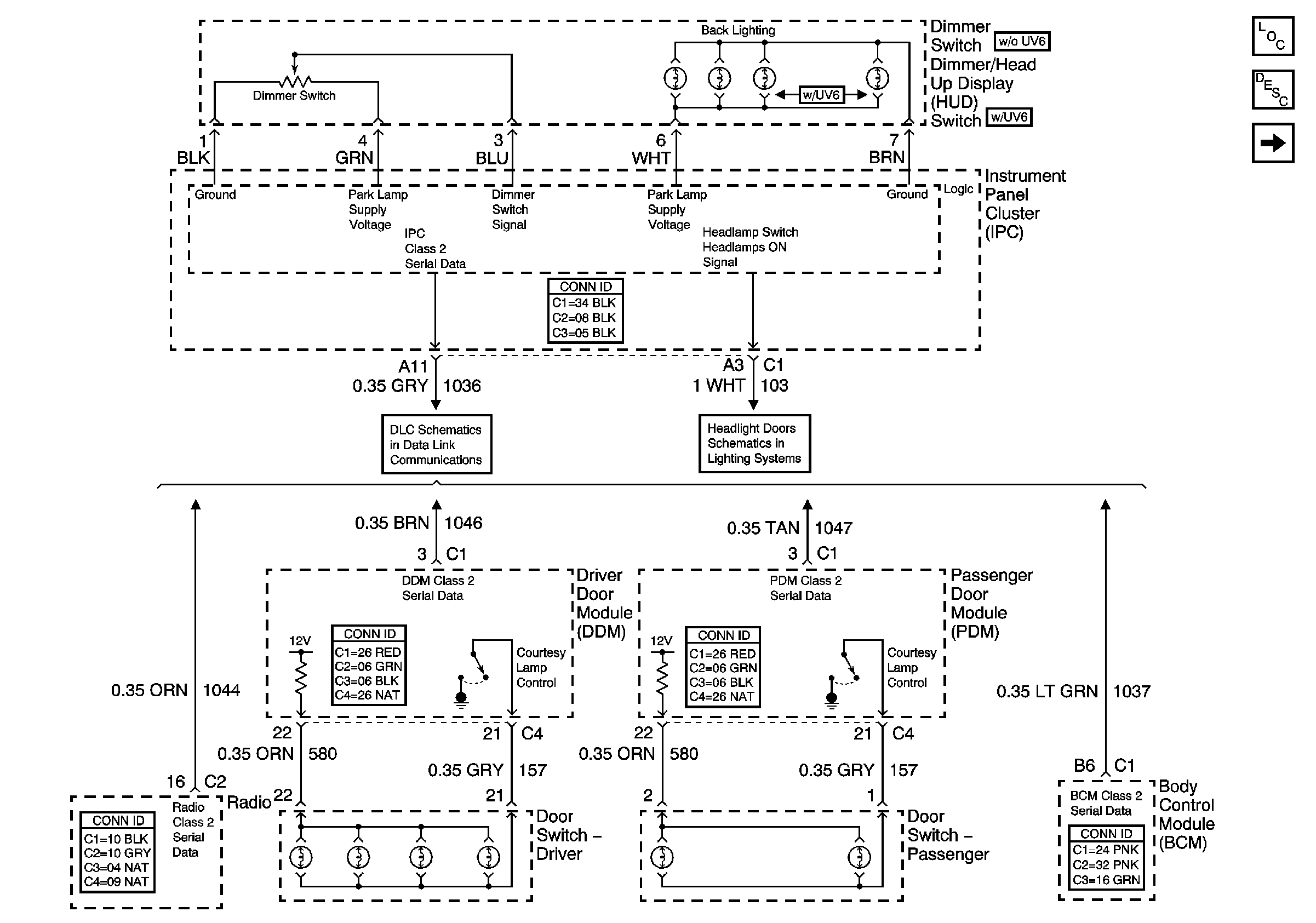
🢒 Dimmer Switch, Door Switches and Radio
Dimmer Switch, Door Switches and Radio
Dimmer Switch, Door Switches and Radio
Master Electrical Component List
Interior Lighting Systems Description and Operation
Fog Lamp Switch
Star Connectors
Headlamp Opening Door Actuator Control Module Inputs