GM Service Manual Online
For 1990-2009 cars only
Makes
🢒
Chevrolet
🢒
2002
🢒
Corvette
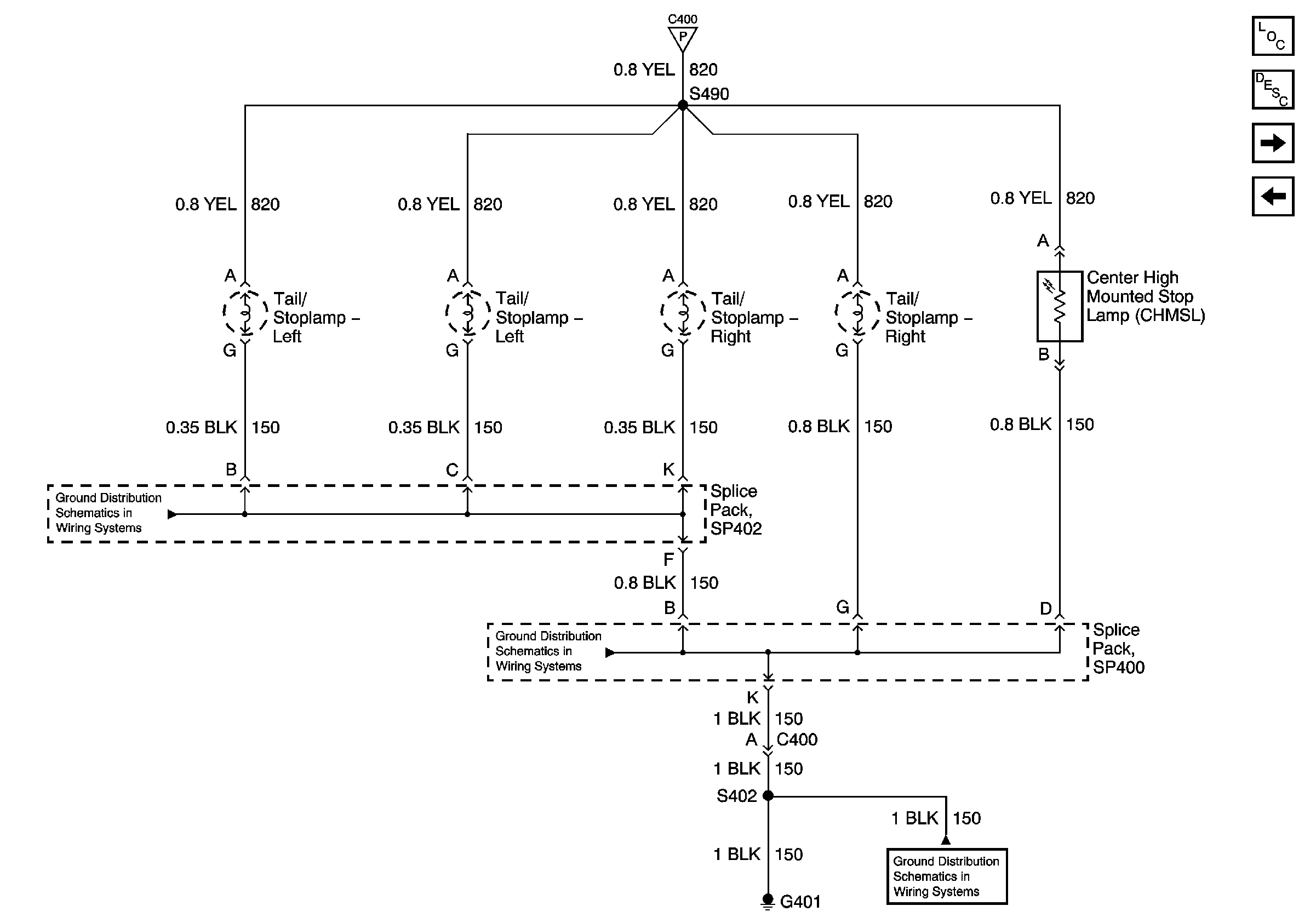
🢒 Stoplamps (Export)
Stoplamps (Export)
Stoplamps - Export
Master Electrical Component List
Exterior Lighting Systems Description and Operation
Park Lamp Control
Stoplamp Switch and Center High Mount Stoplamp (CHMSL)
Stoplamp Switch and Center High Mount Stoplamp (CHMSL)
SP402 (Japan)
G401
G401