GM Service Manual Online
For 1990-2009 cars only
Makes
🢒
Chevrolet
🢒
2002
🢒
Corvette
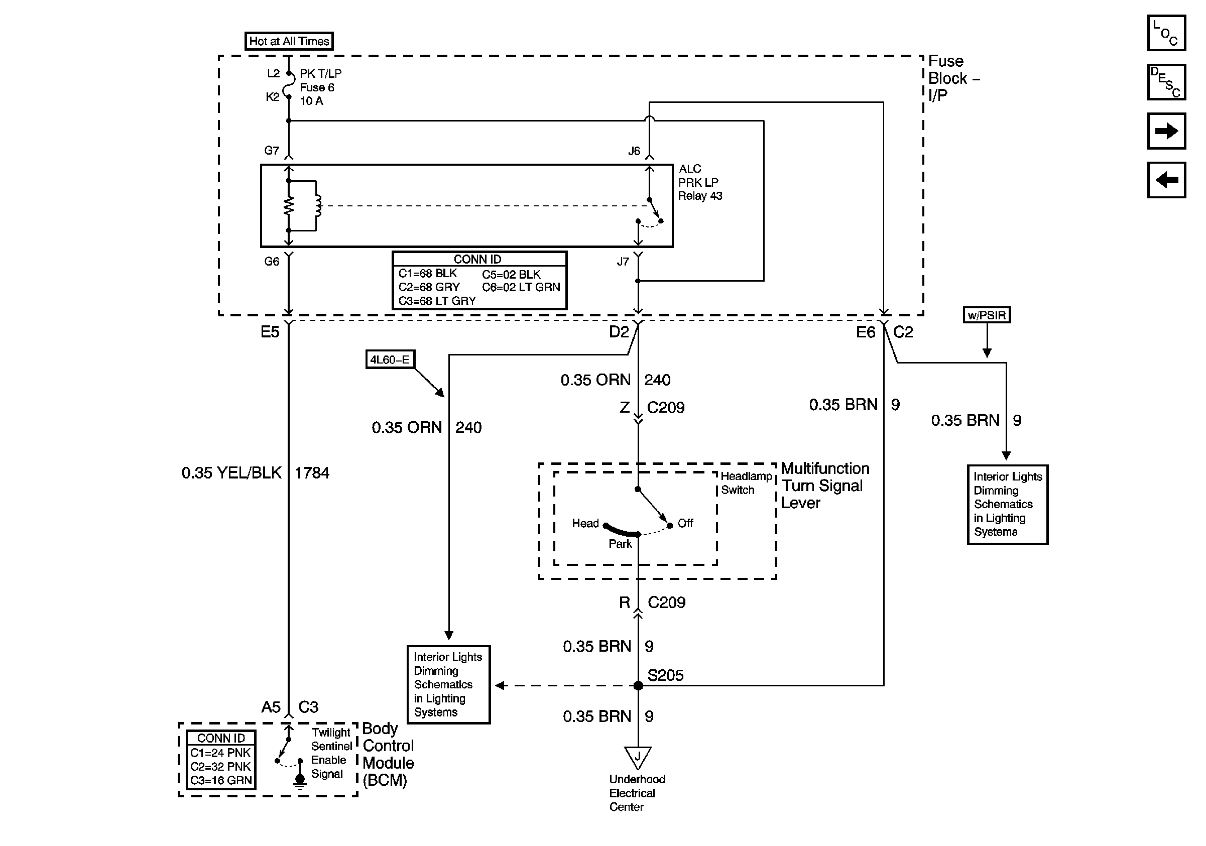
🢒 Park Lamp Control
Park Lamp Control
Park Lamp Control
Master Electrical Component List
Exterior Lighting Systems Description and Operation
Front Park Lamps
Stoplamps (Export)
Fog Lamp Switch
Front Park Lamps
Fog Lamp Switch