GM Service Manual Online
For 1990-2009 cars only
Makes
🢒
Chevrolet
🢒
2002
🢒
Corvette
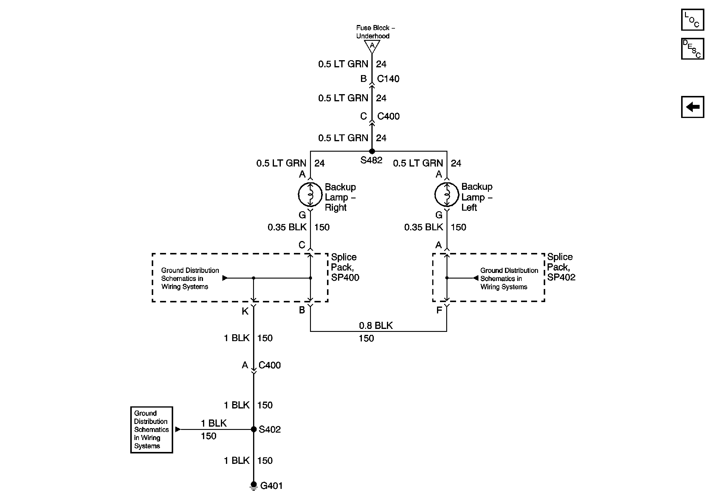
🢒 Backup Lamps (Europe)
Backup Lamps (Europe)
Backup Lamps - Europe
Master Electrical Component List
Exterior Lighting Systems Description and Operation
Backup Lamps (Domestic/Japan)
G401
G401
Backup Lamp Control
SP402 (Europe)